链条结构原理

链条分解图1
图片尺寸800x525
无级变速多功能齿形传动链条及控制方法
图片尺寸1874x1412
自行车链条的传动长度,为自行车更换一条合适的长度的链条
图片尺寸640x360
传动滚子链条简介ppt
图片尺寸1080x810
普通链条结构图1
图片尺寸550x256
一种带滚珠的滚动式防尘链条
图片尺寸1843x1360
滚子链条技术说明
图片尺寸267x261
是通过链条将具有特殊齿型的主动链轮的运动和动力传递到具有特殊齿型
图片尺寸446x210
广州隆德链条重机有限公司
图片尺寸670x250
普通自行车单速链条带活节连扣死飞车链子折叠链条自行车链条
图片尺寸800x445
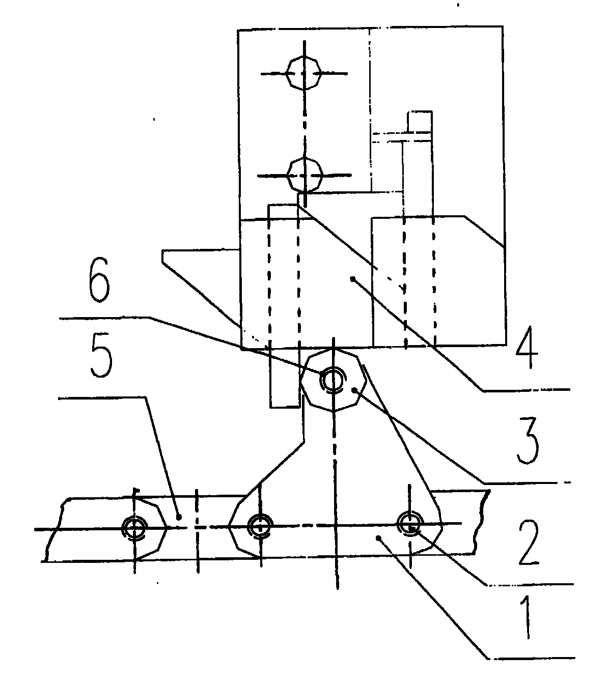
一种推力链条
图片尺寸1196x1344
哈尔滨工程大学机械设计课件6链传动ppt
图片尺寸1080x810
设计说明书(链条)
图片尺寸586x354
武汉理工大学机械设计考研课件5ppt
图片尺寸1080x810
结构及选型叉车起重机构起重链条通常为板式结构,板式起重链条
图片尺寸1348x657
普通普通山地车链条长度调整
图片尺寸1080x1440
靠链条与链轮齿之间 的啮合来传递运动和动力.
图片尺寸1080x810
倍速链的结构图
图片尺寸525x389
自动化喷涂线链条变频同步传动工作原理及解决方案
图片尺寸525x295
塑料链条 塑料网带 塑料链板 翻罐器 柔性线输送机 - 上海幻速机械
图片尺寸672x551