链轮的结构

电动机小链轮pdf
图片尺寸920x650
滚子链链轮的结构设计
图片尺寸401x217
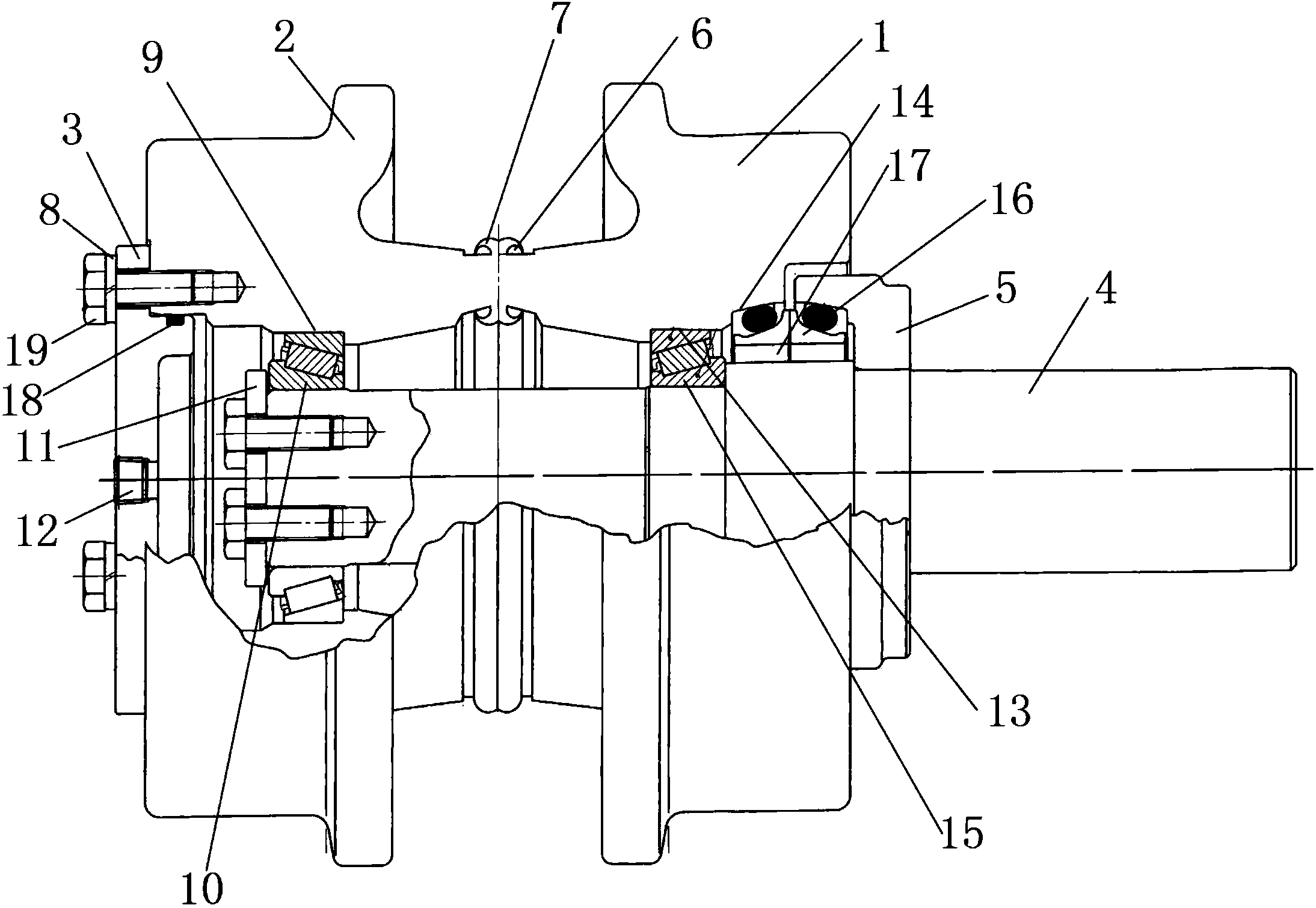
一种托链轮
图片尺寸2188x1510
请问谁有链轮20a-1的cad图纸?可以发给我么?感谢!
图片尺寸3308x2339
5倍速链轮 25.4节距链轮 张紧座9齿双排链轮 内孔30mm不带轴承
图片尺寸930x563
链轮链条
图片尺寸752x524
链轮的东西
图片尺寸638x689
图8-15链轮的结构
图片尺寸757x319
不锈钢链轮选型参考
图片尺寸800x694
斗式提升机时是采用起重运输机械设计院设计的图纸,其链轮结构如图1
图片尺寸628x515
驱动轮, 支重轮, 托链轮, 履带
图片尺寸1080x810
28a2滚子链链轮
图片尺寸708x500
链轮 小型传送带用/双节距型
图片尺寸653x311
链轮零件图.dwg
图片尺寸1200x800
链号10a/50孔径3/4inch单排20齿b型台式美标钢件链轮
图片尺寸1024x1024
链轮参数计算器
图片尺寸700x423
2.5倍速链轮【9齿25.4节距主动轮】9齿张紧座主动轮
图片尺寸1866x1157
一种链轮链条整体式装配方法和装配装置与流程
图片尺寸1000x506
传动滚子链条简介ppt
图片尺寸1080x810
快卸衬套美标滚子链轮
图片尺寸2441x1701