链轮轴图纸

种轮轴链轮pdf
图片尺寸920x650
链轮轴a2.dwg
图片尺寸1200x800
可加工轴孔美标滚子链轮
图片尺寸2526x1786
升降机构链轮.dwg
图片尺寸1200x800
链轮的图纸须要标注哪些参数?
图片尺寸3308x2339
大链轮轴a3.dwg
图片尺寸1200x800
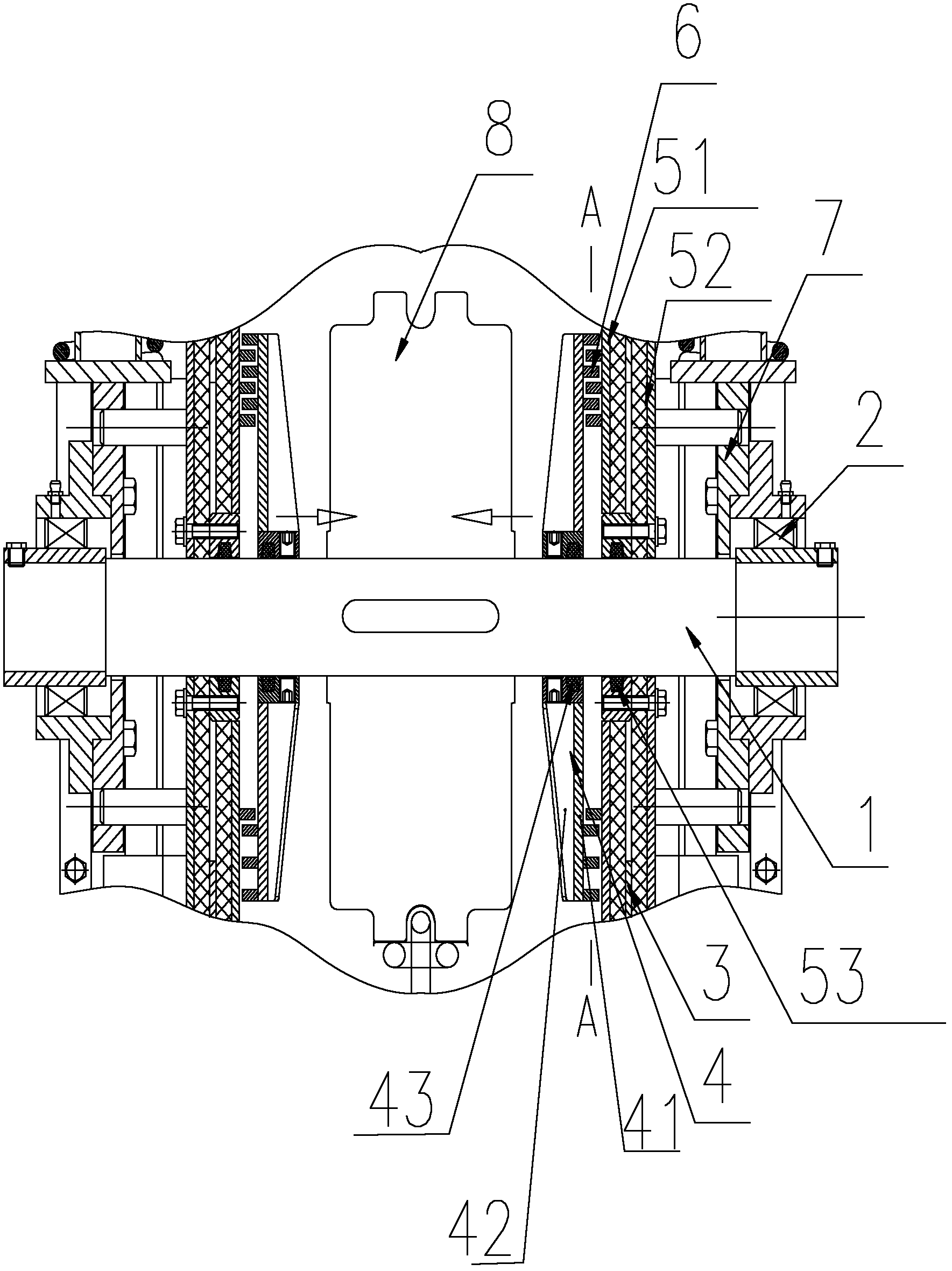
提升机的链轮轴安装结构及沥青搅拌站的提升机
图片尺寸1769x2361
a3链轮pdf
图片尺寸800x566
立体车库 主动链轮
图片尺寸820x566
4节距链轮 张紧座9齿双排链轮 内孔30mm不带轴承
图片尺寸930x563
链轮轴.dwg
图片尺寸1200x800
驱动链轮轴.dwg
图片尺寸1200x800
管链输送机链轮cad图纸
图片尺寸291x218
28a-2滚子链链轮下载(190.66 kb,dwg格式) 机械cad图纸
图片尺寸708x500
链轮.dwg
图片尺寸1200x800
a3 传动链轮01.dwg
图片尺寸1200x800
单边链轮传动轴下载_减/变速器,传动_机械图纸 - 机械5
图片尺寸679x505
链轮轴图纸中包含的文件下载咨询下载之前,如有问题,请[发表咨询](0条
图片尺寸839x594
链轮轴.dwg
图片尺寸1200x800
cn202245113u_提升机的链轮轴安装结构及沥青搅拌站的提升机失效
图片尺寸1769x2361