销轴怎么画

一种高强度连接的销轴的制作方法
图片尺寸1000x823
8.1-2014 销轴
图片尺寸2245x1387
一种便于安装的泥浆泵销轴-爱企查
图片尺寸799x652
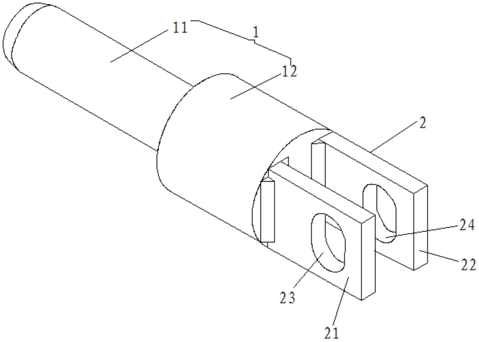
一种装载机液压快换的销轴结构的制作方法
图片尺寸1000x715
滑轮组销轴.dwg缩略图
图片尺寸422x594
销轴pdf
图片尺寸800x1132
a4销轴pdf
图片尺寸800x566
gb 882 销轴(a型 无孔)
图片尺寸2245x1387
一种具有新型结构的销轴-爱企查
图片尺寸1566x783
一种板簧销轴安装结构及车辆-爱企查
图片尺寸623x800
一种便于安装的泥浆泵销轴的制作方法
图片尺寸430x351
a4销轴pdf
图片尺寸800x566
销轴图a3
图片尺寸594x420
一种便于安装的防拆卸钣金销轴组件-爱企查
图片尺寸1163x1094
一种使用寿命长且具有防护机构的销轴-爱企查
图片尺寸799x783
cn112013011b_一种可快速拆装销轴的连接结构有效
图片尺寸1867x1770
一种自锁销轴的制作方法
图片尺寸1000x876
cn213144982u_一种带有防护功能的销轴
图片尺寸1733x1077
一种装载机液压快换的销轴结构-爱企查
图片尺寸1638x1170
销轴a4.dwg
图片尺寸1200x800