销轴连接结构图

zl型弹性柱销齿式联轴器基本参数和主要尺寸(gb-t5015-85)
图片尺寸730x525
cn112013011b_一种可快速拆装销轴的连接结构有效
图片尺寸1867x1770
销轴连接结构简图
图片尺寸1053x562
一种销轴连接结构
图片尺寸1629x1611
hl型弹性柱销联轴器基本参数和主要尺寸
图片尺寸730x528
销轴
图片尺寸1280x899
3,销连接
图片尺寸1080x810
zl30c型装载机工作装置铰接点的销轴防转结构如图1所示.
图片尺寸360x388
苏州zl型弹性柱销齿式联轴器
图片尺寸500x351
其包括销轴本体,所述销轴本体的外壁设置有两个防护结构,所述销轴本体
图片尺寸1733x1077
弹性套柱销联轴器结构图长这样,快来围观
图片尺寸560x372
挖掘机工作装置的新型销轴铰接机构
图片尺寸638x939
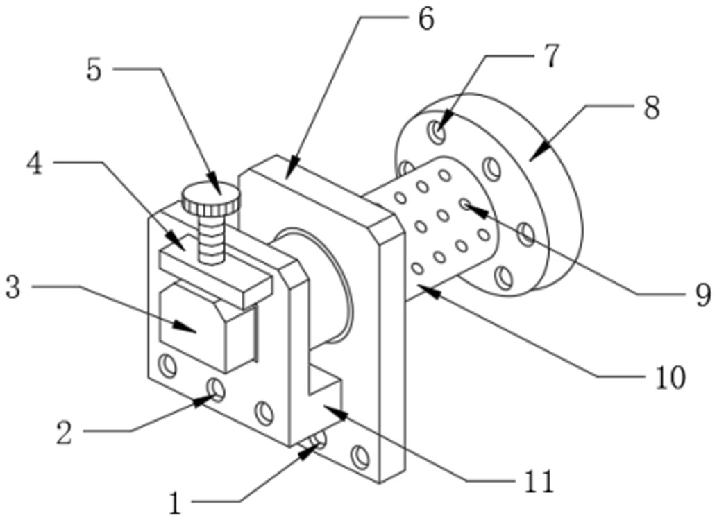
一种销轴和其连接结构
图片尺寸1937x1575
下图中圆锥销连接画法正确的是
图片尺寸890x326
cn202560739u_销轴连接机构失效
图片尺寸1000x571
销联接图文教程
图片尺寸990x576
比较锚式连接销和内置连接件的区别和联系
图片尺寸640x364
一种行星齿轮传动变刚度柔性销轴均载结构_cn201911332947.1_知雀网
图片尺寸695x1000
lzj4接中间轴弹性柱销齿联轴器 (原称zlz4)
图片尺寸595x444
一种轮式挖掘销轴连接结构-爱企查
图片尺寸1033x750