锁孔简笔画

挂锁锁孔图标
图片尺寸512x512
锁眼,卡通,门把手,矢量,图像
图片尺寸944x1200
vectores de ojo de cerradura y fotos - recursos gráficos gratis
图片尺寸626x626
vectores de ojo de cerradura y fotos - recursos gráficos gratis
图片尺寸626x626
锁孔- 热门商品专区
图片尺寸683x463
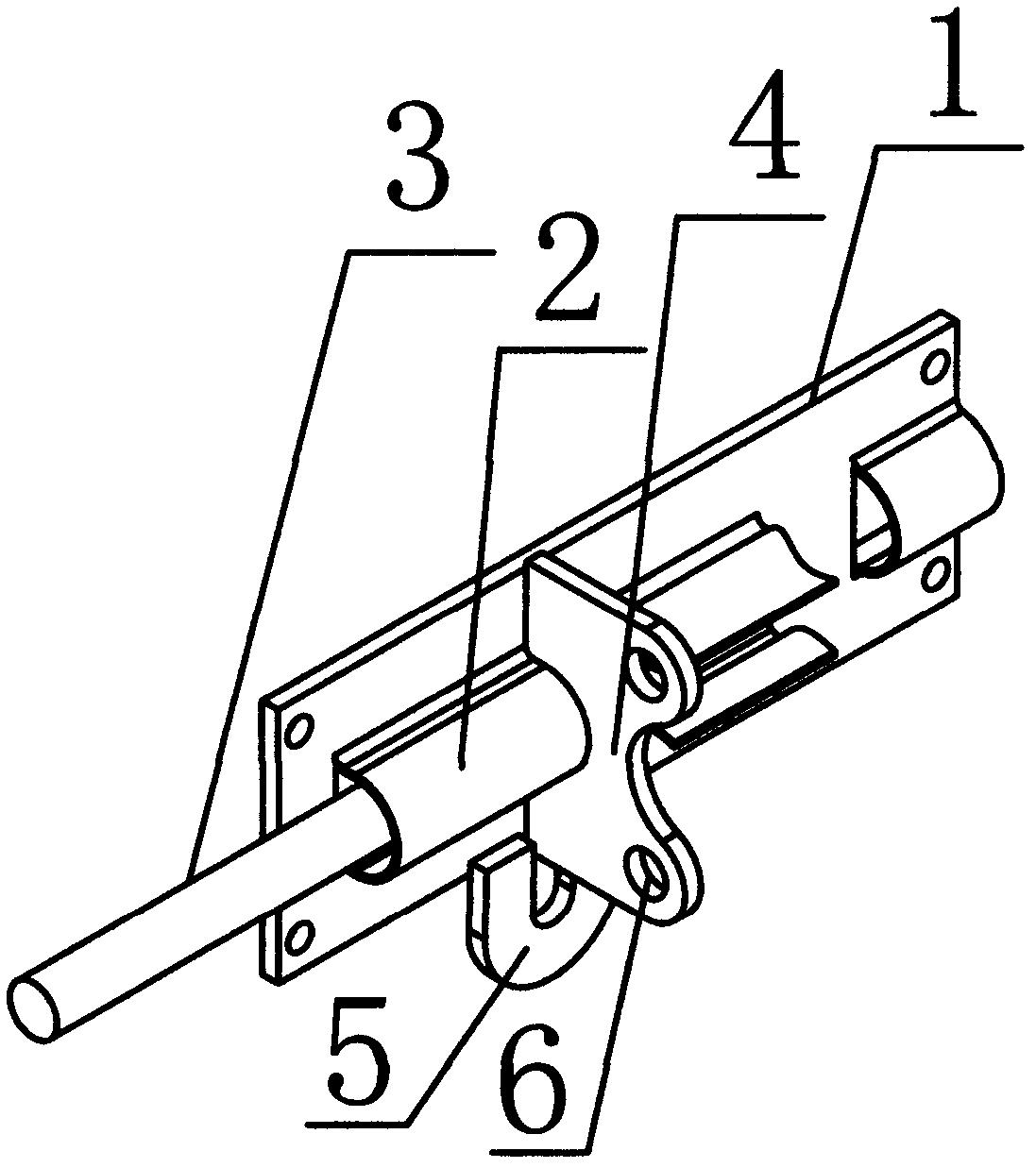
的底面根据设计要求对应于酒盒上的两个锁孔位置一体成形两个锁扣(2)
图片尺寸800x701
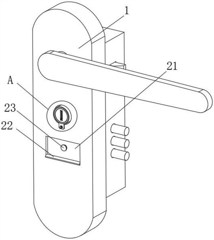
cn213115862u_智控锁孔室内门锁
图片尺寸1349x1285
其中锁芯内的弹子成交叉对应排列,且靠近锁孔位置设有自动锁定装置
图片尺寸854x775
情人节心用挂锁孔
图片尺寸859x1200
手锁眼
图片尺寸1200x725
一种带有安全锁孔结构的挂锁的制作方法
图片尺寸430x444
无权-未缴年费
图片尺寸528x549
摘要一种指纹挂锁,包括挂锁本体,设于所述挂锁本体上表面的锁扣和锁孔
图片尺寸708x800
锁孔矢量图矢量安全密码隐私元素挂锁与黑色背景上的键键和锁-平面
图片尺寸300x300
2019217920396
图片尺寸444x275
磁力儿童安全锁的制作方法
图片尺寸839x1000
锁与钥匙插画-正版商用图片1i7p8d-摄图新视界
图片尺寸700x552
锁孔入路的剪影轮廓矢量符号图标设计锁剪影集锁剪影集钥匙图标.
图片尺寸300x300
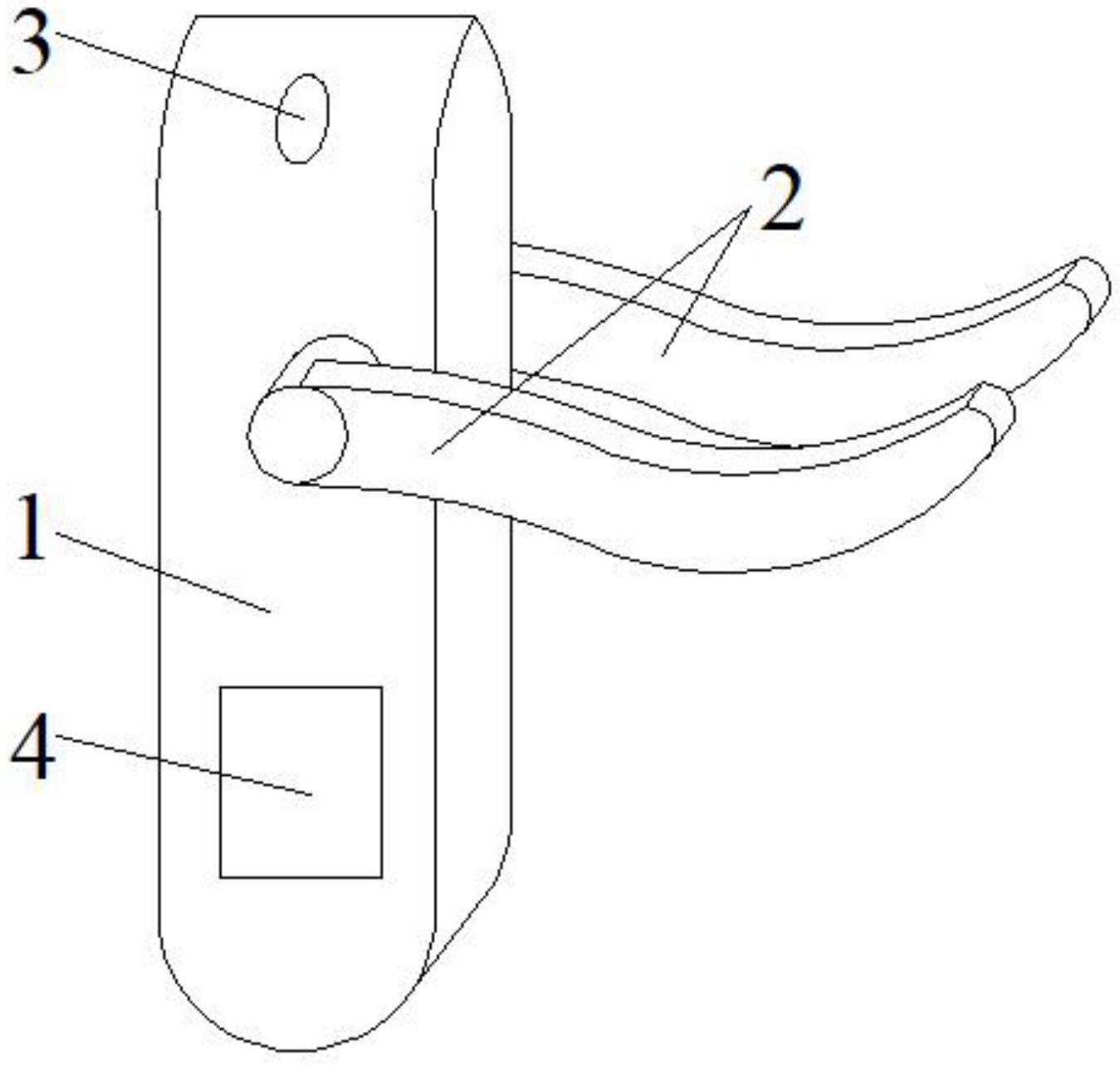
安装孔,所述安装孔的内表面套接有锁芯,所述锁芯的正面开设有一号锁孔
图片尺寸712x800
商标logo
图片尺寸1097x1237