锁定机构

一种薄型拉线锁定机构的制作方法
图片尺寸995x1000
一种药盒锁定机构的制作方法
图片尺寸1000x916
cn105102828b_锁定驱动器的锁定机构有效
图片尺寸894x1000
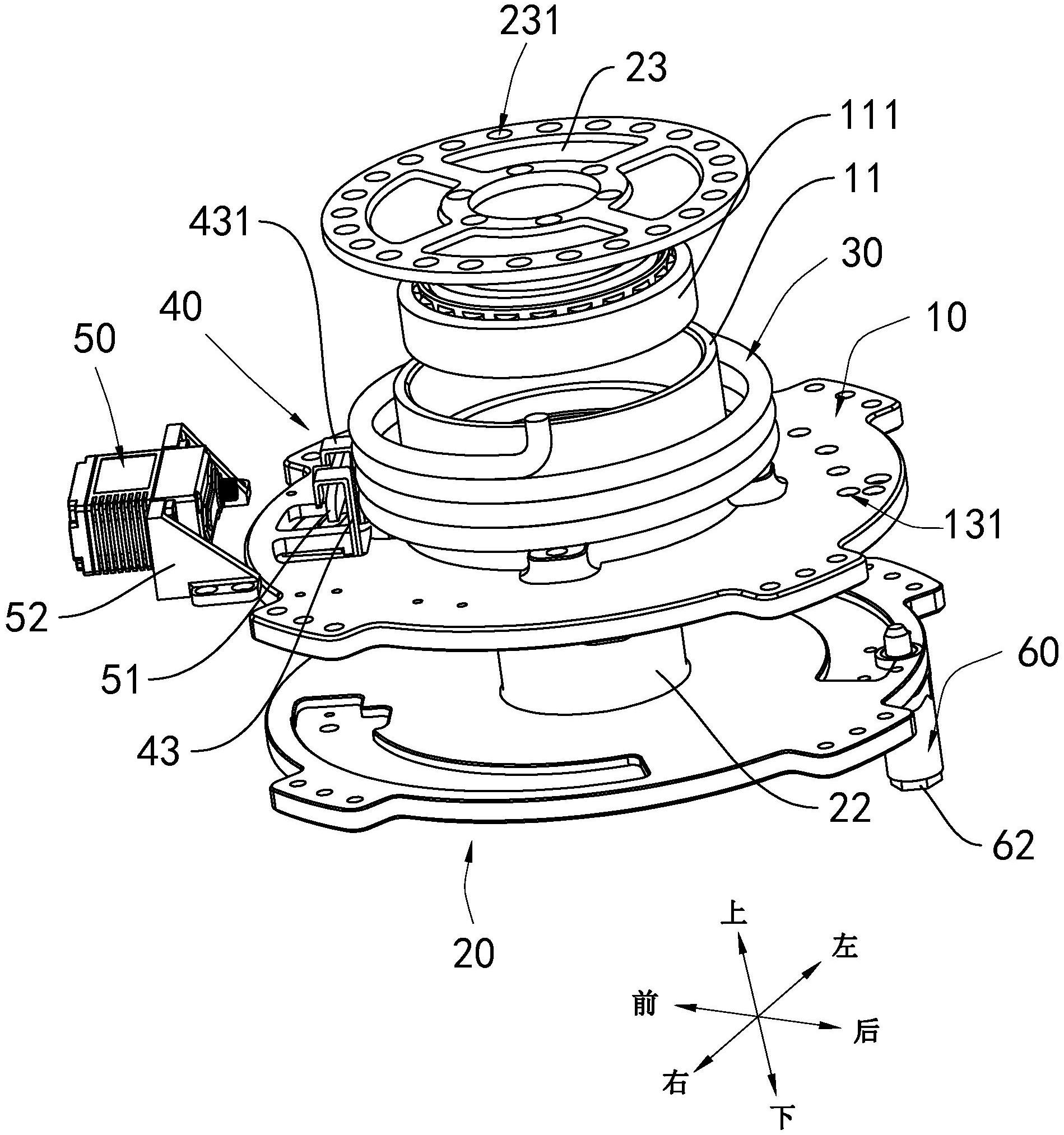
解锁机构锁装置及换电小车
图片尺寸1343x1990
cn110979712b_一种用于升降平台的可自动锁定与解锁机构
图片尺寸1061x969
机翼旋转锁定机构及具有其的无人机-爱企查
图片尺寸1899x2026
cn102633069a_集装箱角件锁定机构失效
图片尺寸1439x1664
cn112722327a_一种恒力矩涡卷弹簧展开锁定机构
图片尺寸1232x1332
锁定驱动器的锁定机构
图片尺寸1910x2135
cn110094112b_锁定机构及开门控制方法有效
图片尺寸1573x1160
cn106402120a_一种快速锁定机构有效
图片尺寸987x871
cn102164551a_具有两部分式垫圈的锁定机构失效
图片尺寸1793x2598
锁定机构的设计
图片尺寸434x618
cn100578022c_伸缩连杆锁定机构失效
图片尺寸1924x1392
cn208281133u_抽真空装置的锁定机构有效
图片尺寸1684x1236
一种金属焊接管内置焊缝自动锁定机构
图片尺寸1967x1331
曲柄滑块机构_19(曲柄滑块双锁定机构)(欢迎分享,欢迎白嫖)
图片尺寸640x360
cn212224804u_一种智能机械车位平移锁定机构有效
图片尺寸1000x859
cn213370954u_一种用于座椅底盘的椅背翘板锁定机构有效
图片尺寸1920x1762
cn108253050a_一种旋转机械定位锁定机构有效
图片尺寸1640x1250