锁扣机构

微型按压自锁扣图纸
图片尺寸813x676
冷冻库锁扣结构
图片尺寸1264x1905
空调锁扣结构
图片尺寸820x580
微型按压自锁扣图纸
图片尺寸773x703
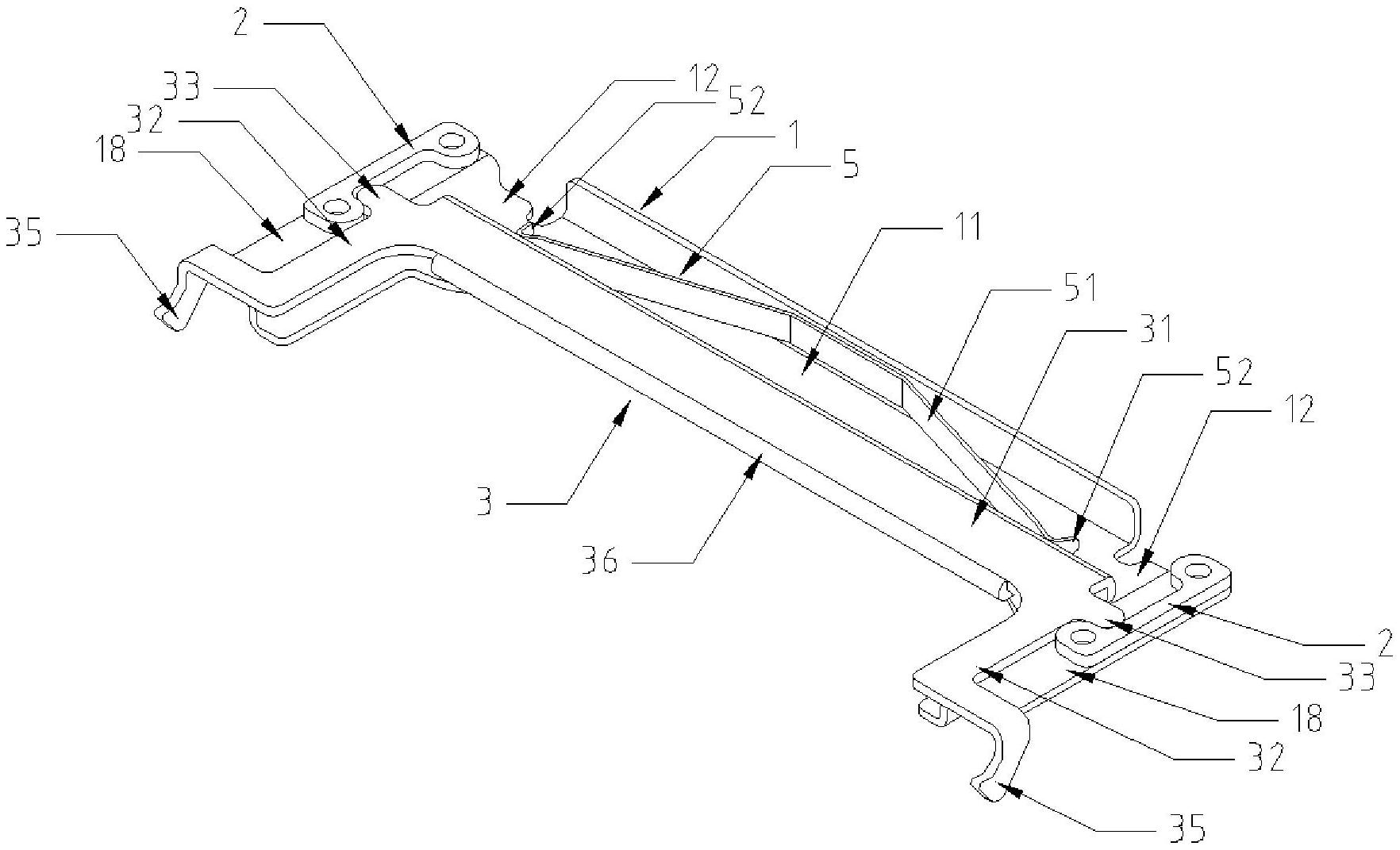
一种内置式锁扣机构
图片尺寸1764x1071
自动限位锁扣机构
图片尺寸724x634
一种快速锁扣机构-爱企查
图片尺寸954x1129
适用解放龙v悍v天v前面板锁机盖拉线锁扣机构总成一汽货车配件
图片尺寸800x800
锁扣
图片尺寸712x625
货柜搭扣货柜锁ml31621
图片尺寸678x1064
产品结构设计之卡扣
图片尺寸344x484
按压自动弹扣开关锁扣塑料按压弹扣塑料自锁扣门锁扣
图片尺寸1920x1327
cn201277224y_一种锁扣机构失效
图片尺寸928x1373
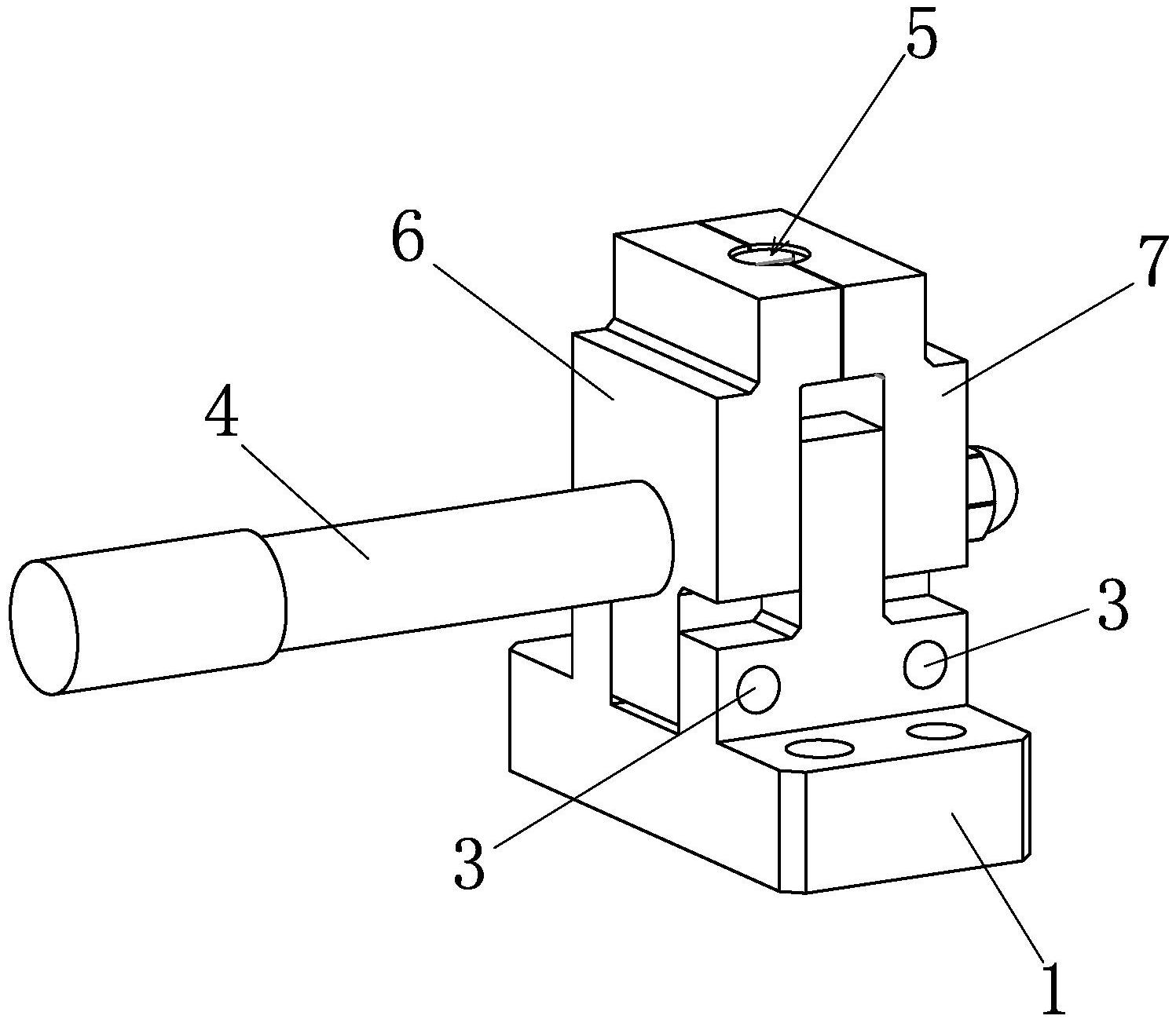
一种检具用新型卡扣锁紧机构
图片尺寸1497x1303
一种锁扣结构的制作方法
图片尺寸1000x888
折叠车连接锁扣
图片尺寸1032x976
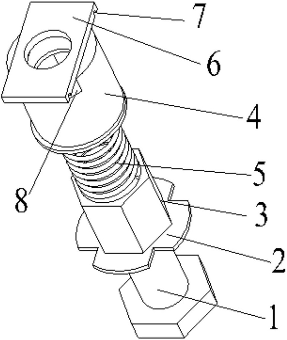
双弹簧搭扣锁扣
图片尺寸820x545
一种长寿命车尾箱锁扣机构制造技术
图片尺寸1000x496
锁扣机构示意图
图片尺寸820x525
【天甲】车厢厢扣 三轮车搭扣 车门锁扣a61b-201 电动车搭扣
图片尺寸790x476