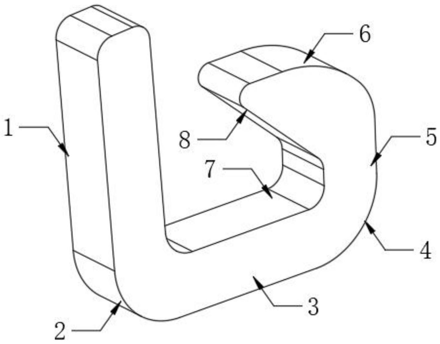
锁扣结构图

一种热轧c9型锁扣异型钢及其制备方法
图片尺寸1411x1103
一种快速锁扣机构-爱企查
图片尺寸954x1129
门扣开关按压自锁卡扣 伸缩门栅尼龙按压弹扣开关门扣
图片尺寸750x982
按压自动弹扣开关锁扣塑料按压弹扣塑料自锁扣门锁扣
图片尺寸1920x1327
冷冻库锁扣结构
图片尺寸1264x1905
进阶篇3112dfm注塑卡扣
图片尺寸406x486
大量供应 电柜门锁 不锈钢搭扣锁 开关柜锁 机箱搭扣锁 dk605
图片尺寸698x557
dk624不锈钢搭扣锁工业机柜箱配电箱柜门锁工具箱医用设备箱锁扣
图片尺寸750x906
原装长安睿行m80 m80油箱门锁机构 锁扣黑色
图片尺寸1080x1080
klc房锁锁体锁芯5745锁体不锈钢单锁舌5745锁芯锁体
图片尺寸750x479
门扣开关按压自锁卡扣 伸缩门栅尼龙按压弹扣开关门扣
图片尺寸750x788
门扣开关按压自锁卡扣 伸缩门栅尼龙按压弹扣开关门扣
图片尺寸750x872
原装southco索斯科c3-303卡入式扣抓门锁 按压式门锁 抓扣式门锁
图片尺寸724x455
图解弹珠锁挂锁的工作原理是怎么运转的
图片尺寸412x406
积麦j106 不锈钢搭扣 小号锁扣 箱包工具箱平扣 重型扁嘴拉扣
图片尺寸750x906
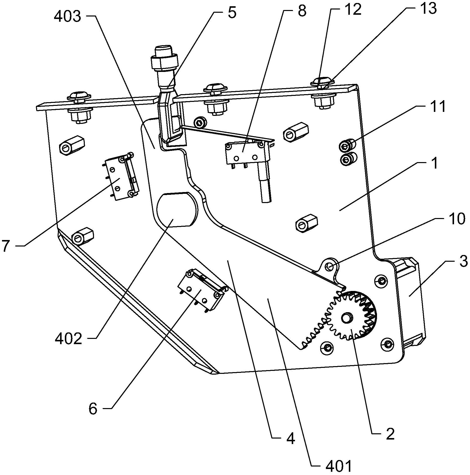
一种用于离心机开盖的自动锁扣机构
图片尺寸1885x1902
一种挂锁组装工艺的制作方法
图片尺寸901x1000
一种拼装地板锁扣的制造方法与工艺
图片尺寸1000x939
把手的锁扣结构
图片尺寸1000x615
一种搭扣锁的制作方法
图片尺寸411x1000