锁止机构

一种锁止机构
图片尺寸1655x1990
易易互联科技创新设计的换电锁止机构,具备更高可靠性和适配性
图片尺寸1269x952
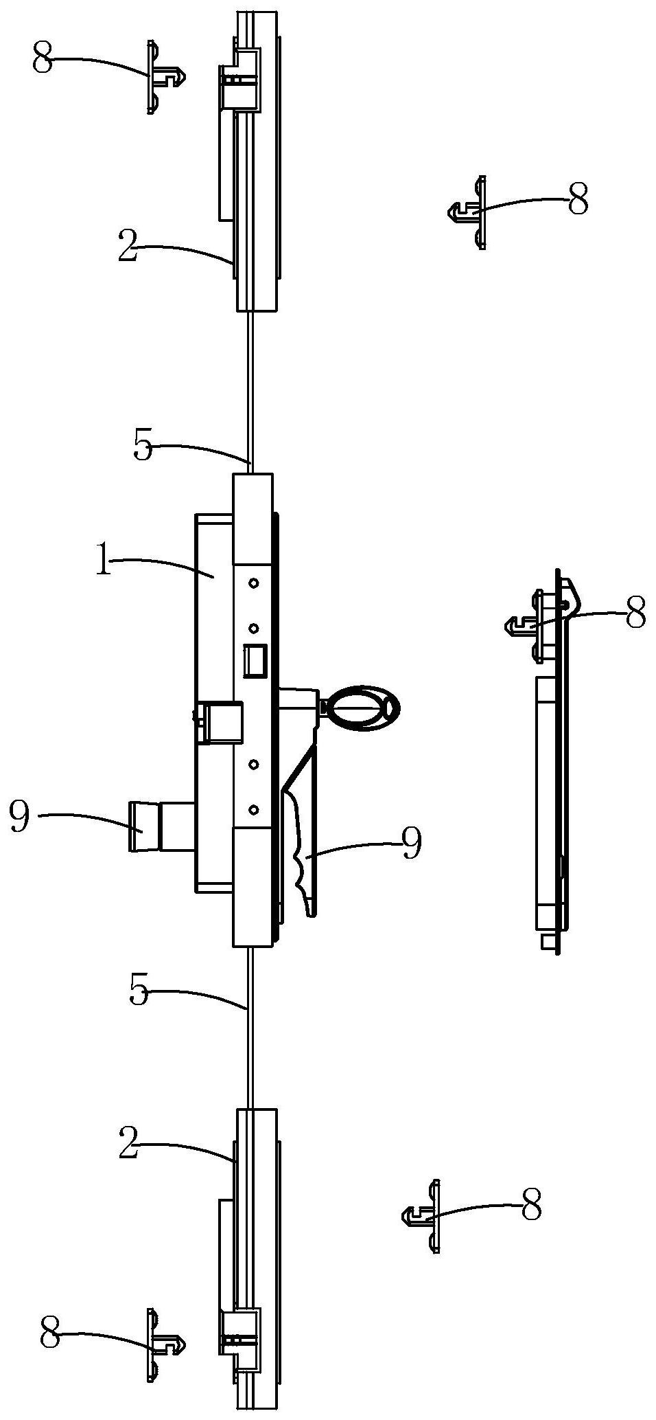
一种电动汽车换电电池包双向锁止机构
图片尺寸1559x2048
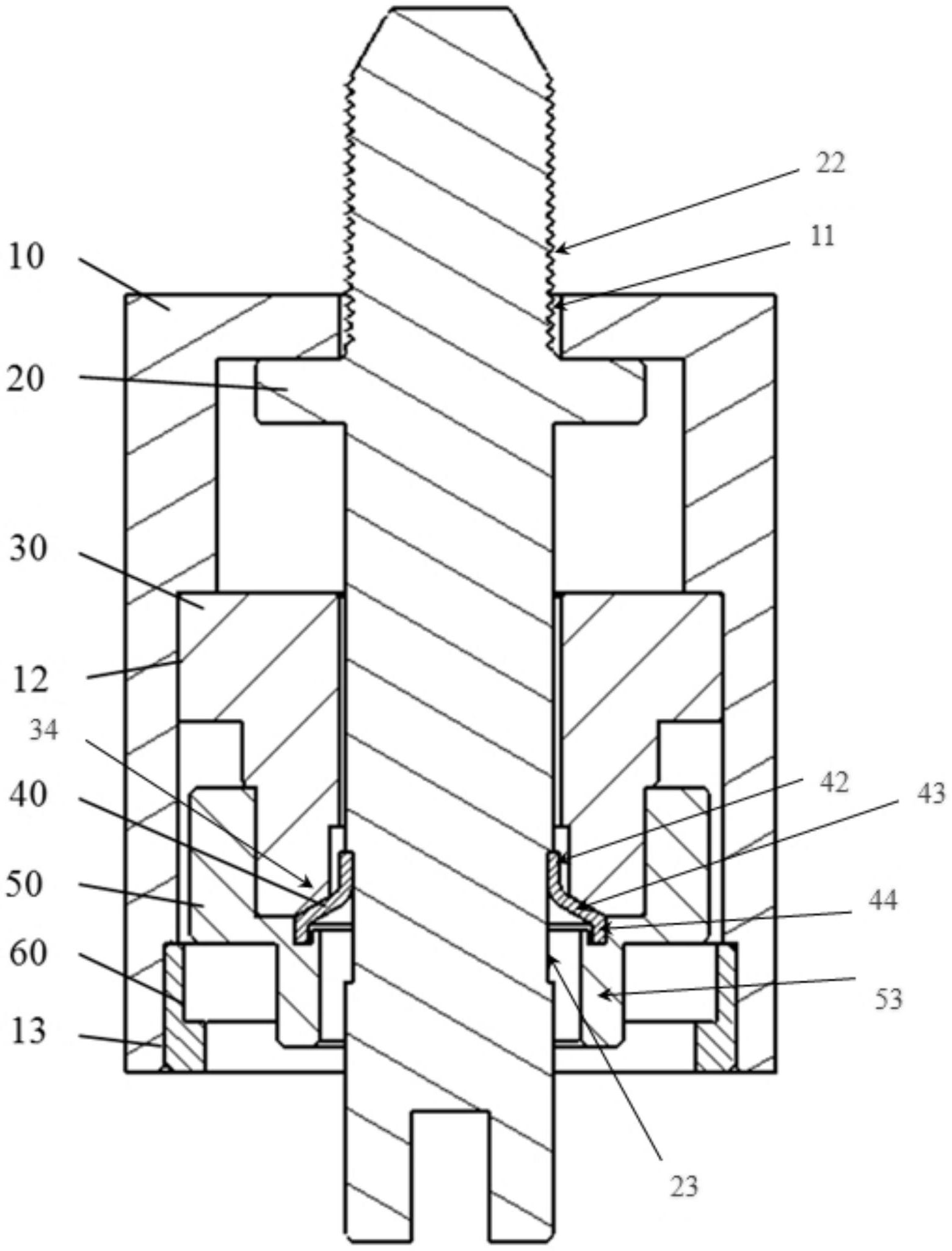
适用于限制转动副运动的锁止机构
图片尺寸2006x1847
一种可调间距货叉用锁止机构-爱企查
图片尺寸1864x1385
汽车后备箱锁止机构的结构其实跟车门是一样的,它们都是靠挡爪扣住锁
图片尺寸1024x635
锁止机构
图片尺寸548x392
北汽威旺306中门锁机构带闭锁器总成 手动电动中门锁止机构 配件
图片尺寸960x960
一种游乐设施座椅压杠的齿条棘爪锁止机构
图片尺寸1798x1499
解锁机构包括:解锁部件,用于与电动汽车上的锁止机构相配合以解锁电池
图片尺寸1343x1990
锁止结构
图片尺寸1900x2137
汽车机械式门锁主要结构有锁芯,锁体,内开把手,外开把手,内锁止机构
图片尺寸820x545
一种天地锁的联动锁止结构
图片尺寸956x2067
一种蜗杆传动用止动锁接机构
图片尺寸863x919
公开了一种锁止装置,托架总成及电动汽车,锁止机构包括锁座和限位部
图片尺寸800x594
机械锁止机构
图片尺寸810x624
重汽驾驶室适配原厂配件豪沃液压锁止机构锁扣其他
图片尺寸750x562
锁止结构_cn201920240166.9_知雀网
图片尺寸765x1000
陕汽奥龙原厂驾驶室锁紧机构龙门架液压锁锁止机构dz1600440064
图片尺寸960x960
回转式闭锁机构回转式闭锁机构分为枪机回转式和机头回转式两种,其
图片尺寸640x317