锁相环电路图

锁相环电路
图片尺寸2448x1583
锁相环的电路组成,器件参数及工作原理
图片尺寸662x466
ne564锁相环使用心得
图片尺寸4160x3120
锁相环路芯片小巧的csp封装数字锁相环路技术
图片尺寸362x339
electronics基于锁相环cd4046的数字频率合成器
图片尺寸913x801
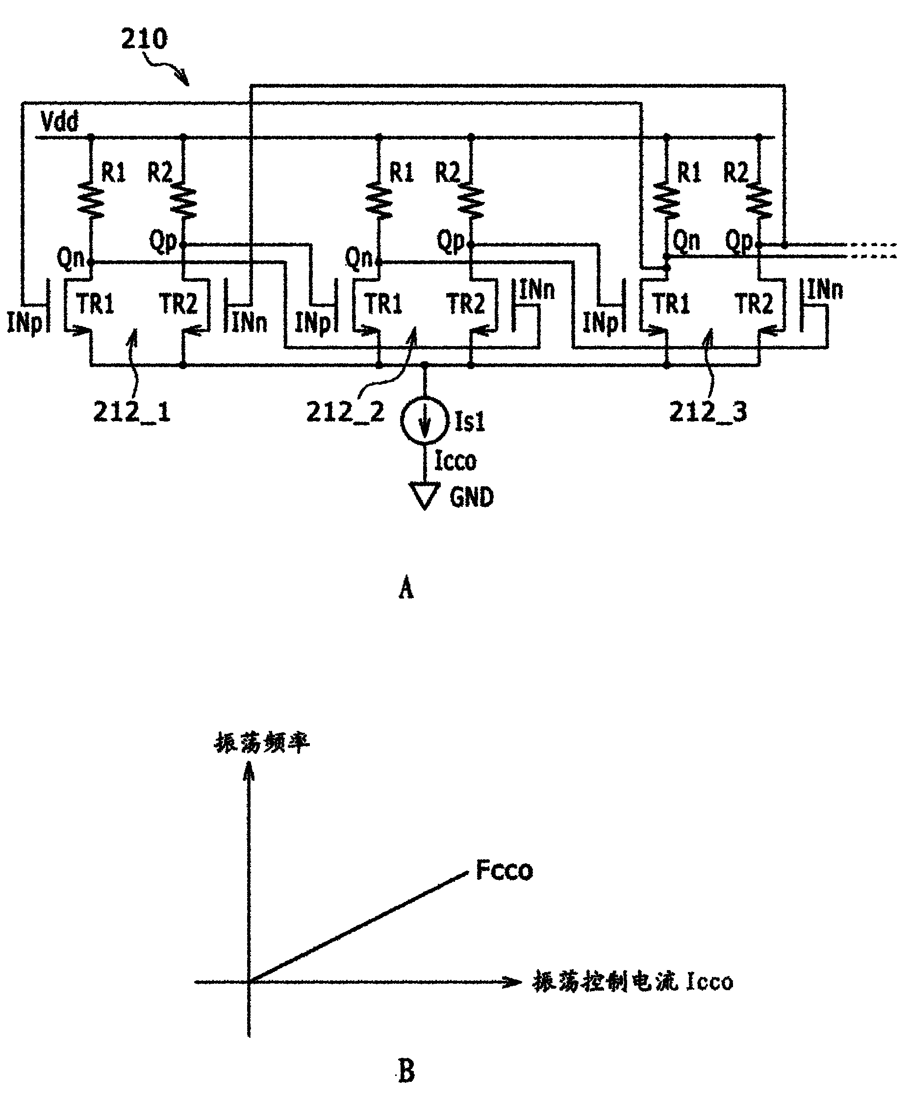
锁相环电路及其控制方法半导体集成电路和电子设备
图片尺寸1856x2240
锁相环(pll)基本原理
图片尺寸1001x823
锁相环电路
图片尺寸1158x664
锁相环(pll)基本原理
图片尺寸327x267
锁相环(pll)原理讲解
图片尺寸474x202
4046锁相环功率超声电源的频率跟踪电路
图片尺寸1400x713
锁相环电路,多锁相环系统及其输出相位同步方法
图片尺寸1703x1073
锁相环该pll将锁定输入信号.该电路具有两个三角形和方波输出.
图片尺寸512x492
一种用于超大面阵cmos图像传感器的高速高精度锁相环电路的制作方法
图片尺寸891x835
一种改进型的cmos电荷泵锁相环电路
图片尺寸338x341
cd4046锁相环在感应加热电源中的应用
图片尺寸939x885
cn1691512a_具有自适应环路带宽的锁相环失效
图片尺寸1417x807
锁相环电路实解及典型方案介绍
图片尺寸757x472
cn100530969c_在死区补偿时间间隔支持时钟信号更新的锁相环集成电路
图片尺寸2345x1432
锁相环pll的原理与应用的详细资料说明-电子电路图,电子技术资料网站
图片尺寸933x558