锁紧套结构

etp-octopus液压锁紧胀套
图片尺寸1615x1079
z11胀套20x28报价现货|价格,厂家,图片-商虎中国
图片尺寸521x510
tas锁紧套,tas锁紧装置,tas涨紧套,tas联轴器,tas缩紧盘-tas schafer
图片尺寸322x247
胀紧联结套的安装
图片尺寸2298x1153
胀紧方法:先在带轮内孔中放入开口外套,外套压兰用螺栓和带轮把合固定
图片尺寸429x606
迈动工业——lock11胀紧套迈动lock11胀紧套类似于:tlk139 hd,迈动胀
图片尺寸495x506
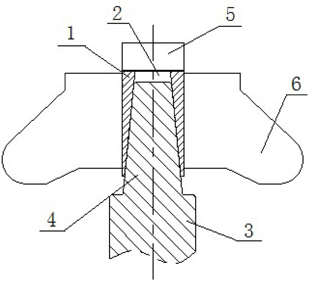
一种双向锁紧的胀套结构
图片尺寸810x1000
cn104549784a_离心机的转子锁紧套结构失效
图片尺寸1000x910
车辆把套锁紧结构-爱企查
图片尺寸1631x1552
锁紧机构结构
图片尺寸945x723
涉及一种可快速定位锁紧导套,该锁紧导套用于工业工程中导柱,导套结构
图片尺寸1000x825
胀紧套的结构与工作原理
图片尺寸557x374
z3胀套_z3涨套_z3涨紧套_上海胀紧套厂家_供应产品_上海乙谛精密机械
图片尺寸301x386
请教大神,竖直导轨上的常闭式锁紧机构设计
图片尺寸763x810
定制全系列胀紧套z5免键涨紧轴套连结套涨套无键涨紧套 z5-200*260*94
图片尺寸990x814
变压器高压套管锁紧机构的制作方法
图片尺寸1000x885
一种防止旋转脱落的锁紧结构
图片尺寸1000x595
精密机械加工厂家的螺旋抱紧式锁紧机构
图片尺寸799x599
其目的是为了提供一种结构简单,操作方便的齿轮锁紧机构.
图片尺寸1000x845
z9型锁紧联结盘的基本尺寸 (按jb/t 7934-1999生产)
图片尺寸366x321