锁紧销结构图

上锁销 上锁销作用孔 定位突檐 上锁销杆 防跳台 上防跳台 蝶形孔 锁
图片尺寸1080x810
快卸销 按钮快锁插销 b型球头锁销 直径9/10 长10/15/20~100现货
图片尺寸800x487
拉环快卸销 不锈钢球头锁紧销blps 快拔销 快速释放销 分度销
图片尺寸662x264
锁紧推拉式快卸销
图片尺寸2441x1701
cn101761539a_双重锁紧自动锁销有效
图片尺寸2026x1145
球头锁紧销快卸销自锁安全销顶出式安全销blp12长4080
图片尺寸504x515
cn104358287b_锁紧销有效
图片尺寸526x554
一种锁紧销组件及其使用方法技术
图片尺寸260x337
日本原装进口正品米思米misumi球头锁紧销顶出式blp10-40
图片尺寸706x643
不锈钢插销锁,性能卓越可靠,安装方便!
图片尺寸669x417
一种手柄式定位锁紧销的制作方法
图片尺寸399x1000
一种带伸缩式定位销快速吊装锁紧机构
图片尺寸800x1090
cn2128292y_窗用插销锁失效
图片尺寸800x1090
插销带弹簧锌合金设备门自动弹簧插销锁工业弹簧门销
图片尺寸658x532
锁紧销的制作方法
图片尺寸972x1000
锁紧机构结构
图片尺寸945x723
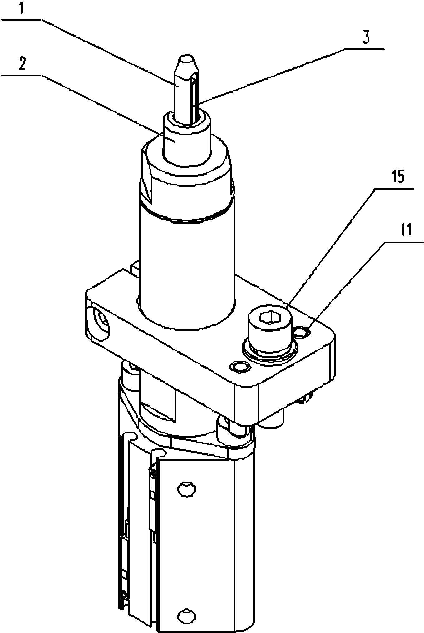
cn106392440a_一种气动定位锁紧销钩机构有效
图片尺寸1358x2027
背景技术:现在的插销一般都是手动结构,插销要锁紧或者要松开都要用手
图片尺寸1000x552
一种锁紧销
图片尺寸1111x614
定做球头锁紧销顶出式blp快卸销快速锁销快拔销定位销销直径1012blpmi
图片尺寸750x979