锁芯弹子机设备

弹子锁装配机2
图片尺寸4032x3024
子弹子锁自动装配机叶片锁挂锁抽屉锁文具柜锁组装机锁芯浙江厂家
图片尺寸1440x1919
弹子锁装配机
图片尺寸968x335
全自动锁芯装配机jd603x锁芯弹簧弹子装配
图片尺寸860x1112
工作中的锁芯弹子眼和立铣
图片尺寸640x854
弹子锁叶片锁寿命试验机,叶片锁钥匙插拔扭转测试仪,弹子锁测试
图片尺寸1324x1324
锁芯组装机#自动化设备#非标自动化设备#工厂#组装机
图片尺寸1920x1080
精锐机械专业生产制锁设备 jz-14 双头弹子孔机
图片尺寸1500x1587
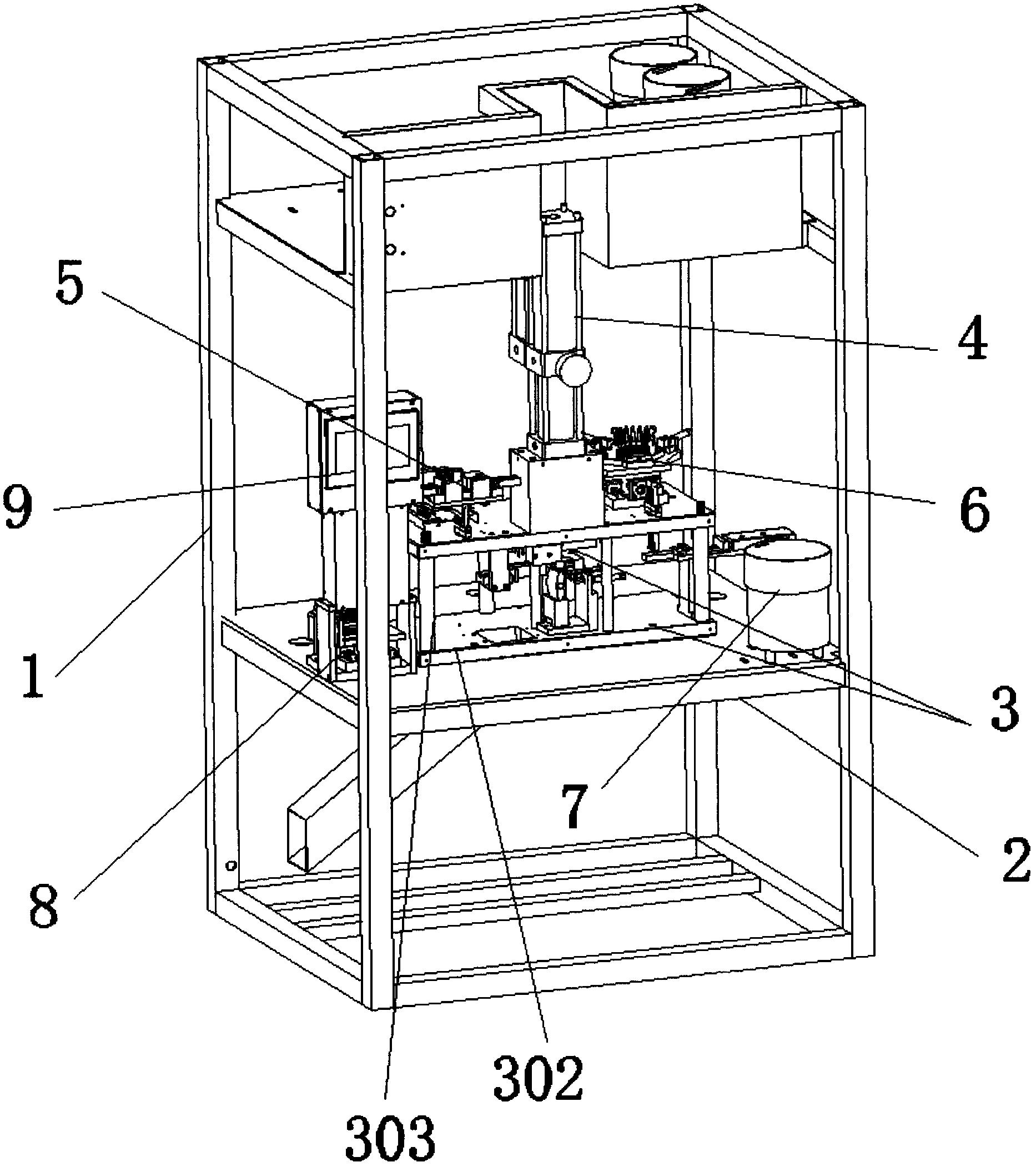
cn106271608b_弹子锁锁芯自动组装设备有效
图片尺寸1866x2102
弹子锁装配机3
图片尺寸3024x4032
锁芯装配机
图片尺寸4032x3024
中检仪器锁体 锁芯挂锁寿命测试机 耐久试验机 en 1303检测设备 - 爱
图片尺寸750x1000
门锁五金配件锁头锁芯自动化组装机装配机自动机设备
图片尺寸550x413
锌合金锁芯_弹子锁芯_叶片锁芯_中山市鸿灿金属制品有限公司
图片尺寸1000x1333
内胎装配锁芯充气机
图片尺寸786x786
弹子锁锁芯自动组装设备的制作方法
图片尺寸857x1000
供应创建cjjx 锁具高低弹子装配 自动锁具装配机 专用设备定制 气电
图片尺寸768x1024
jz-33自动弹子机-曹县精锐机械锁业有限公司,铣牙加工设备,插芯锁加工
图片尺寸1000x1000
曹县精锐制锁机械设备 jz-4.2锁芯弹子孔 立铣
图片尺寸1024x986
中检仪器锁体 锁芯挂锁寿命测试机 耐久试验机 en 1303检测设备 - 爱
图片尺寸750x1000