锁芯结构示意图

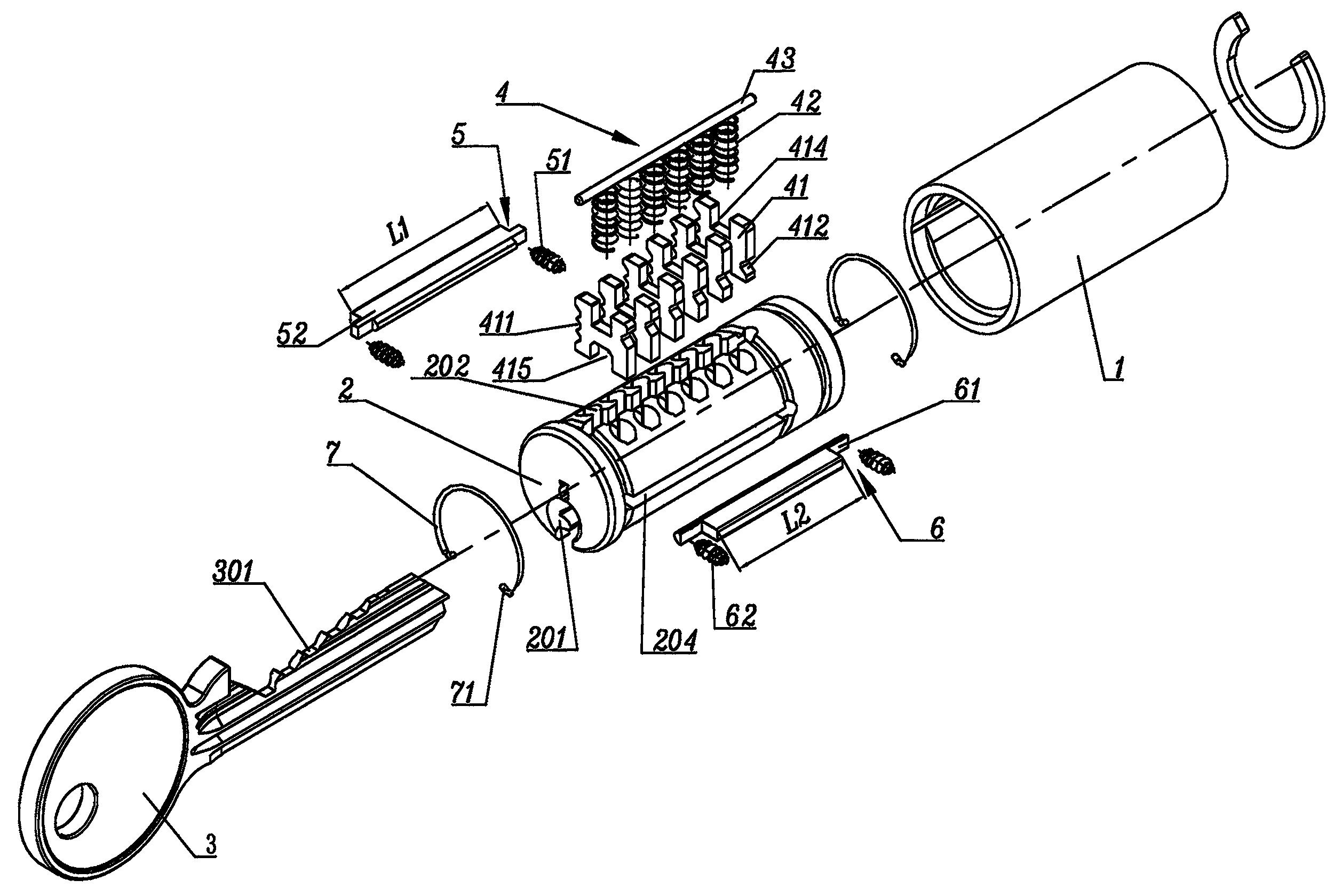
一种电脑管理锁芯
图片尺寸2344x1770
门锁的内部结构和拆卸
图片尺寸720x960
锁芯内部结构锁芯解剖结构.docx
图片尺寸1240x1753
智能锁锁体揭秘,全面了解其基础结构和功能
图片尺寸1212x672
一种具有ab钥匙功能的锁芯结构
图片尺寸1550x1295
名门静音门锁室内门锁具通用型卧室卫生间房门黑色金色直推拉门锁
图片尺寸750x1139
六孚7068直插芯全自动锁体
图片尺寸2481x1644
一种多点式组合门锁
图片尺寸2151x2656
换锁芯步骤指南
图片尺寸1080x1410
一种互开少的锁芯及其锁体专利
图片尺寸1948x1977
锁芯结构图谁有?
图片尺寸800x800
五菱荣光中门锁拆换教程
图片尺寸461x401
65811 大门锁-雅黑系列- 广东汇泰龙科技股份有限公司
图片尺寸800x618
一种锁芯专利
图片尺寸2500x1679
老式铁门门锁换锁芯教程
图片尺寸720x960
锁芯内部结构大揭秘,工作原理全解析
图片尺寸720x960
弹子锁锁死与开锁的原理是什么?
图片尺寸640x480
方便使用的锁芯专利
图片尺寸1900x1751
汽车锁芯如何拆解
图片尺寸640x433
锁芯工作原理揭秘,机械结构大解析
图片尺寸720x960