锄头杠杆示意图

mp4区分省力杠杆,费力杠杆,等臂杠杆.mp43.4简单机械(第2课时)(课件).
图片尺寸794x446
设置可伸缩柄杆的农用锄头制造技术
图片尺寸629x428
9-ppt课件-金锄头文库
图片尺寸920x690
杠杆分类练习
图片尺寸1563x1055
《不简单的杠杆》中锄头的作用怎么解释呢?
图片尺寸1708x1280
一种多功能锄头
图片尺寸1477x1160
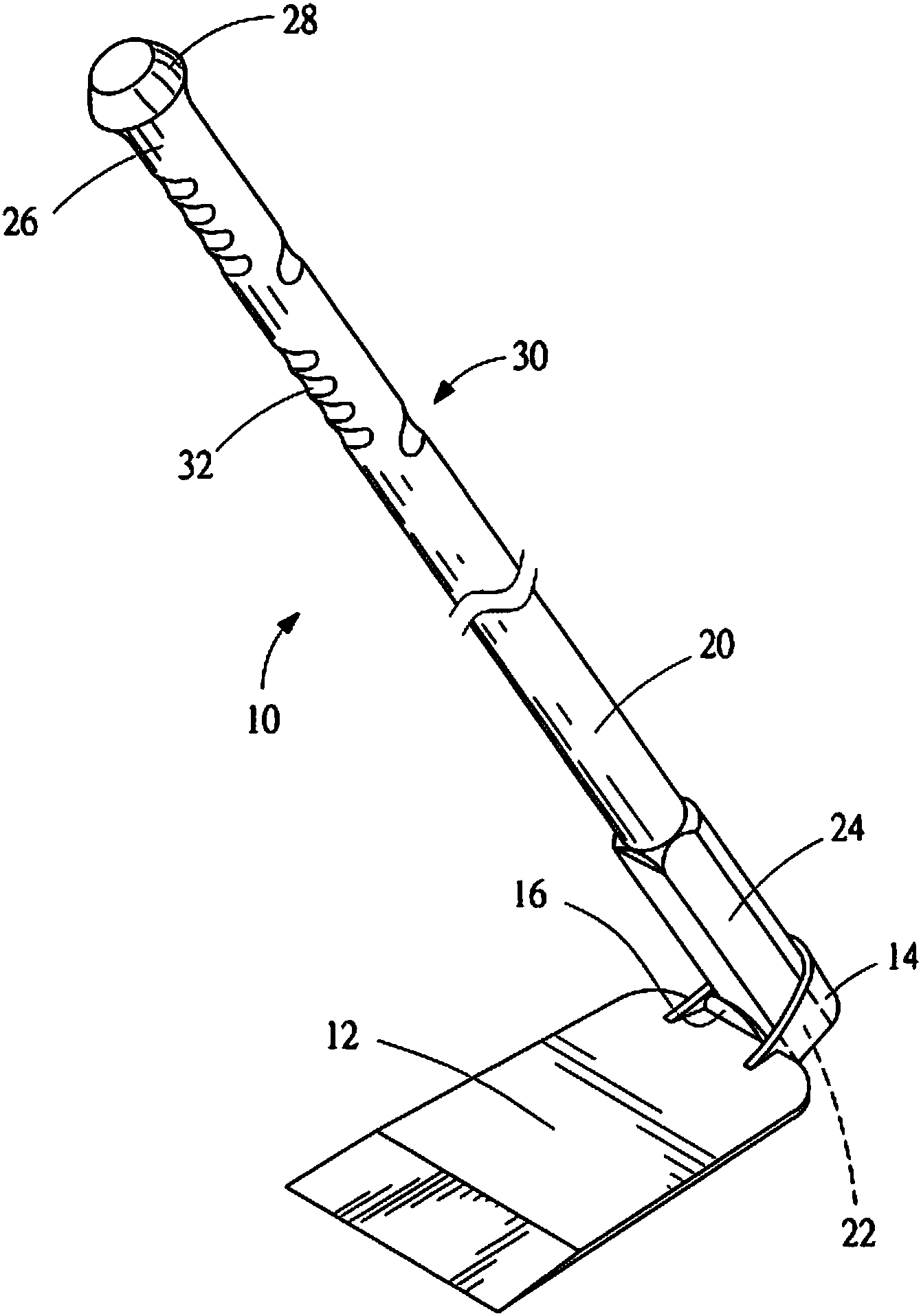
一种可折叠杠杆踩压式钉耙锄头的制作方法
图片尺寸1000x932
八年级物理下册第12章第1节杠杆资料讲解-金锄头文库
图片尺寸800x600
一种具有凳子功能的锄头的制作方法
图片尺寸1000x1000
杠杆示意图画法——嘟嘟教你学物理
图片尺寸960x1002
杠杆示意图-费力杠杆
图片尺寸420x508
一种方孔锄头的制作方法
图片尺寸515x1000
3杠杆类工具的研究课件素材共17张ppt
图片尺寸720x540
cn106856672a_一种改良的锄头失效
图片尺寸1340x1916
粤教版六年级下册科学第一单元《简单机械》精品课件ppt
图片尺寸1080x810
他说得有道理吗?你觉得是否可行?四,拓展反思1.杠杆有哪些部分组成?
图片尺寸859x473
新型锄头的制作方法
图片尺寸1000x648
一种菜地拔草锄头的制作方法
图片尺寸1000x502
多功能锄头
图片尺寸2030x1134
一种锄头的制作方法
图片尺寸1000x588