锅炉布风板

锅炉风室布风板排渣管
图片尺寸640x451
构成循环流化床锅炉炉底的均匀布风板.
图片尺寸720x839
循环流化床锅炉简介ppt
图片尺寸1080x810
循环流化床锅炉cfb锅炉布风装置的结构
图片尺寸398x344
超临界cfb锅炉简介ppt
图片尺寸1440x810
循环流化床锅炉设备及运行7-3 布风板 排渣口
图片尺寸1080x810
hg-440循环流化床锅炉介绍ppt 关键部件——水冷布风板 由锅炉前墙
图片尺寸1080x810
循环流化床锅炉简介ppt
图片尺寸1080x810
电力行业循环流化床锅炉布风板专用高纯陶瓷纤维毯
图片尺寸650x488
循环流化床锅炉风帽经常掉怎么办,如何预防?
图片尺寸640x640
循环流化床锅炉各种类型风帽使用中有哪些优缺点?
图片尺寸665x275![流化床锅炉布风板风帽-厂家怎么选只需这三招[江河]](https://i.ecywang.com/upload/1/img1.baidu.com/it/u=1405943343,855223548&fm=253&fmt=auto&app=138&f=PNG?w=717&h=375)
流化床锅炉布风板风帽-厂家怎么选只需这三招[江河]
图片尺寸717x375
zg4cr26ni4mn3nre锅炉风帽耐高温耐磨
图片尺寸800x800
cfb锅炉水冷壁磨损部位分析及丰智链防磨导流板技术
图片尺寸1280x1706
大型循环流化床锅炉风帽改造研究ppt
图片尺寸1080x810
循环流化床锅炉风帽经常掉怎么办,如何预防?
图片尺寸540x475
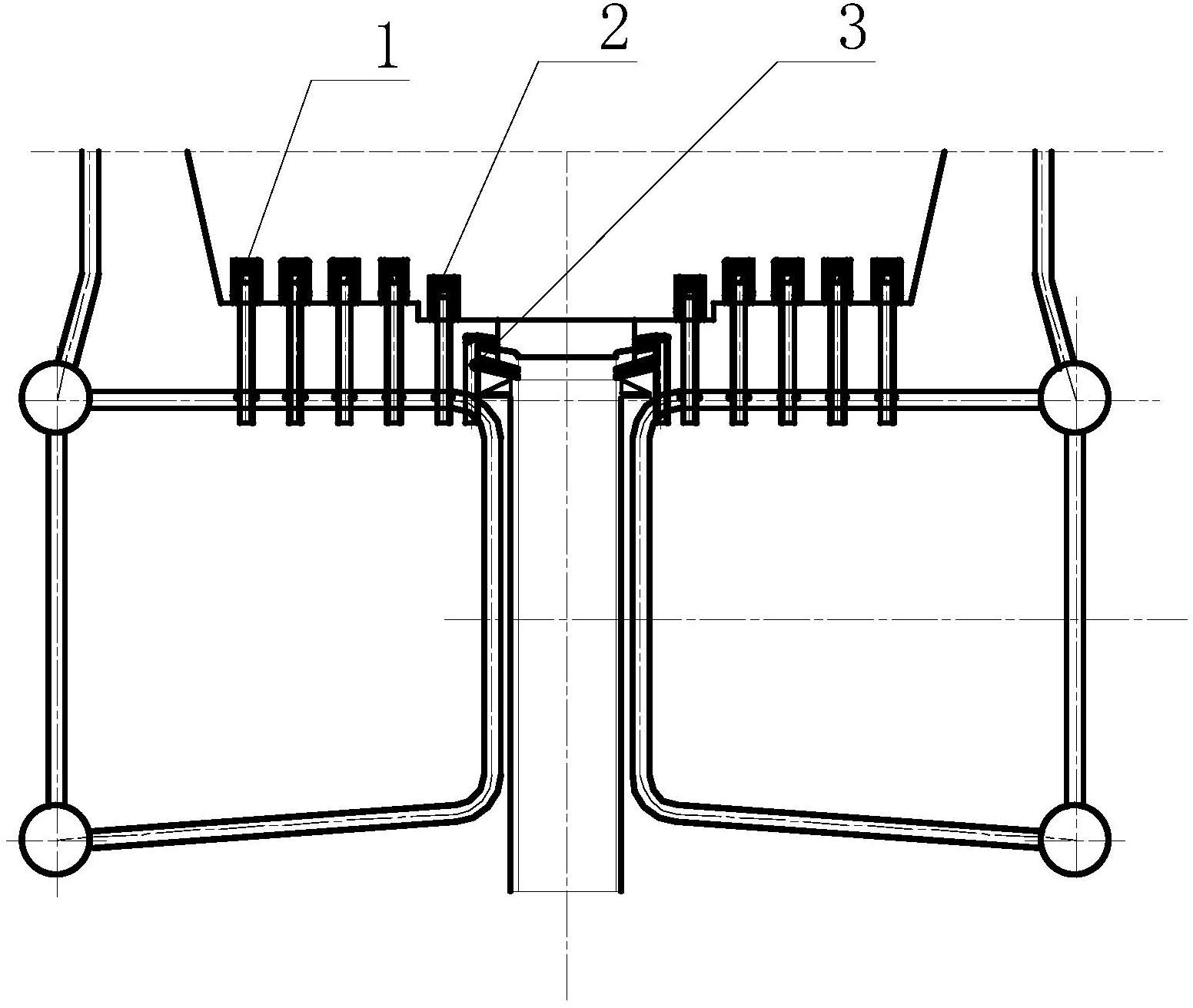
具体说,是用来焚烧污泥的流化床锅炉炉膛内的布风板它包括水冷风室
图片尺寸1128x1224
11 锅炉布风板风帽改造效果比较
图片尺寸412x212
循环流化床锅炉风帽经常掉怎么办,如何预防?
图片尺寸640x640
炉膛布风装置-爱企查
图片尺寸1552x1312