锅炉检修口

诚扬厂家专业生产排污人孔锅炉检修孔质量保证可定做
图片尺寸860x860
检修口
图片尺寸1080x1439
不好打理卫生!石膏板吊顶美观归美观但是也要留好检修口哦!锅炉管道.
图片尺寸1080x1439
检修口
图片尺寸800x483
装修踩大坑(隐藏式下水管道检修口)
图片尺寸1080x1439
隐藏式检修门 盖板分离式吊顶检修口 防潮石膏板铝合金门通风口
图片尺寸800x800
有没有隐形检修口五金检修口神器
图片尺寸1440x1440
旋柄回转盖检修手孔保温不锈钢人孔标准生产锅炉观察孔
图片尺寸1000x1000
批发石膏双边铝合金检修口 下拉式 通风口厂家代理 低价促销
图片尺寸1920x1440
分水器检修口门
图片尺寸1080x1439
检修口110下水管检查口管道盖板塑料水管卫生间下水道装饰盖
图片尺寸800x800
304不锈钢立管检查口清扫口食级观察口卫生级检修口可喷砂抛光 63*2
图片尺寸750x735
锅炉上使用的人孔那种比较好
图片尺寸412x429
通州检修口南京铝风口无锡墙面检修口徐州石膏检修口
图片尺寸600x600
1055商铺门口检修口吊杆未紧固,未设置独立的龙骨和吊杆体系
图片尺寸1080x1080
卫生间的地暖分水器位置,主地暖出水管和地暖回水管已经从锅炉处预埋
图片尺寸640x378
装修被邻居问爆的石膏板检修口真的绝60
图片尺寸1080x1439
水冷柜机的安装参考|机组|减振器|冷却塔_新浪新闻
图片尺寸554x721
如何打造全屋智能之智能暖通系统
图片尺寸640x461
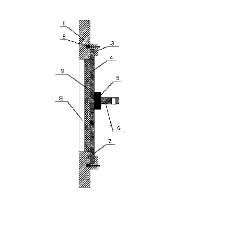
p>锅炉检查门安装在锅炉的检修口,是锅炉的重要组成部分,人们通过
图片尺寸451x489