锚链舱

星型气缸的内部,并体验了电子战飞机的座舱,然后陆续参观锚链舱和船尾
图片尺寸1080x1618
应用范围
图片尺寸600x428
船用锚链是怎么安装的
图片尺寸750x750
双层底,燃油舱(柜),压载舱,货泵室,货物压缩机室,隔离空舱,锚链舱,空
图片尺寸757x764
图为舰艏锚链舱又一次进行冲水试验的另一个角度照
图片尺寸640x400
英国mca 致力于制定进入船上封闭处所的新安全规则
图片尺寸805x572
锚机(1)链轮,制链器,导链滚轮和锚链筒应呈一直线.
图片尺寸720x481
锚链舱退役后海军将列克星敦号捐赠予民间组织,改作博物馆舰.
图片尺寸640x427
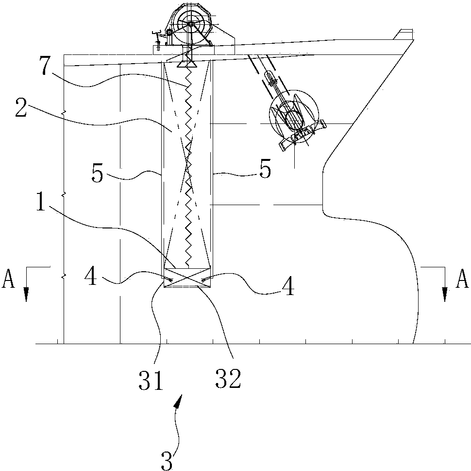
船舶锚链舱及包含其的船舶
图片尺寸970x969
舱锅炉仓下层甲板两侧共布置有26门68磅前装滑膛炮步枪架舰长室军官
图片尺寸640x427
在船坞的日子里,又是上伙食物料,清理锚链舱的泥土和锈渣,又是穿着
图片尺寸553x415
锚链舱 - 香江野生动物世界照片 by zxt1946 | yododo 游多多
图片尺寸685x455
巡航灯 大尺寸可开启式船舱盖板 自流式锚链舱 可开启式锚链舱盖板
图片尺寸582x331
锚链检验,船用锚链轮,锚链舱眼环,船用有档锚链,末端卸扣,摩擦链,捕鱼
图片尺寸700x933
航母锚链最长1500米深海不够用咋办动力定位系统解决大问题
图片尺寸640x428
航母里面太大了,像走迷宫一样转来转去,参观了许多地方,甲板,锚链舱
图片尺寸750x562
(1)链轮,制链器,导链滚轮和锚链筒应呈一直线.
图片尺寸640x360
图 3应急通信保障主甲板以下舱室布置图fig.
图片尺寸3780x1417
巡航灯 锚链舱盖板 大尺寸盖板箱 大尺寸隐藏式储鱼箱 隐藏式油箱
图片尺寸582x331
船用锚链打捞
图片尺寸1080x1440