锥形结构示意图

第三单元总结
图片尺寸1440x1080
北京版六年级下册数学教案 圆锥(一)圆锥的认识教学设计
图片尺寸265x236
圆锥的表面积公式是多少
图片尺寸700x400
圆锥侧面积公式是什么优质
图片尺寸682x280
素描圆锥体教案精选课件
图片尺寸920x1302
圆锥体不过顶点过两腰的斜切面是什么形状?
图片尺寸1024x747
圆锥的侧面积和全面积教学课件ppt
图片尺寸1080x810
(人教版)六年级数学下册课件 圆锥的体积 4ppt
图片尺寸1080x810
几何体结构素描单体圆锥体柯略
图片尺寸960x540
素描圆锥体教案精选课件
图片尺寸920x1302
北师大版九年级下册《圆锥的侧面积》课件ppt
图片尺寸1292x1029
圆锥体素描
图片尺寸500x560
q2:圆锥体展开图的画法
图片尺寸500x485
《圆锥的侧面积和全面积》ppt
图片尺寸1080x810
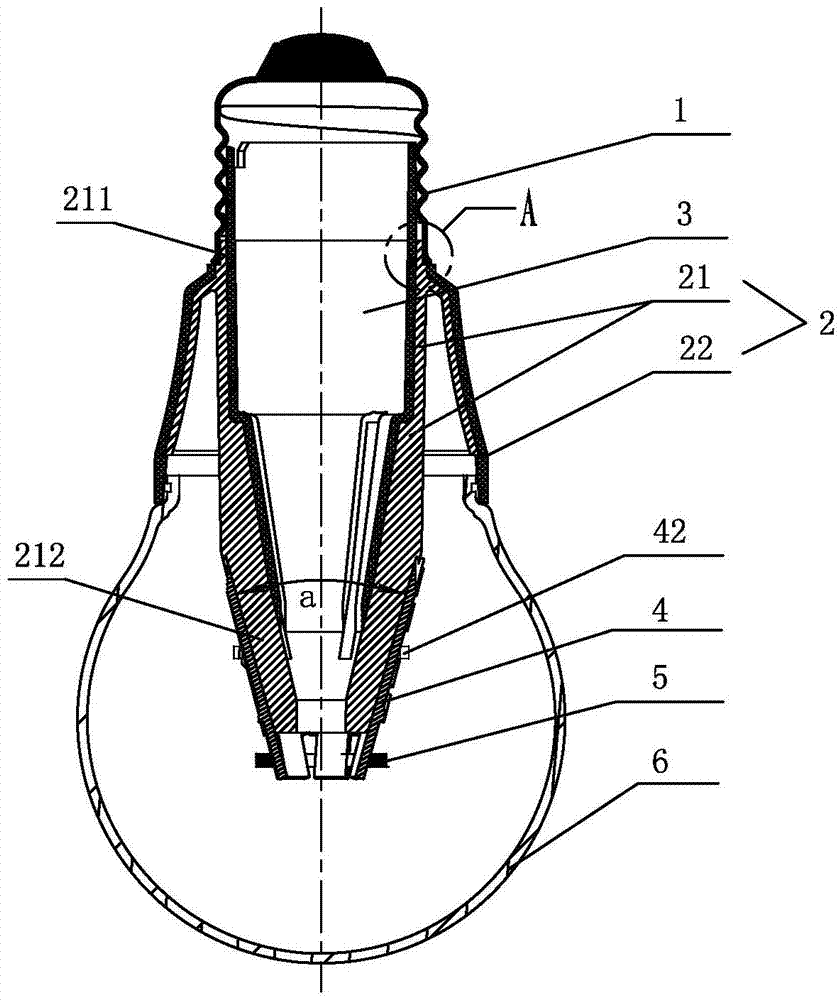
cn104776333a_锥形结构全方向led灯失效
图片尺寸840x1000
圆锥结构特征
图片尺寸800x600
圆锥体写生课堂示范范画解析天津新创画室
图片尺寸1000x714
在表现圆锥体的明暗时可参照右侧的块面示意图,由于圆锥体为大的转折
图片尺寸640x556
锥形图空间立体造型钢结构施工图
图片尺寸560x516
零基础几何体教程分步骤讲解圆锥体画法收藏起来临摹学习
图片尺寸640x694