锥形阀结构图

固定锥形阀
图片尺寸467x749
一种轴流式固定锥形阀
图片尺寸1623x1268
惠盛调流调压阀系列 固定锥形阀 现货供应 固定锥形阀
图片尺寸660x827
锥形阀结构示意图
图片尺寸498x278
锥形阀
图片尺寸268x288
一种具有消能导流翼板的固定锥形阀
图片尺寸424x358
锥形阀(减压消能阀)
图片尺寸1920x1440
背景技术:目前广泛使用于管路上的截止阀,其密封结构多采用阀座和阀芯
图片尺寸483x543
厂家定做vag锥形阀新疆固定锥形阀电动锥形阀
图片尺寸716x489
一种管中型固定锥形阀的制作方法
图片尺寸1000x909
锥形阀
图片尺寸755x812
一种水电站大坝用锥形阀制造技术
图片尺寸1000x976
锥阀
图片尺寸270x329
阿里sv10-25 两通常开式锥阀
图片尺寸600x483
摘要:消能锥形阀是一种用于中,高水头下的消能控流阀门,其内部结构
图片尺寸908x584
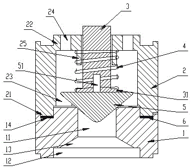
一种具有消能和减振功能的固定锥形阀
图片尺寸1623x1351
一种具有消能和减振功能的固定锥形阀的制作方法
图片尺寸1000x842
锥形阀zlf341x
图片尺寸600x688
一种锥密封结构及电磁先导控制气阀_cn201911384208.7_知雀网
图片尺寸752x1000
一种单向锥阀
图片尺寸384x336