锥齿轮简笔画

锥齿轮-爱企查
图片尺寸754x799
一种传动锥齿轮-爱企查
图片尺寸588x800
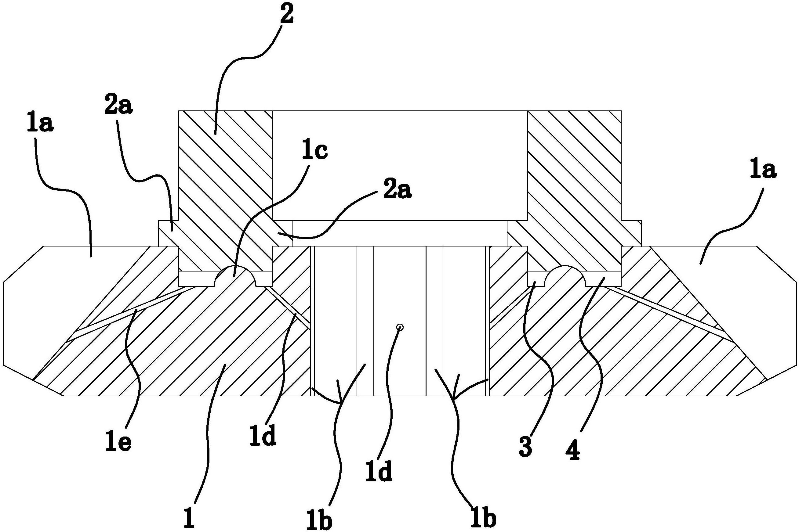
一种带螺旋线油槽的差速器行星锥齿轮的制作方法
图片尺寸872x876
齿轮图片简笔画 齿轮图片简笔画彩色
图片尺寸800x756
齿轮的几何要素与规定画法
图片尺寸1372x644
一种用于机械传动的锥齿轮-爱企查
图片尺寸800x750
齿轮简笔画机械齿轮简笔画
图片尺寸255x255
机械要素之齿轮的种类 - 财经 - 东亚金融网
图片尺寸622x452
一种用于锂电池正负极材料装料装置的主动伞齿轮-爱企查
图片尺寸667x799
齿轮立体简笔画图片 - 简单简笔画
图片尺寸400x400
圆锥齿轮的画法
图片尺寸492x201
锥齿轮
图片尺寸1100x1100
齿轮图片简笔画 齿轮图片简笔画彩色
图片尺寸650x635
齿轮简笔画
图片尺寸800x450
圆锥齿轮-爱企查
图片尺寸612x428
cn201145022y_一种圆锥式破碎机齿轮失效
图片尺寸800x883
直齿锥齿轮的画法(1)直齿锥齿轮的画图步骤如图7-30所示.
图片尺寸1390x1343
一种锥齿轮-爱企查
图片尺寸2617x1744
齿轮图片简笔画 齿轮图片简笔画彩色
图片尺寸560x425
齿轮图片简笔画 齿轮图片简笔画彩色
图片尺寸450x450