锯床结构示意图

gw4028a卧式小型带锯床国产高精密带锯床多功能木工锯床
图片尺寸790x574
台式木工带锯机的结构和使用
图片尺寸623x428
一种智能型数控立式带锯床的制作方法
图片尺寸443x355
木工机械mj900立式重型圆木带锯机-木工带锯机-木工锯床-木工机床
图片尺寸638x619
一种高可靠多角度切削带锯床的制作方法
图片尺寸921x1000
nc4242数控锯床卧式金属带锯床
图片尺寸683x599
714 立式金属带锯床的设计与控制
图片尺寸727x484
一种木工锯床的制造方法与工艺
图片尺寸1000x896
一种带有自动送料装置的石墨锯床的制作方法
图片尺寸971x1000
cn103521841a_双立柱金属带锯床送料装置有效
图片尺寸968x1000
台锯能切割槽和多种不同类型的接合部件,今天介绍台锯的基本知识
图片尺寸640x367
mj134万能可倾圆锯机/木工机械锯床/压克力亚克力裁板锯/往复锯
图片尺寸852x1136
双立柱锯床ec4038卧式双柱型金属带锯床
图片尺寸709x674
band saw
图片尺寸501x832
一种带有自动张紧装置的石墨锯床
图片尺寸1167x1231
cn208322306u_卧式金属带锯床有效
图片尺寸1771x1221
cn206824751u_卧式锯床有效
图片尺寸1000x995
圆盘锯床的制作方法
图片尺寸1000x909
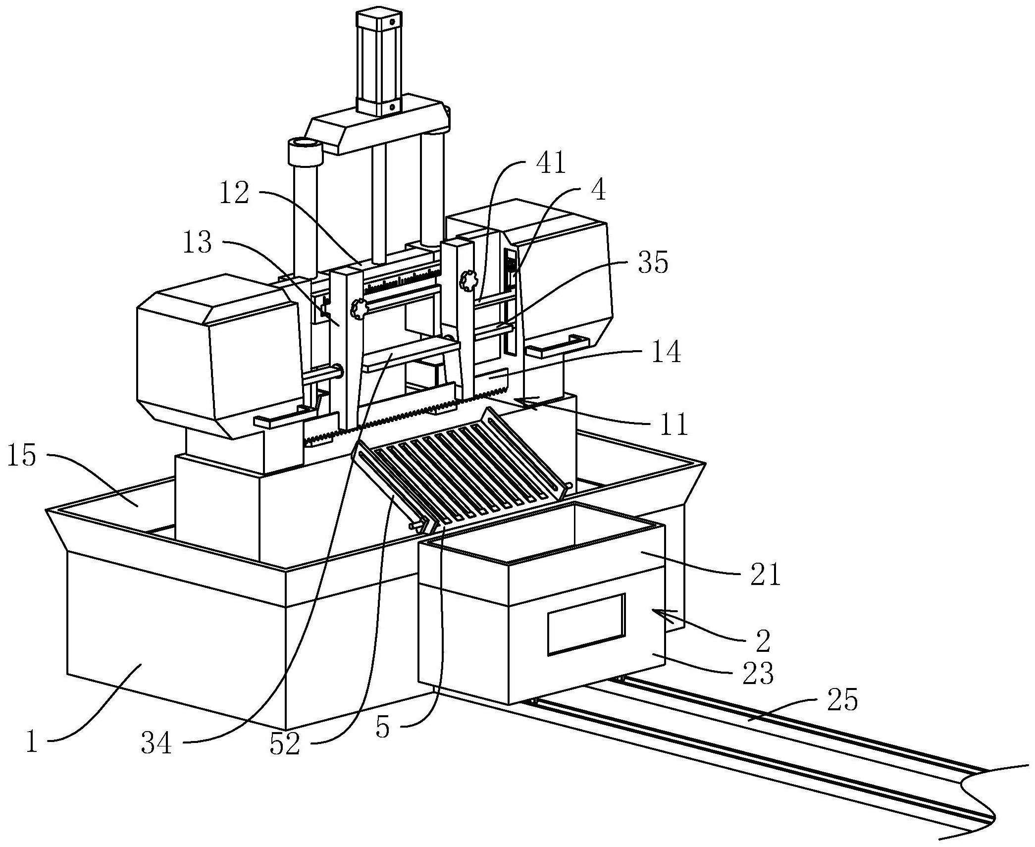
一种用于锻造钢材的数控锯床
图片尺寸2090x1710
一种用于人防门管道的锯床的制造方法与工艺
图片尺寸1000x876