锻造工艺原理图

特种铸造10第十章_离心铸造ppt
图片尺寸1080x810
飞轮- 热门商品专区
图片尺寸935x377
步骤2,将坯料镦粗到锻造工艺要求的尺寸;步骤3,将镦粗后的实心坯料冲
图片尺寸2648x1416
铸造砂型的工艺流程
图片尺寸1615x807
各种铸造方法的工艺特点和适用范围
图片尺寸608x400
锻造基础知识
图片尺寸640x645
压力机上锻造
图片尺寸827x709
《机械制造基础第一篇铸造成形第二讲砂型铸造教材教学课件.ppt》
图片尺寸1152x864
行星齿轮衬套的铸造工艺设计2d图机械素材
图片尺寸1032x732
机加工工艺介绍一
图片尺寸1080x810
汽车制造工艺(三)——锻造
图片尺寸484x258
铝及铝合金低压铸造原理及工艺过程
图片尺寸730x1398
我国铝车轮锻造技术及成形装备的发展
图片尺寸1022x513
本文针对旋转锻造及轴向成形工艺在汽车制造领域中的应用,介绍了其
图片尺寸400x232
工艺详解铸造
图片尺寸587x866
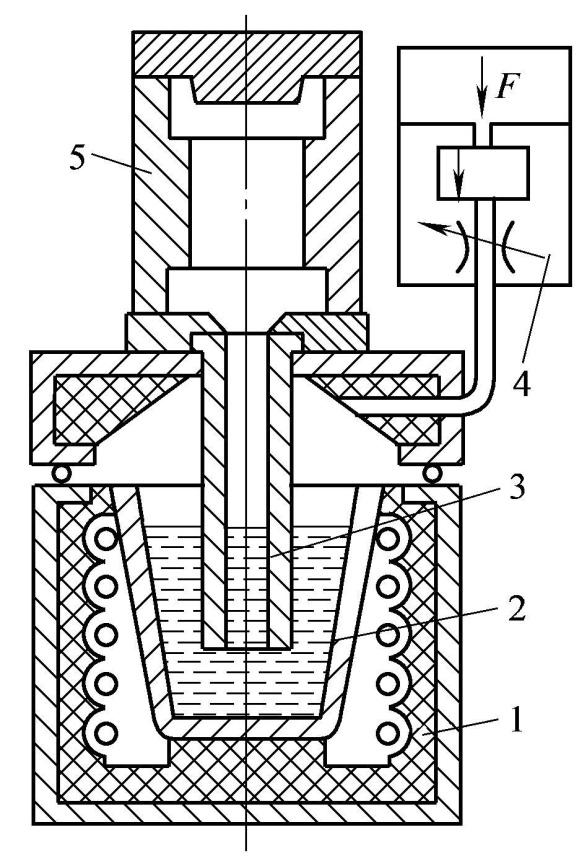
半固态金属铸造工艺
图片尺寸741x503
金属型铸造工艺
图片尺寸640x480
锻造空气锤工作原理
图片尺寸624x739
特种锻造之三种分模多向模锻
图片尺寸456x308
金属铸造工艺简介
图片尺寸380x433