镀膜机 原理

图一为活性反应离子镀膜机结构示意图
图片尺寸1270x1054
装饰品专用蒸发真空镀膜机
图片尺寸1200x795
磁控溅射镀膜技术的原理与特点
图片尺寸608x588
磁控溅射镀膜设备选型指南
图片尺寸912x799
红外光学薄膜镀膜机
图片尺寸1980x1698
磁控溅射镀膜设备的工作原理是什么
图片尺寸704x469
真空镀膜技术概览:蒸发镀膜与溅射镀膜的多样应用
图片尺寸1080x753
真空蒸发镀膜技术原理
图片尺寸367x290
一文搞懂电子束蒸发镀膜技术
图片尺寸422x383
多弧离子真空镀膜技术特点
图片尺寸678x477
真空镀膜机原理和各部件分析
图片尺寸1156x799
磁控溅射镀膜机组成原理与应用
图片尺寸1080x1608
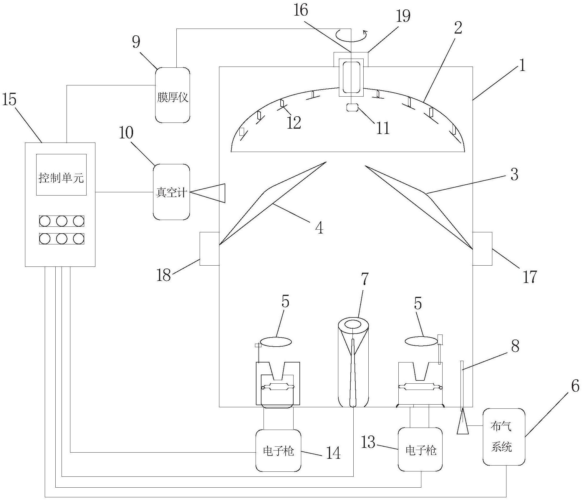
一种镀膜机
图片尺寸1224x1248
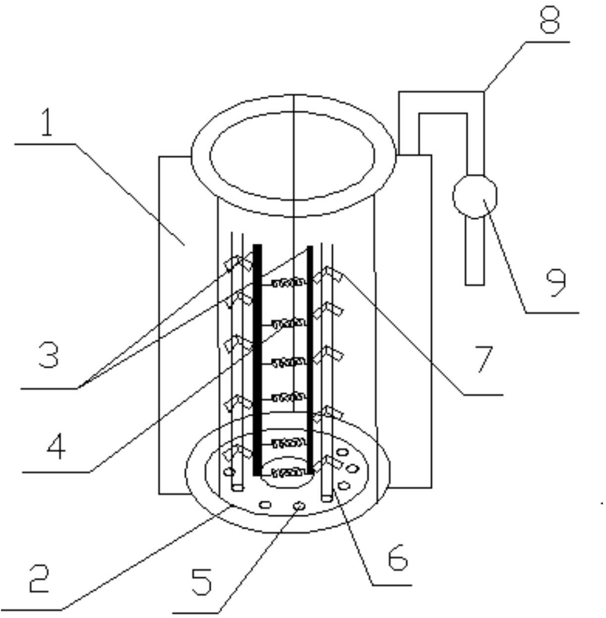
一种cvd镀膜设备真空抽气装置及方法与流程
图片尺寸1935x1785
真空离子镀膜概述
图片尺寸511x412
光学镀膜机工作原理揭秘,如何让设备高效运行
图片尺寸960x1280
一种镀膜机的电镀方法与流程
图片尺寸1807x1310
镀膜 vs. 光膜:谁才是光学界的"隐形斗篷"?
图片尺寸640x725
真空蒸发镀膜技术:从基础到高级应用
图片尺寸432x205
【深涂学会 科普知识】真空镀膜技术介绍
图片尺寸812x413