镗孔夹具设计

a1镗孔夹具装配图pdf
图片尺寸800x566
镗孔夹具装配图.pdf
图片尺寸800x566
镗孔夹具装配图pdf
图片尺寸800x566
镗孔夹具装配图a0pdf
图片尺寸800x568
镗孔夹具装配图pdf
图片尺寸920x650
a0镗孔夹具装配图pdf
图片尺寸800x568
镗床夹具装配图pdf
图片尺寸800x566
镗90孔夹具装配图a0pdf
图片尺寸800x566
简单泵体镗孔夹具
图片尺寸820x459
车床小刀架机械加工工艺及镗孔的夹具设计2d图机械cad素材
图片尺寸1435x765
镗孔90夹具装配图pdf
图片尺寸800x568
箱体镗孔Φ55夹具设计
图片尺寸820x587
镗239夹具装配图pdf
图片尺寸800x566
制作镗孔夹具及三维图 - 设计方案图纸 - 沐风网
图片尺寸584x407
本设计来源凸缘叉加工工艺夹具的机械制造课程设计,金刚镗凸缘叉39孔
图片尺寸820x558
减速器箱盖镗孔夹具设计
图片尺寸633x396
yjs3箱座零件的加工工艺设计及数控加工程序【镗孔φxk52数控孔】
图片尺寸1200x800
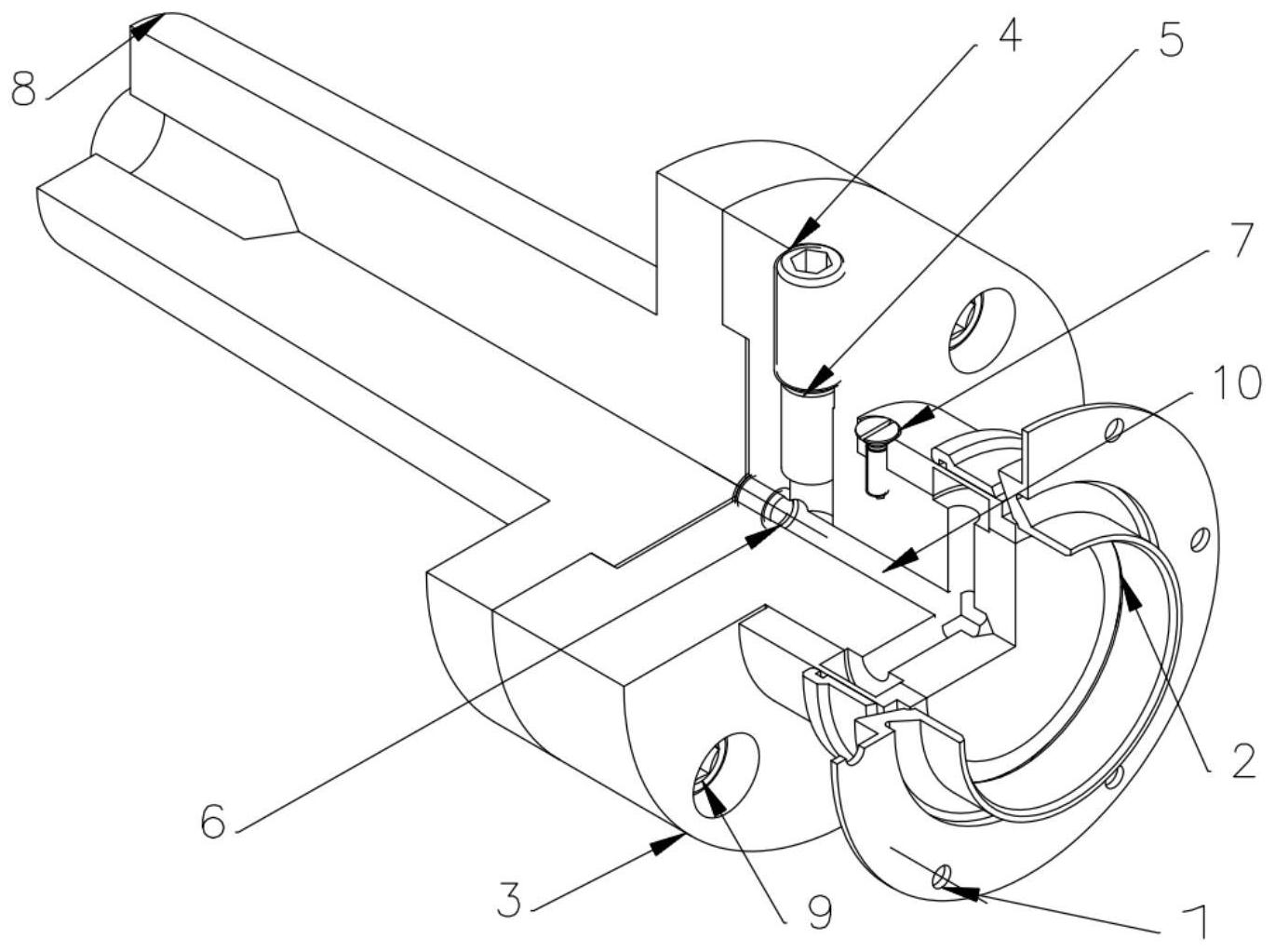
一种涡轮轴承座在车床上的精镗孔夹具
图片尺寸1370x1023
套筒的钻φ10孔夹具设计及加工工艺装备
图片尺寸830x654
锥齿轮座零件钻镗孔夹具设计
图片尺寸614x443