镜子平面图

淮木全身镜实木日式化妆镜北欧壁挂镜子简约橡木穿衣镜muji落地试衣镜
图片尺寸750x758
bohme specchio 镜子
图片尺寸471x492
mood-icaro镜子
图片尺寸791x939
cn305319834s_镜子(ampm)有效
图片尺寸419x413
镜子
图片尺寸955x1000
简易平面镜设计素材(4724x4724)png欧式镜子素材(839x1258)png照镜子
图片尺寸360x360
镜子模板图片平面广告素材免费下载(图片编号:5199198)-六图网
图片尺寸1024x768
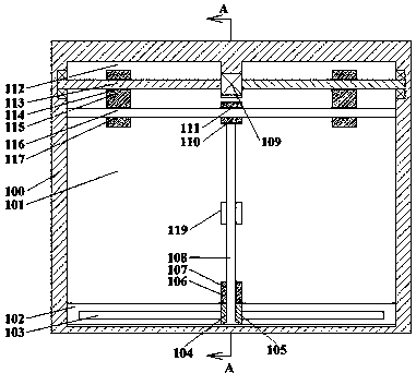
cn108705360a_一种镜子失效
图片尺寸381x342
北欧壁挂式卫生间化妆镜六边形镜子浴室镜洗漱台镜卧室创
图片尺寸790x655
家中客厅有一面镜子2.5长1.
图片尺寸809x501
首页 平面广告 展板/展架 促销展板/展架 >镜子模板图片 千图网提供
图片尺寸1024x768
家里堆满了镜子
图片尺寸1080x1439
活动室镜子安装方案
图片尺寸800x1132
一种可折叠镜子制造技术
图片尺寸865x1000
首页 平面广告 展板/展架 促销展板/展架 >镜子模板图片 千图网提供
图片尺寸780x585
镜子模板图片平面广告素材免费下载(图片编号:5199237)-六图网
图片尺寸1024x768
艺术镜子cad
图片尺寸340x224
既能当镜子又能当电视三星镜面电视新品曝光
图片尺寸550x614
微信扫码查看/分享专利 摘要:一种镜子,其包括一镜框,一平面镜,所述
图片尺寸271x360
某洗手台镜子cad构造平面设计
图片尺寸610x861