闪蒸槽

调节槽闪蒸槽/云南化机压力容器装备有限公司
图片尺寸790x790
调节槽闪蒸槽/云南化机压力容器装备有限公司
图片尺寸790x790
调节槽闪蒸槽/云南化机压力容器装备有限公司
图片尺寸790x790
汉中闪蒸槽底板
图片尺寸500x407
闪蒸罐是什么?高温冷凝水热能回收再利用
图片尺寸1706x1280
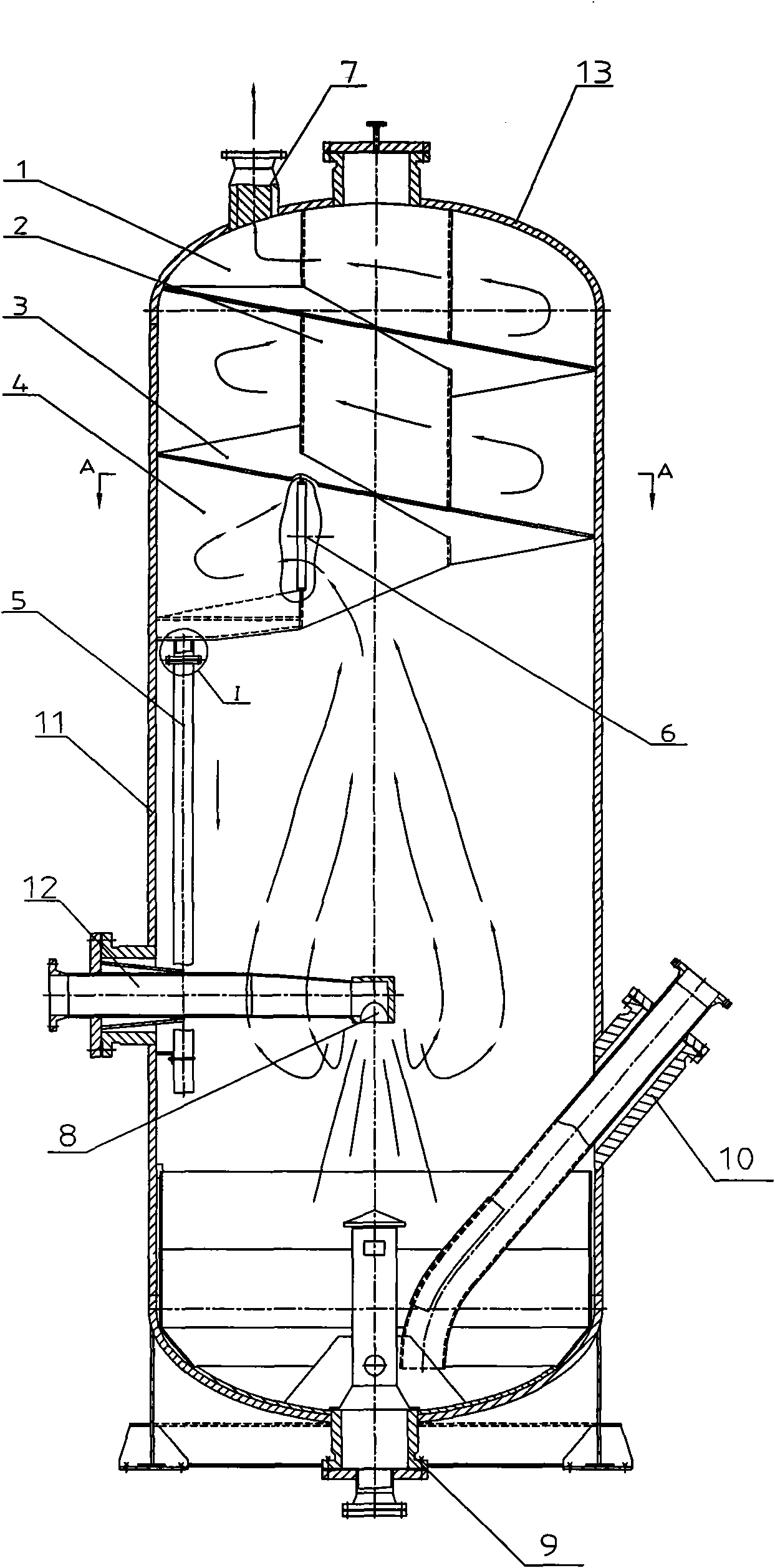
闪蒸槽汽液分离装置
图片尺寸1243x2515
氧化铝溶出闪蒸槽
图片尺寸918x1000
闪蒸槽
图片尺寸190x138
闪蒸槽cad图纸pdf版
图片尺寸820x579
闪蒸槽cad图纸pdf版
图片尺寸384x697
闪蒸干燥机
图片尺寸800x600
氧化铝闪蒸槽改进型弯头孔板座
图片尺寸800x600
碳酸钙干燥设闪蒸干燥机
图片尺寸1440x1080
7m3闪蒸槽总图
图片尺寸774x552
酸性气分液罐 闪蒸槽 加氢燃料罐
图片尺寸1443x470
闪蒸罐
图片尺寸756x624
其中,电厂,闪蒸器,溶输管道,脱硅槽大罐等管道项目
图片尺寸600x640
闪蒸槽和冶炼加压系统的制作方法
图片尺寸346x458
喷雾干燥机闪蒸干燥机双锥干燥机长期出售
图片尺寸1702x1276
xsg-10-氧化铁旋转闪蒸干燥机
图片尺寸758x548