闸机内部结构图

二栏栅栏闸机结构图
图片尺寸700x448
广告道闸使用大全说明_手机搜狐网
图片尺寸1417x867
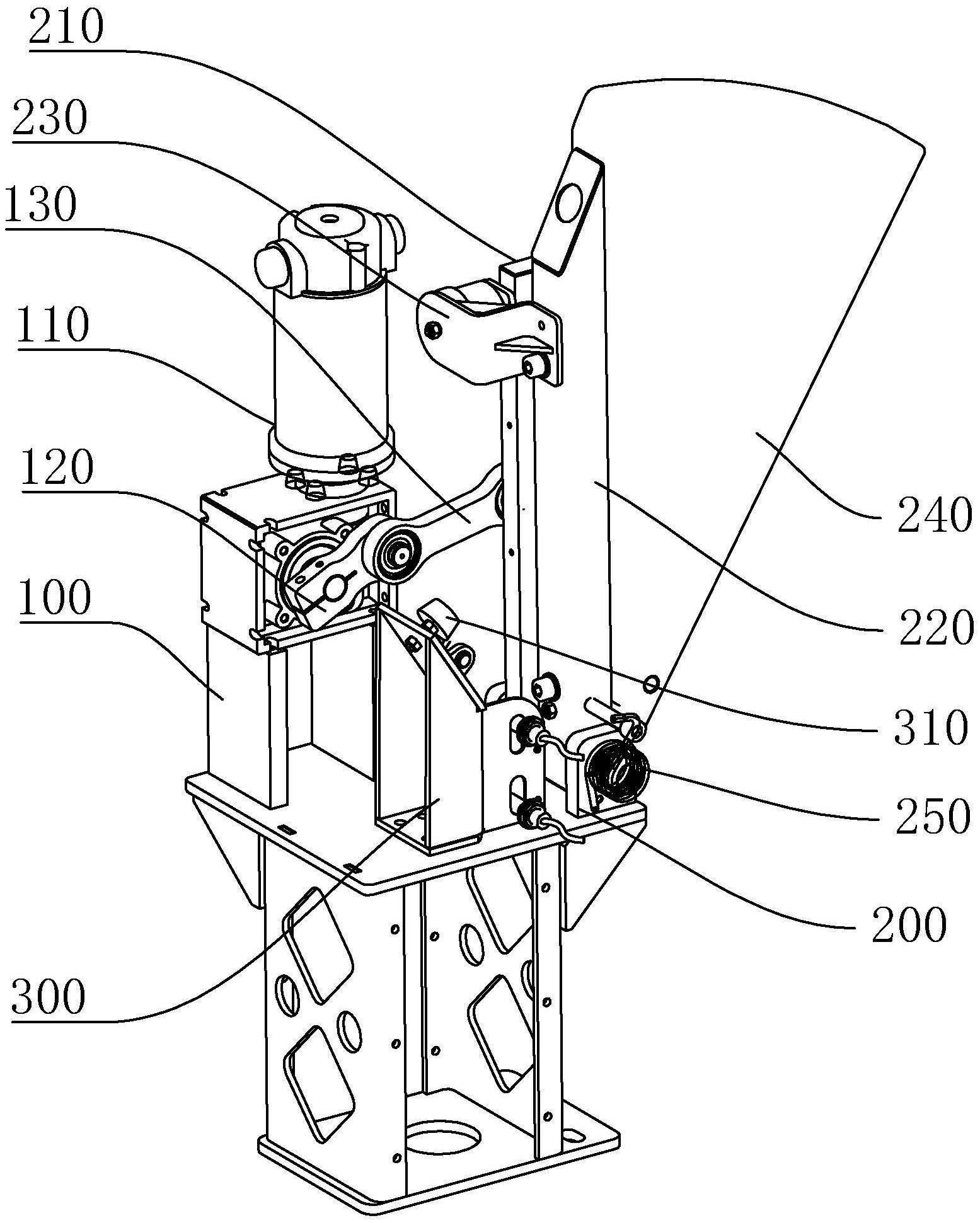
领域,提供一种道闸机构,包括机架,还包括分别设于机架上的控制结构
图片尺寸1903x2638
2.2 内部结构
图片尺寸752x497
cn210031604u_闸机结构有效
图片尺寸801x1000
huacai 高清车牌识别道闸机 广告机一体机 车牌识别
图片尺寸800x1282
门禁通道闸机管理系统 简易摆闸机门禁通道管理 摆闸
图片尺寸1341x1920
高铁自动检票机_自助核验闸机_智轨自动检票机_自助
图片尺寸521x386
一种采用摆闸结构的闸机
图片尺寸1766x1775
机芯内部结构(内部结构总图例,)1.
图片尺寸455x437
afc实训系统_旅游景区检票闸机_伸缩门式检票闸机
图片尺寸750x530
指纹人脸识别复合安检闸机专利_专利申请于2016-07-1
图片尺寸1423x1277
cn211125479u_一种用于高压开关柜中的紧急分闸机构有效
图片尺寸1685x1471
三杆旋转闸
图片尺寸539x431
gate闸机手册
图片尺寸652x604
本实用新型公开了一种翼闸机机芯,包括底座,所述底
图片尺寸1555x1941
核算装置的制造及其应用技术
图片尺寸908x1000
携进 停车场道闸栏杆一体机小区门卫电动升降杆栅栏道
图片尺寸790x509
cn201058970y_一种安全道闸失效
图片尺寸1609x2155
cn306111681s_闸机(m-711l)
图片尺寸1601x1831