阀芯结构

水龙头把手阀芯 陶瓷芯单冷全铜角阀手柄 维修卫浴配件 jf21rat90
图片尺寸1113x1920
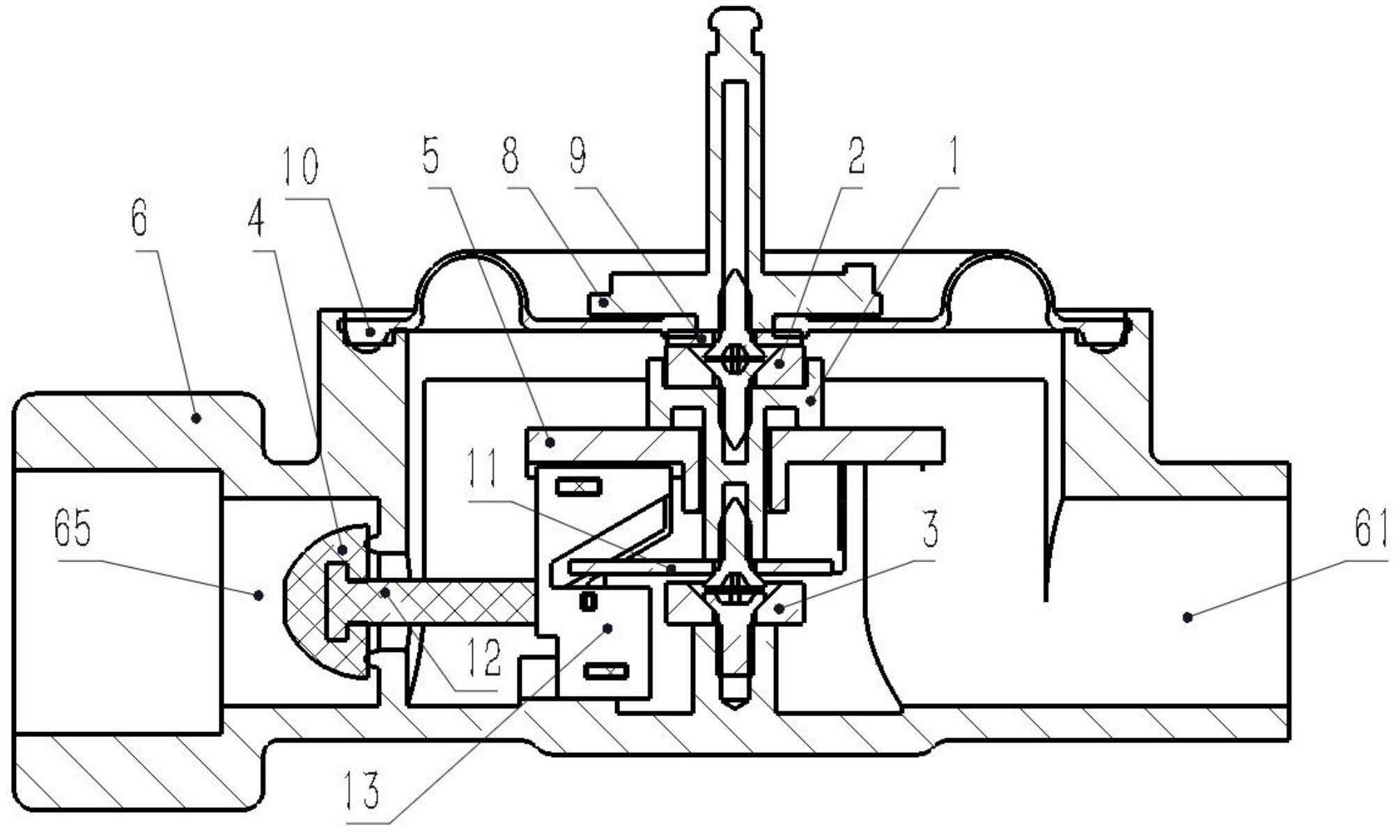
球阀轴测装配图中可以看出,球阀的工作原理是驱动扳手转动阀杆和阀芯
图片尺寸1013x857
管道燃气自闭阀用阀芯结构-爱企查
图片尺寸2004x1193
gc400多段式阀芯型直通调节阀
图片尺寸1359x970
铬钼钢球阀v型球阀的基本结构
图片尺寸585x520
一种恒温混水阀芯的制作方法
图片尺寸563x1000
高压差阀门的双密封联动先导阀芯结构制造技术
图片尺寸698x1000
调节阀门技术领域,特别涉及一种低泄漏先导式单座调节阀的阀芯结构
图片尺寸942x1000
cn201149112y_楼栋调压器气体平衡稳压阀芯失效
图片尺寸1753x1705
一种恒温阀芯
图片尺寸584x1000
一种换向塑料陶瓷阀芯
图片尺寸1140x1130
一种阀芯防冲刷调节阀
图片尺寸1639x1091
cn108980405a_记忆合金恒温阀芯在审
图片尺寸1482x2182
一种两段式截止阀阀芯组件
图片尺寸1555x2495
一种按压开关式恒温阀芯
图片尺寸1478x2356
阀芯采用了压力平衡式阀芯,结构,阀芯为圆柱型,由套筒的内圆导向和顶
图片尺寸490x369
一种高压差平衡式双密封阀芯结构的制作方法
图片尺寸594x564
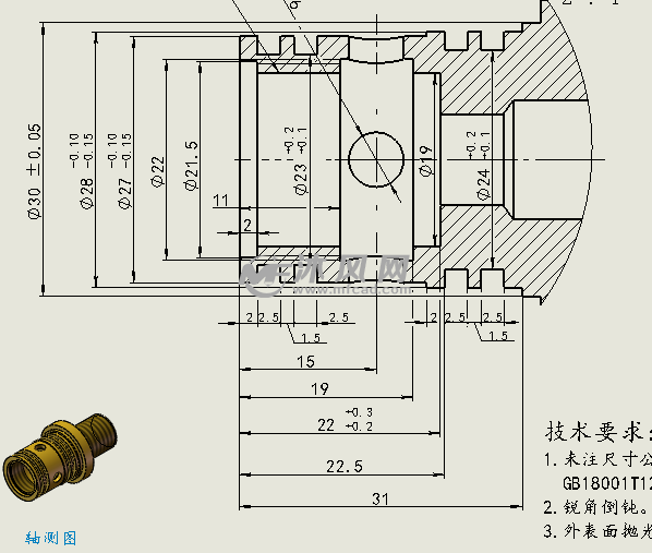
阀芯内芯图纸
图片尺寸598x507
调节阀阀芯选择
图片尺寸565x475
一种新型温控阀阀芯-爱企查
图片尺寸694x800