阀芯 结构图

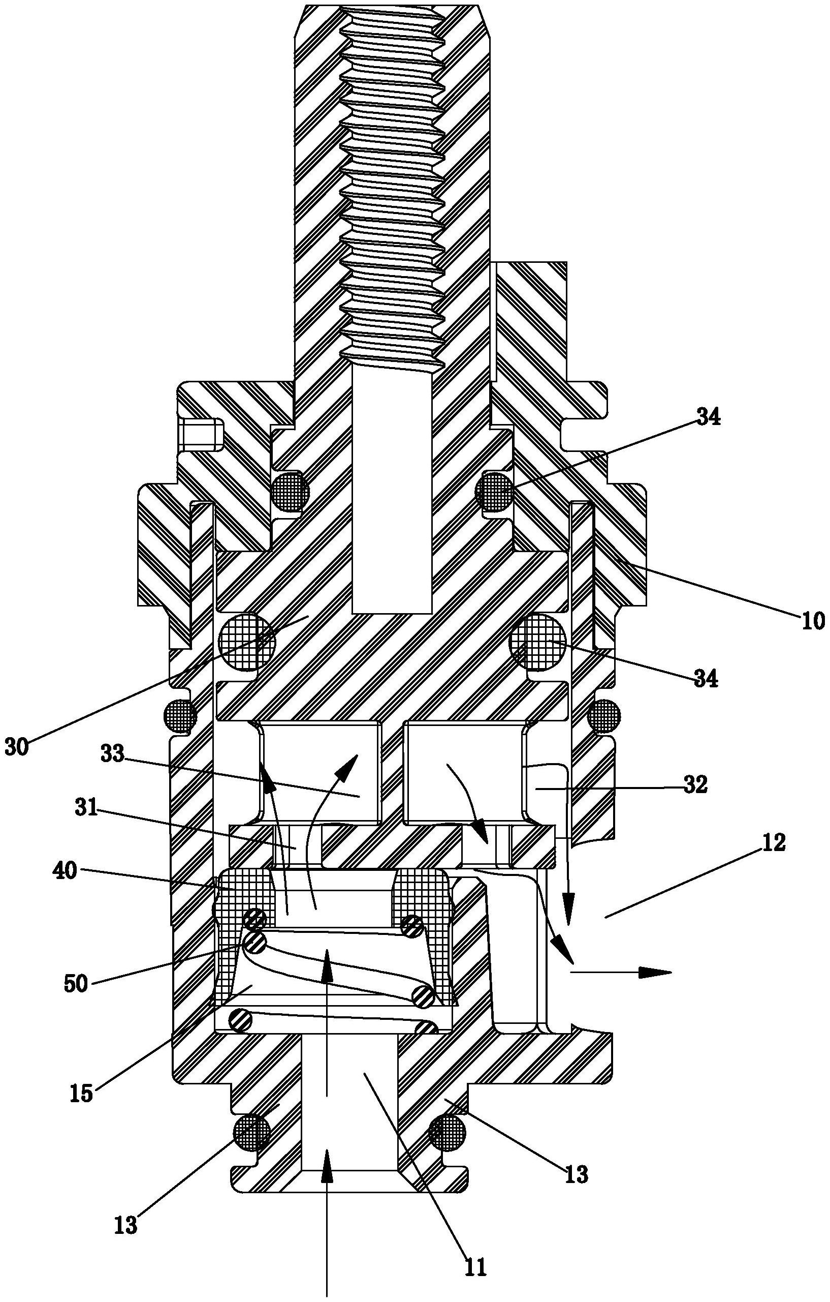
本实用新型公开了一种水龙头阀芯,包括壳体结构,下片,上片,旋转座和
图片尺寸2009x2393
水龙头把手阀芯 陶瓷芯单冷全铜角阀手柄 维修卫浴配件 jf21rat90
图片尺寸1113x1920
球阀结构图
图片尺寸916x1001
cn107588205a_机械按压式开关阀芯在审
图片尺寸817x891
控制阀的流量特性通过不同形状的阀芯实现.4.
图片尺寸428x402
gc400多段式阀芯型直通调节阀
图片尺寸1359x970
一种单水路阀芯结构
图片尺寸1634x2561
cn101169139a_超高温高压三通换向阀阀芯有效
图片尺寸1120x1025
高压差阀门的双密封联动先导阀芯结构制造技术
图片尺寸698x1000
cn206290760u_一种石蜡感温包式恒温阀芯有效
图片尺寸1606x2583
特别涉及一种低泄漏先导式单座调节阀的阀芯结构
图片尺寸942x1000
结构图
图片尺寸841x720
一种恒温混水阀芯的制作方法
图片尺寸563x1000
一种阀芯的制作方法
图片尺寸694x1000
一种阀芯防冲刷调节阀
图片尺寸1639x1091
一种恒温阀芯
图片尺寸584x1000
cn201149112y_楼栋调压器气体平衡稳压阀芯失效
图片尺寸1753x1705
一种抗断结构快开阀芯的制作方法
图片尺寸896x1000
球阀的结构型式与技术要求
图片尺寸700x537
直动式电磁阀的基本原理及结构特点
图片尺寸471x647