阀门执行机构

部分回转dqw户外开关型阀门电动执行机构
图片尺寸2736x2736
贝beier尔贝尔电装多回转防爆型阀门电动执行机构zb45-24
图片尺寸1920x1920
rl25k30hg智能型阀门电动执行器智能数显电动执行机构
图片尺寸1920x1309
贝berre尔电动闸阀多回转智能防爆型阀门电动执行机构zb90
图片尺寸1000x1000
贝berre尔电动闸阀多回转智能防爆型阀门电动执行机构zb90
图片尺寸1000x1000
罗托克 iq70tc 阀门电动执行器 电动执行机构 多回转电动装置
图片尺寸404x404
英国rotork收购泰国ytc工博士阀门仪表服务商
图片尺寸900x675
zb20矿用隔爆型阀门电动装置 矿用防爆电动闸阀执行机构
图片尺寸1244x1244
精小型电装电动执行器执行机构,精小型部分回转电动阀门装置
图片尺寸2137x2137
带气动执行机构的球阀
图片尺寸810x777
wstton阀门执行机构,电动执行机构
图片尺寸500x580
电动阀门和气动发执行机构简介
图片尺寸810x516
阀门执行机构fdqw3001
图片尺寸360x360
产品库 泵/阀/管件/水箱 阀门 执行机构 罗托克多回转电动执行机构
图片尺寸3043x2123
薄膜头气动阀门 费希尔fisher657-50执行器气动调节阀执行机构
图片尺寸555x555
直行程电动执行机构供应-全球阀门网
图片尺寸876x1200
免切换式手动电动蝶阀执行机构
图片尺寸1608x1376
调节电动装置调节型阀门电动执行机构
图片尺寸460x460
wstton阀门执行机构,电动执行机构
图片尺寸500x387
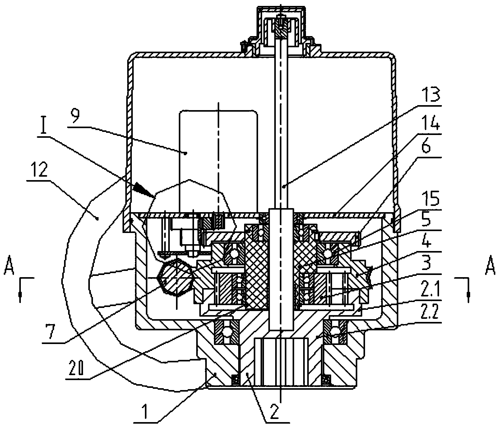
电动阀门执行器机构与阀体安装解析
图片尺寸400x550