阀门注脂图解

球阀注脂嘴泄漏分析及处置方法探讨
图片尺寸338x258
九环机电锥导式高压注脂阀的优势-高压注脂阀生产厂家-重庆九环机电
图片尺寸800x433
注脂阀的工作原理
图片尺寸480x270
浮动球阀阀杆注脂结构的制作方法
图片尺寸488x409
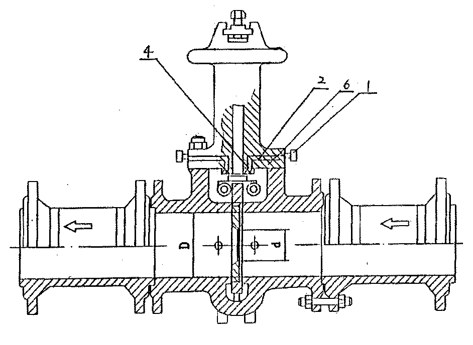
阀杆键螺钉毡圈油杯防转销螺钉挡板填料压盖 螺钉垫圈螺母注脂阀阀盖
图片尺寸893x1263
一种可在线紧急注脂的球阀阀盖结构的制作方法
图片尺寸1000x813
注脂通道 泄漏处 管线阀门定期保养
图片尺寸1080x810
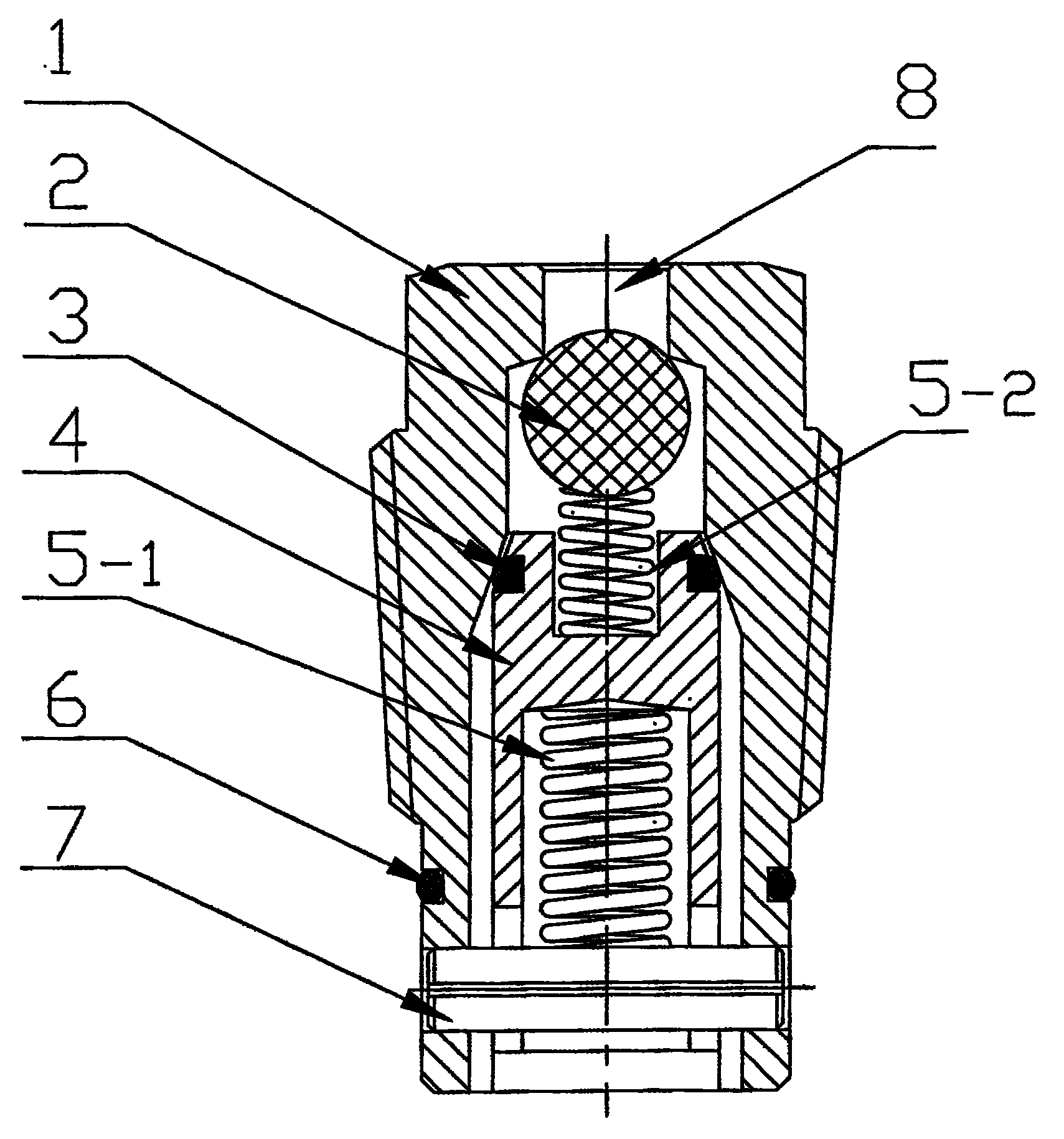
本发明涉及阀门技术领域,具体涉及一种防自锁单向注脂阀.
图片尺寸879x1000
双密封高压注脂阀
图片尺寸1709x1830
将夹持器底部的内六角扳手头与注脂嘴外六方螺杆固定好,打开2英寸阀门
图片尺寸289x258
cgv锥导式高压注脂阀样本高压注脂阀生产厂家重庆九环机电
图片尺寸396x390
适用于阀式孔板节流装置的双杯双通道横向注脂方式
图片尺寸942x688
球阀除了接通或截断介质功能外,还须具有排污,放空,超压泄放,注脂和
图片尺寸662x625
九环机电锥导式高压注脂阀的优势-高压注脂阀生产厂家-重庆九环机电
图片尺寸683x370
球阀注脂嘴泄漏处置方法探讨
图片尺寸295x226
油脂精密定量阀注脂阀黄油加注阀30 150 300cc克高精度可调控制阀
图片尺寸800x800
美国沃泰斯valtex手动阀门注脂枪1400
图片尺寸600x411
天然气行业考试题库(二)(燃气行业从业人员必备知识)_阀门
图片尺寸375x375
三通保温旋塞阀价格
图片尺寸389x305
一种天然气管道阀门用注脂维护装置的制作方法
图片尺寸875x401