阀门铜套结构

一种改进的明杆楔形闸阀铜套专利_专利申请于2017-0
图片尺寸2073x2248
一种阀门铜套拆卸装置的制作方法
图片尺寸375x335
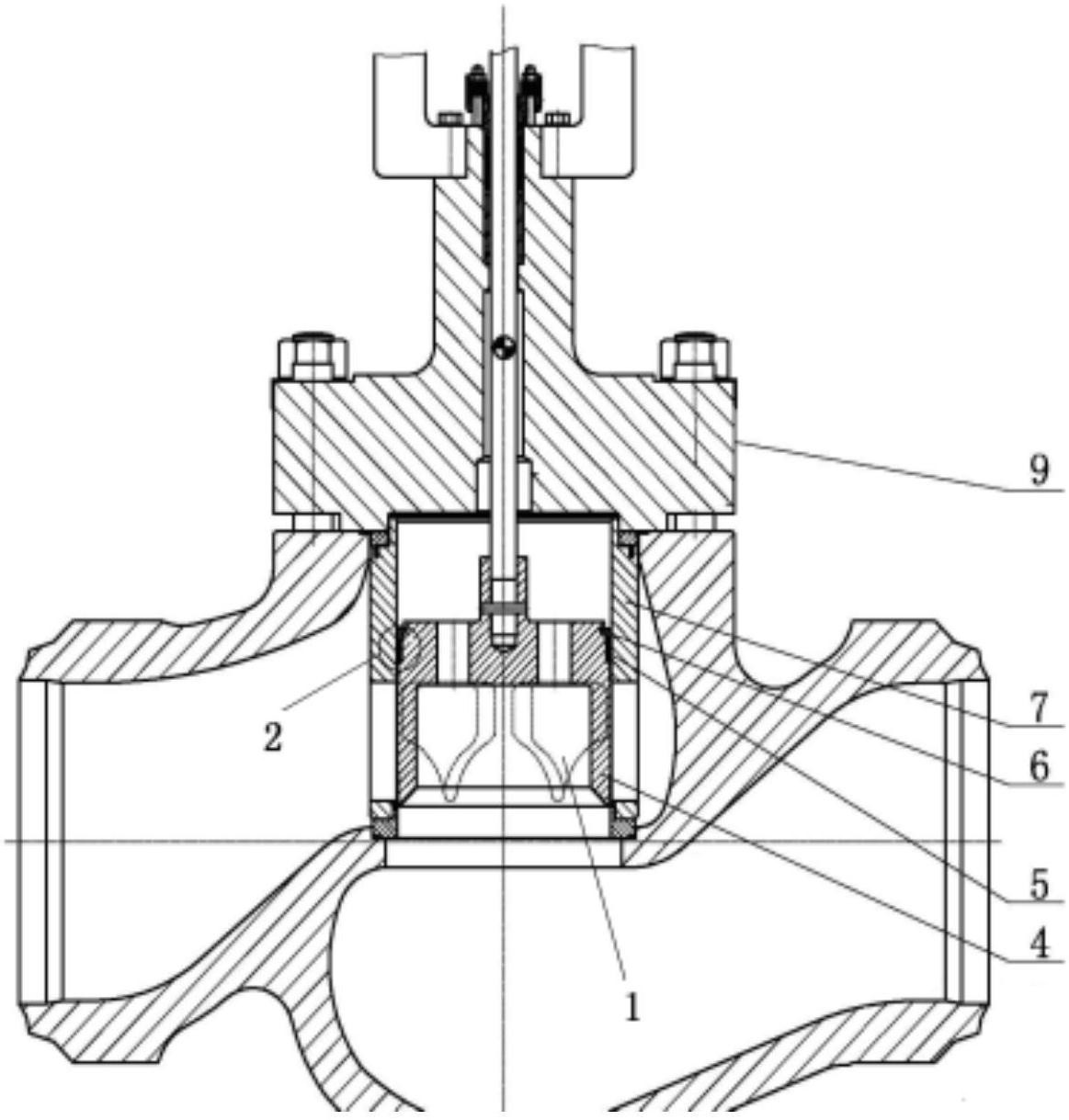
一种改进的明杆楔形闸阀铜套的制作方法
图片尺寸925x1000![[讨论帖]关于阀门的轴套材质 [帖子1324730]](https://i.ecywang.com/upload/1/img1.baidu.com/it/u=216040775,2461284449&fm=253&fmt=auto&app=138&f=JPEG?w=634&h=500)
[讨论帖]关于阀门的轴套材质 [帖子1324730]
图片尺寸2196x1732
属于阀门机械制造领域;提出一种气密性良好,阀门内部结构稳定,易于
图片尺寸398x351
阀门铜套拆卸方法及更换方法与流程
图片尺寸1000x934
黄铜闸阀自来水开关加厚水管水前阀门家用4分6分1寸球阀25 4分 dn15
图片尺寸750x677
铜套闸板阀体阀座阀杆阀盖申明:内容来自用户上传,著
图片尺寸707x1000
阀门执行机构铜套如何拆卸
图片尺寸1080x1440
本实用新型涉及阀门技术领域,公开了电动闸阀加铜套抗拉伤阀杆,包括
图片尺寸394x387
轴承(铜套) p10414-01_阀门栏目_机电之家网
图片尺寸723x592
【沃茨固定式铜球阀】固定式,内螺纹,黄铜球阀,型号
图片尺寸736x482
cn108061171a_套筒调节阀在审
图片尺寸1163x1219
一种改进的明杆楔形闸阀铜套的制作方法
图片尺寸771x1000
流量_阀门_控制
图片尺寸1181x1063
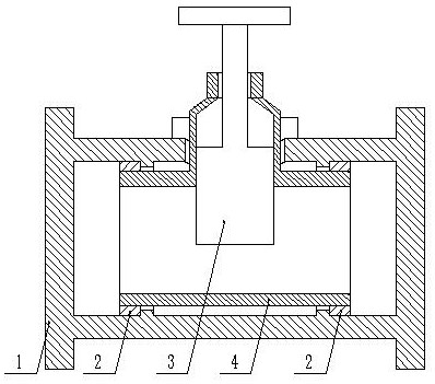
铜套;4-动铁心;5-心杆;6-线圈;7-铁心座; 8-接线座;9-滑道;10-上阀门
图片尺寸405x436
工程元件部件绝热紧固件装置的制造及其应用技术
图片尺寸815x1000
浙江亿帆铜球阀的使用与维修
图片尺寸400x300
连杆和小头铜套工艺及夹具设计【含cad图纸】
图片尺寸1200x800
一种阀套式排污阀
图片尺寸809x1101