防倾倒结构

cn213449562u_一种双钢板剪力墙构件现场安装防倾倒装置有效
图片尺寸1329x1705
一种简易h型钢梁防倾倒装置
图片尺寸1118x735
一种金属柜防倾倒装置的制作方法
图片尺寸1000x894
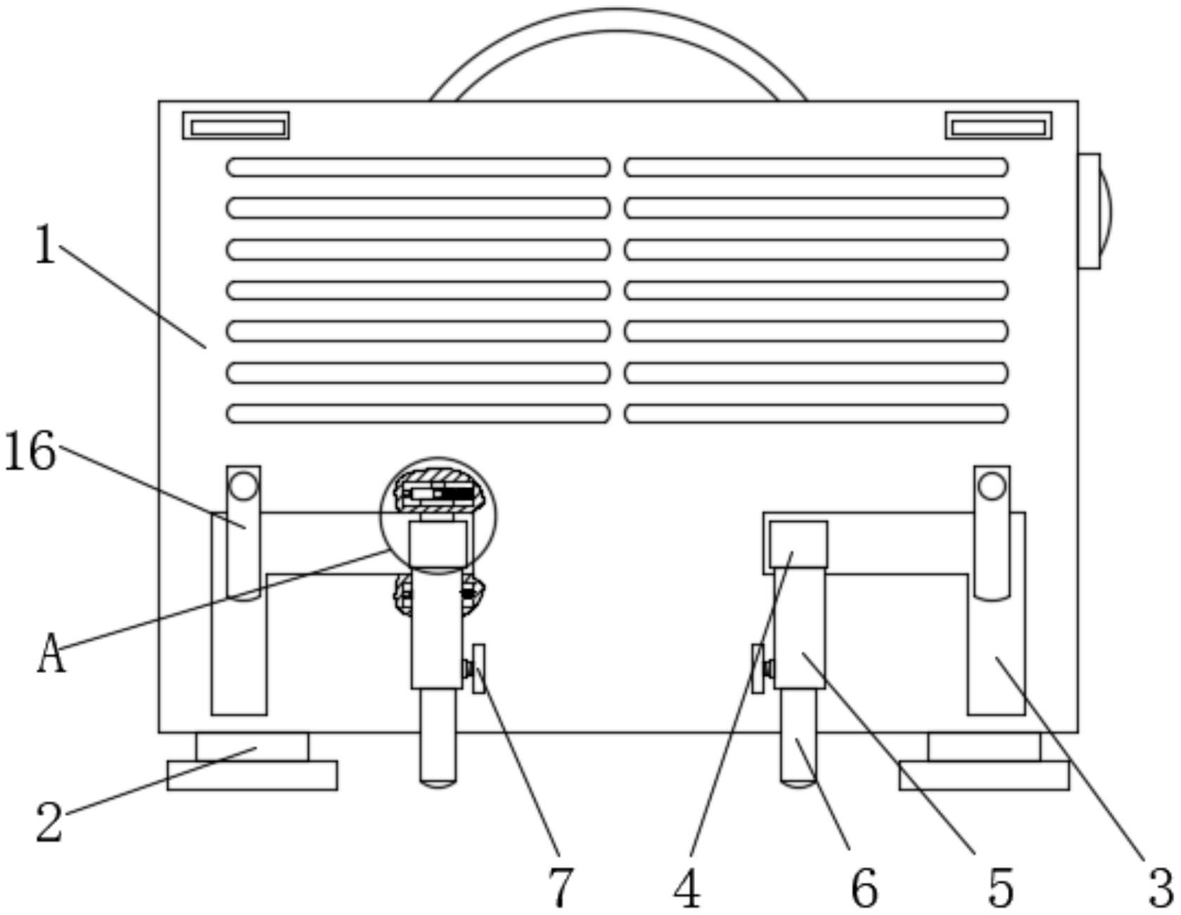
一种变频器模块的防倾倒装置的制作方法
图片尺寸1000x922
cn208292565u_一种剪叉式防倾倒装置有效
图片尺寸1648x1596
一种新型气瓶防倾倒装置的制作方法
图片尺寸547x1000
一种施工用气体瓶简易防倾倒装置的制作方法
图片尺寸1000x961
一种移动式气瓶防倾倒装置的制作方法
图片尺寸489x708
cn209855183u_一种防倾倒的建筑工程用脚手架有效
图片尺寸904x1000
一种移动式气瓶防倾倒装置制造方法及图纸
图片尺寸490x708
一种移动平台防倾倒加固装置
图片尺寸1000x738
一种柜体防倾倒装置的制作方法
图片尺寸598x348
一种防倾倒的脚手架的制作方法
图片尺寸1000x782
一种电暖器防倾倒结构
图片尺寸1679x1301
一种柜体防倾倒装置制造方法及图纸
图片尺寸595x348
一种防倾倒的椅子的制作方法
图片尺寸984x1000
一种无人机降落用防倾倒结构
图片尺寸1000x662
一种防倾倒结构
图片尺寸1720x867
一种气瓶防倾倒工装的制作方法
图片尺寸649x1000
一种具有防撞防倾倒结构的家居用空气净化设备的制作方法
图片尺寸852x1000