防冻水龙头原理

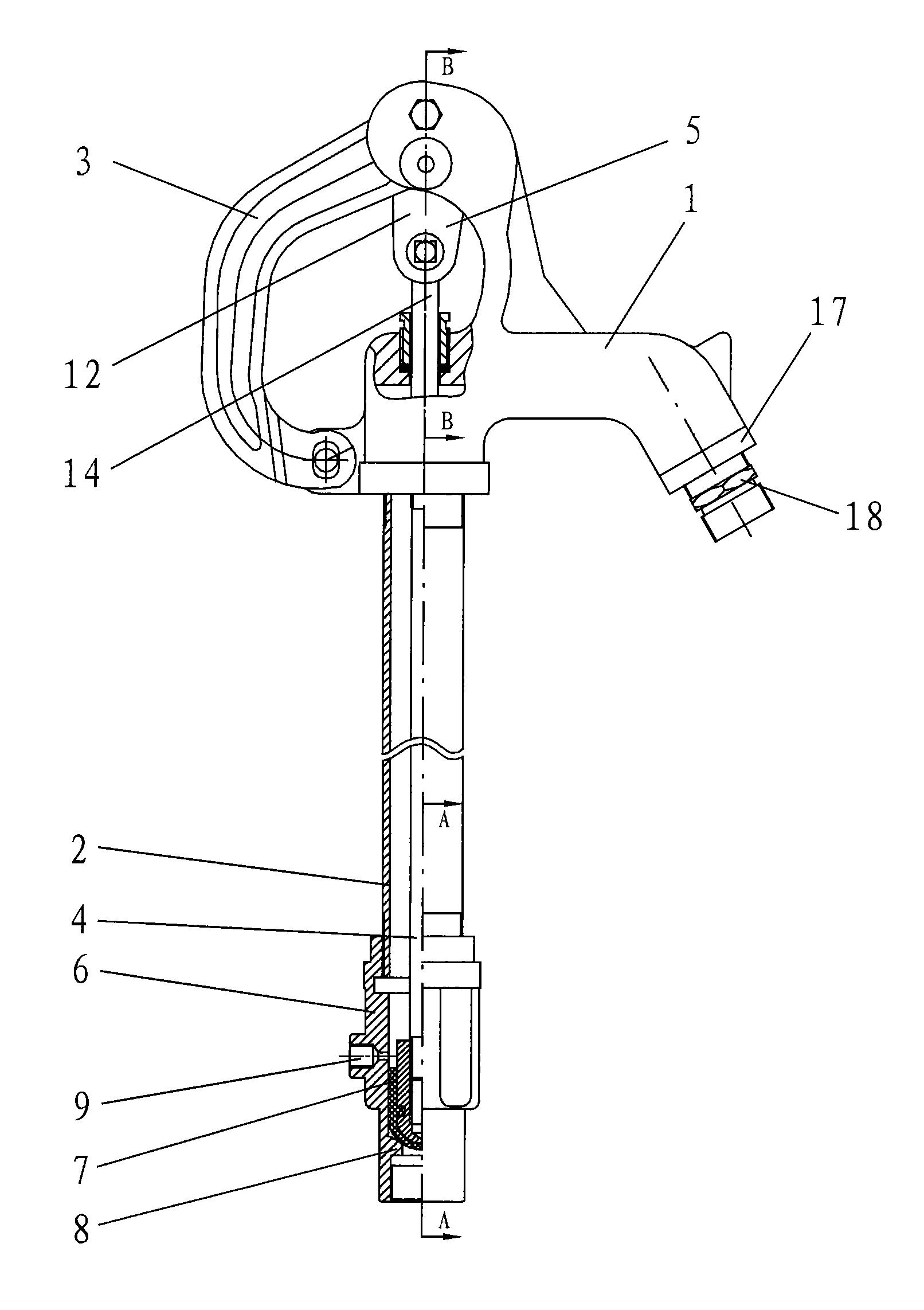
一种防冻水龙头的制作方法
图片尺寸1000x978
防冻水龙头-爱企查
图片尺寸1612x2285
水龙头的故事
图片尺寸908x606
防冻水龙头.doc
图片尺寸993x1404
一种可排残留水的防冻水龙头的制作方法
图片尺寸1000x879
感应水龙头自己出水什么情况?
图片尺寸459x291
金色水龙头单冷感应龙头全铜红外线医用智能全自动感应式洗手器
图片尺寸750x566
pdq铜户外带锁钥匙防盗防冻水龙头4分6分奶嘴洗车洗衣机水嘴加锁 4分
图片尺寸700x700
304不锈钢抽拉式厨房感应水龙头tj-cp01冷热菜盆龙头
图片尺寸750x506
批发 新品 304不锈钢抽拉感应手动水龙头 tj-cp05 冷热型
图片尺寸640x672
生活百科:水龙头结构与工作原理
图片尺寸500x592
水龙头结构图水龙头工作原理简介
图片尺寸662x446
揭秘水龙头材质你以为的黄铜不锈钢其实大有文章
图片尺寸720x600
恒温龙头和恒温混水阀虽然功能和原理是一致的,但由于构造和接口的
图片尺寸450x327
cn2630579y_防冻水龙头失效
图片尺寸383x709
万字说全屋净水前置中央末端厨下管线机台嵌净饮机全覆盖
图片尺寸800x800
一种智能调温双阀一体水龙头
图片尺寸1756x2004
水龙头结构原理介绍
图片尺寸560x507
水龙头是怎么样控制水的结构与原理是什么
图片尺寸500x592
了解水龙头结构图与原理 排除水龙头故障
图片尺寸450x287