防坠器 结构

半空中突然坠落吓个半死看防坠器是如何救命的
图片尺寸650x328
安全防坠器静负荷测试必不可少,消除危险因素防患于未然
图片尺寸883x555
防坠器防坠器结构特点及防坠器结构原理
图片尺寸488x297
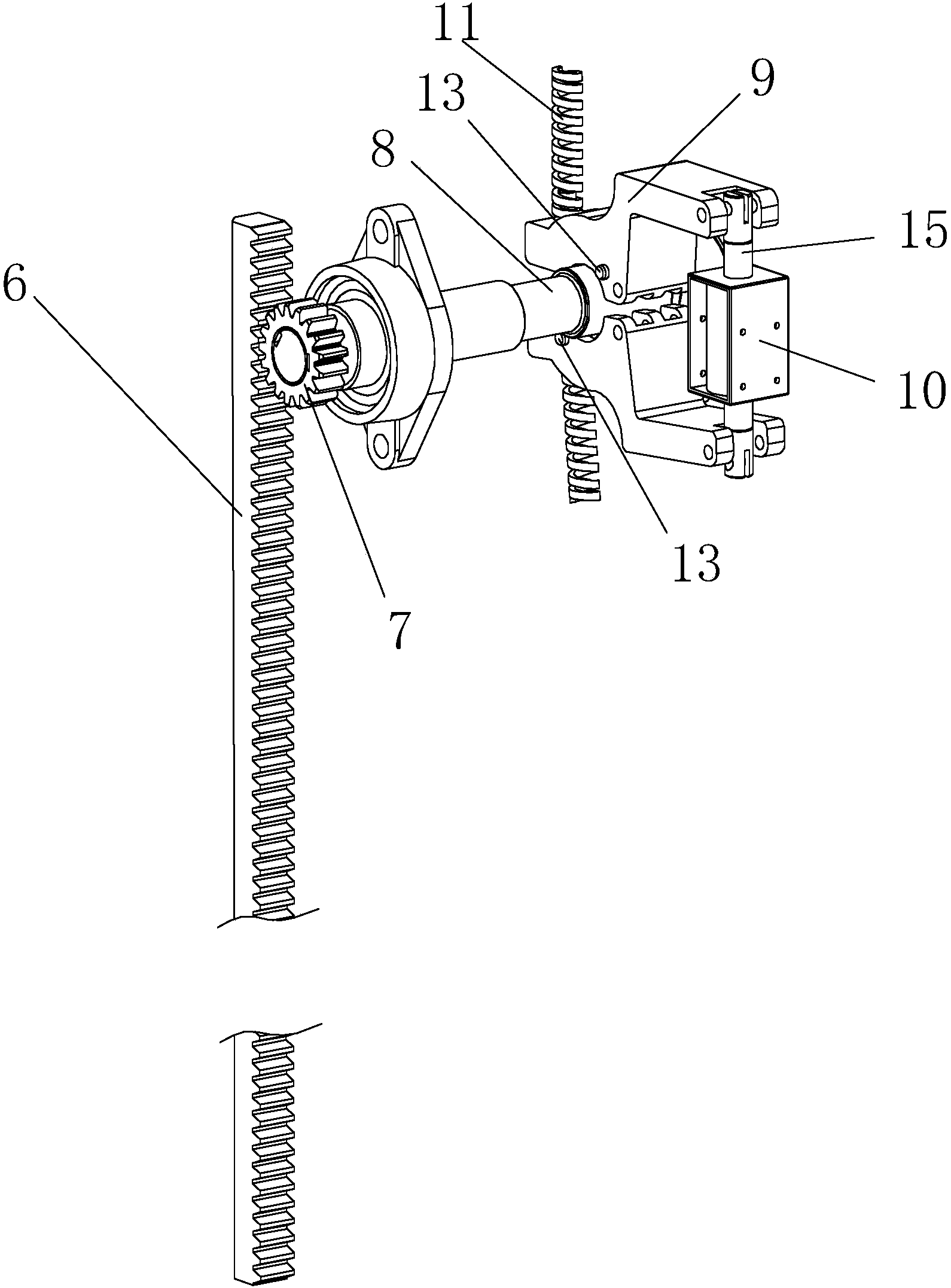
升降防坠落装置
图片尺寸1590x2153
施工升降机saj40防坠安全器
图片尺寸750x750
自动防坠器结构原理安全防坠器资料
图片尺寸500x519
速差自控式人体防坠器
图片尺寸800x995
施工电梯防坠安全器结构
图片尺寸800x307
台湾haru垂直防坠器f-22自锁器 防坠落装置安全带配件 包邮
图片尺寸611x800
钢丝绳 速差式防坠器基本结构示意图
图片尺寸500x463
cn2748567y_悬挂式防坠器失效
图片尺寸800x985
cn2810660y_登高防坠落保护器失效
图片尺寸1183x2107
防坠安全器厂家钢丝绳高空作业防坠器150kg300kg500kg塔吊防坠器
图片尺寸811x800
一种新型离心防坠器的制作方法
图片尺寸639x1000
防坠器说明书
图片尺寸1902x2210
一种具有双锁结构的垂钩式防坠器
图片尺寸1697x1886
一种输电检修用防坠器的制作方法
图片尺寸685x1000
施工升降机防坠安全器
图片尺寸1000x770
导轨外置式防坠器-爱企查
图片尺寸709x665
dt10米速差式高空防坠器自控缓降速差器
图片尺寸700x573