防堵塞装置图

一种家用下水道防堵装置
图片尺寸1597x2264
(2)防堵塞装置
图片尺寸800x298
②防堵塞装置
图片尺寸1080x810
该化学装置防倒吸 防堵塞的原理 说清楚些
图片尺寸445x247
一种给排水用防堵塞装置-爱企查
图片尺寸1652x1878
一种水利工程施工用防堵塞排水装置
图片尺寸1657x2385
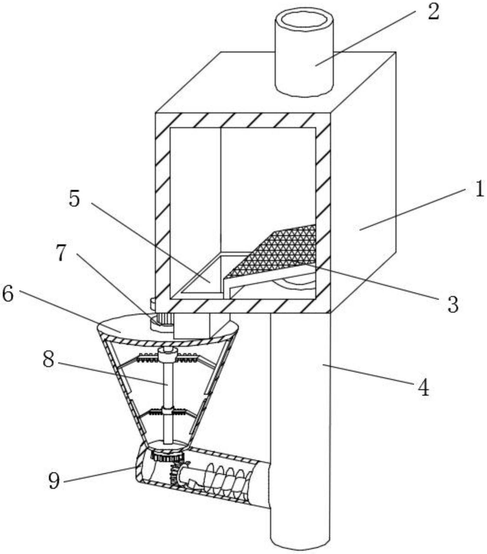
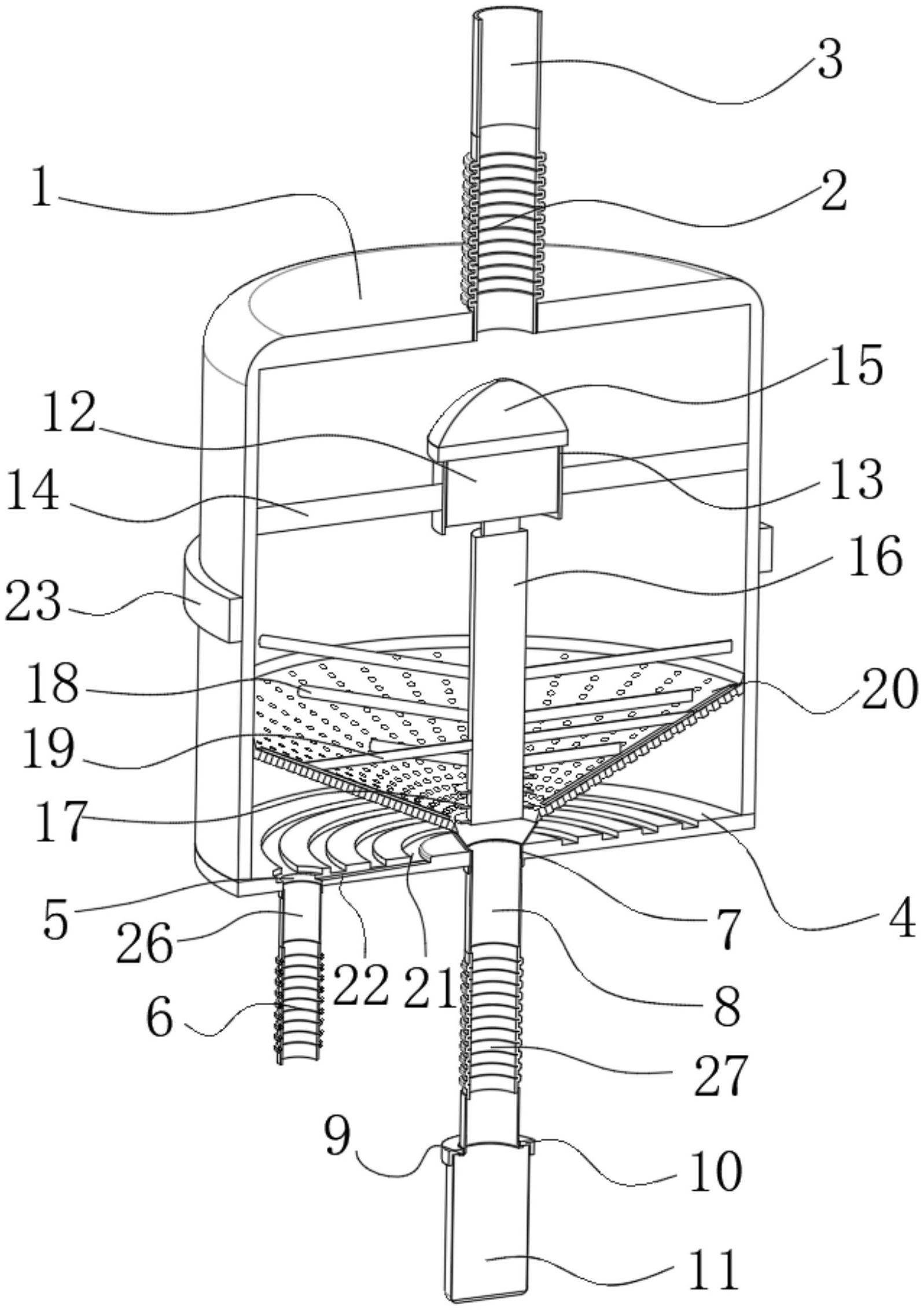
一种结晶釜防堵塞装置
图片尺寸1495x2390
产品展示_落煤管堵煤解决方案——吉林大川防堵机
图片尺寸500x375
一种给排水防堵塞装置的制作方法
图片尺寸946x2048
一种给排水用防堵塞装置的制作方法
图片尺寸996x1000
一种防堵塞引流装置及其使用方法与流程
图片尺寸915x2811
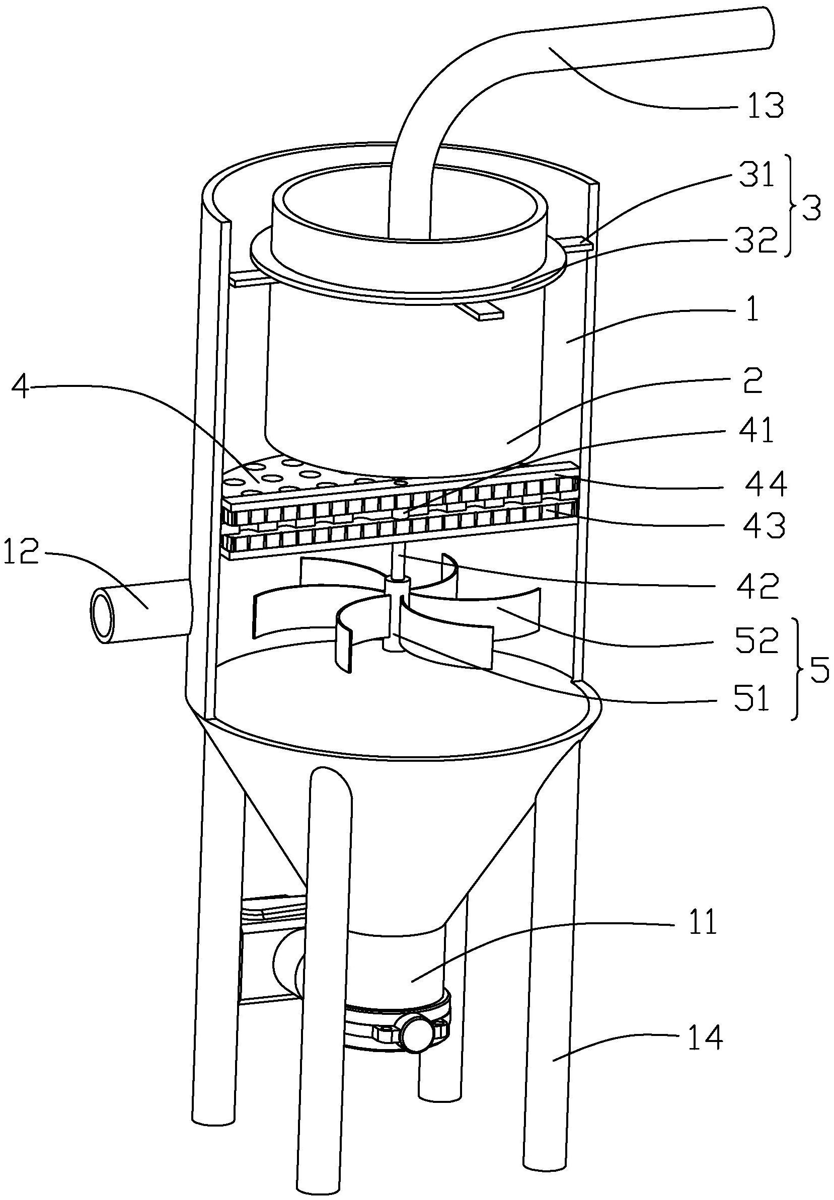
一种用于污水处理的防堵塞装置的制作方法
图片尺寸1000x821
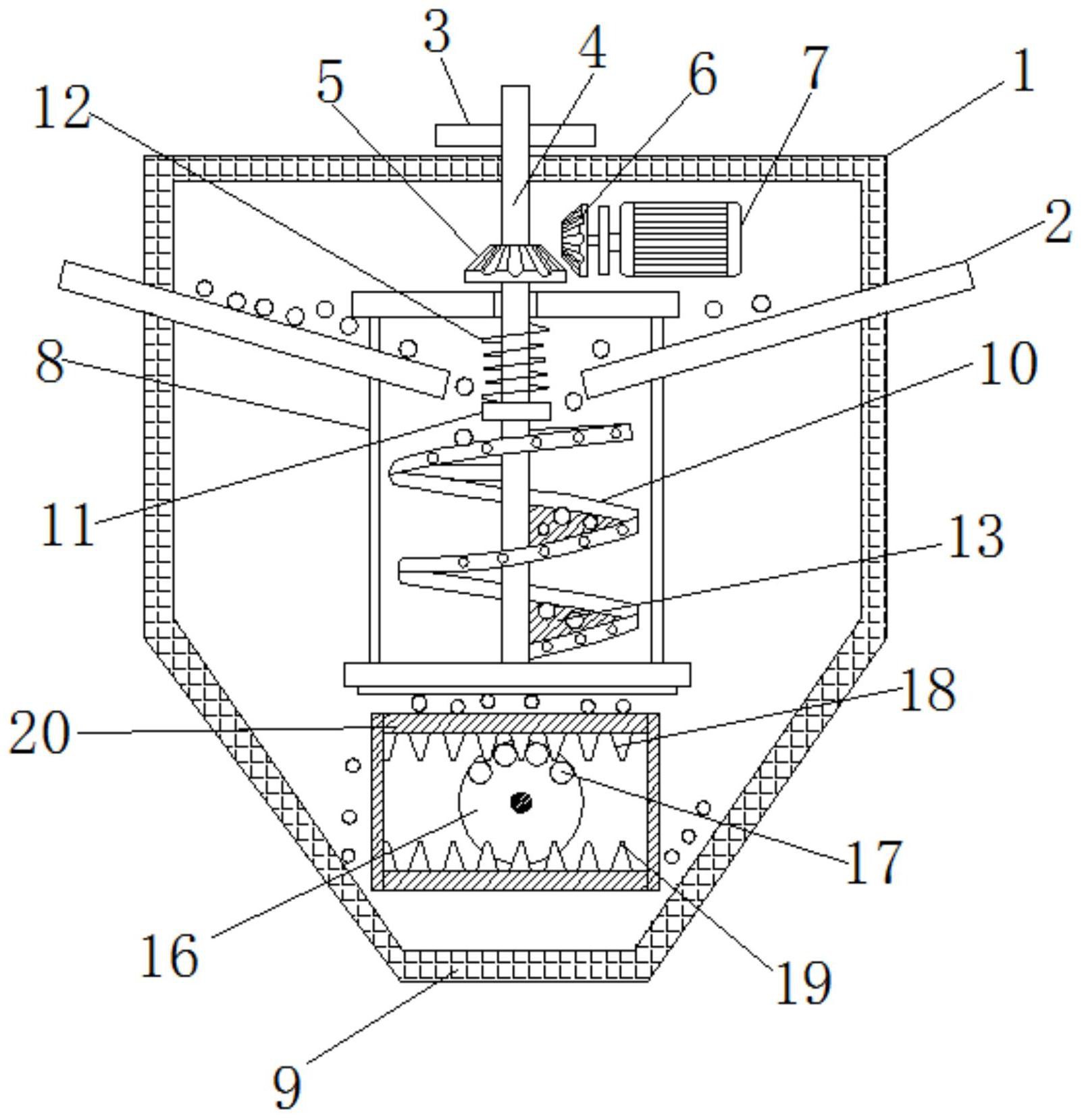
一种用于钢球分选机进口处的防堵塞装置
图片尺寸1602x1659
(8)防堵塞 ①安装观察防堵塞装置
图片尺寸1080x607
【发明专利】一种污水处理防堵塞装置不可交易
图片尺寸1000x853
自动输送料管道防堵装置-爱企查
图片尺寸494x543
一种锂电除尘用的防堵装置的制作方法
图片尺寸1671x1945
那就是风幕脉冲智能防堵装置,解 - 抖音
图片尺寸960x759
一种电厂省煤器防堵装置-爱企查
图片尺寸230x336
一种qs型潜水电泵进水口防堵塞装置
图片尺寸1391x1697