防护罩怎么画图纸

一种水利工程管道防护罩
图片尺寸1591x1670
一种龙门铣床防护罩机构-爱企查
图片尺寸1419x1423
防护罩cad图纸
图片尺寸283x450
加工中心防护罩三维及二维加工图 - 机床附件图纸 - 沐风网
图片尺寸783x544
cn209936688u_一种打磨机砂轮防护罩有效
图片尺寸1000x945
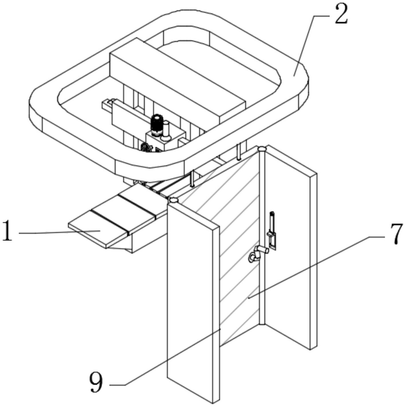
cn201058403y_数控车床防护罩失效
图片尺寸1832x1887
一种数控机床上的伸缩式防护罩-爱企查
图片尺寸800x685
3080振动筛防尘罩设计图纸
图片尺寸670x593
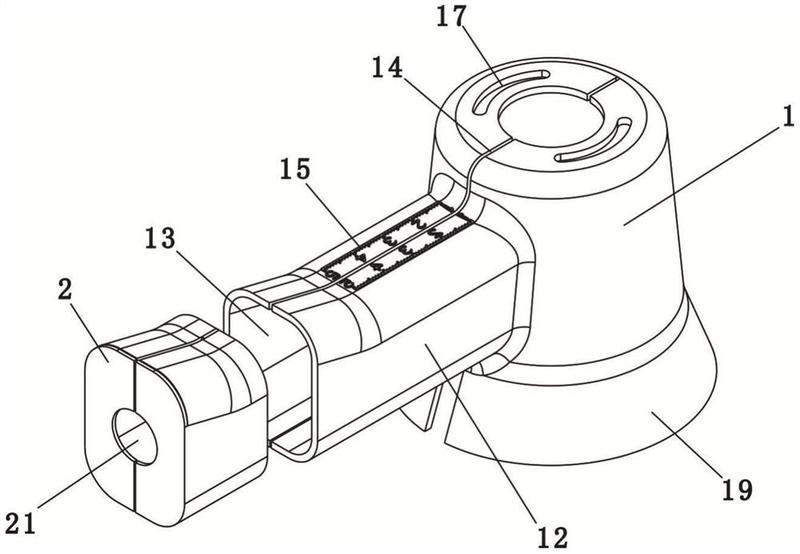
一种防静电防护罩-爱企查
图片尺寸1559x1063
一种防护罩-爱企查
图片尺寸800x554
钢制防护罩
图片尺寸544x671
防护罩
图片尺寸700x490
一套有机玻璃防护罩 - 机床附件图纸 - 沐风网
图片尺寸720x554
机器人防护罩 - 机床附件图纸 - 沐风网
图片尺寸661x661
防护罩
图片尺寸820x1159
一种动力缸防护罩-爱企查
图片尺寸1813x1203
防护罩钣金加工
图片尺寸1072x763
上下分离式制动器防护罩 - 零部件模型图纸 - 沐风网
图片尺寸820x529
圆形防护罩,油缸防护罩,防护罩
图片尺寸568x430
防护罩
图片尺寸545x761