防汛墙

新型插拔式防汛墙首次亮相-搜狐大视野-搜狐新闻
图片尺寸1200x800
上海插拔式防汛墙迎来了首次"大考"_新浪科技_新浪网
图片尺寸700x394
城市内河堤用组合式移动防汛墙_海盐通瑞科工实业有限公司
图片尺寸735x551
桥洞下画连环画,防汛墙能透光……苏州河滨河空间变身城市t台带你穿越
图片尺寸1080x771
黑科技!全国首例!水利施工现场3d打印防汛墙!|3d打印|黑科技|防汛墙_
图片尺寸1080x717
惠氏防洪防风隔音玻璃防洪墙固定式防洪防汛板支持定制|价格|厂家|多
图片尺寸750x750
防洪墙的使用需要及时的检验,确保效果!_山东鼎锋防洪防汛
图片尺寸600x400
德尼尔科 充气防洪墙防汛墙挡水墙河岸防汛防汛 充气防洪墙-10米
图片尺寸800x800
超神景观式防洪墙铝合金防汛挡水设施景观式防汛墙厂家支持定制|价格|
图片尺寸750x750
杨浦:安全度汛!东走马塘南侧防汛墙维修工程正加紧施工中
图片尺寸1080x810
新型插拔式防汛墙首次亮相-搜狐大视野-搜狐新闻
图片尺寸1200x800
防洪墙有什么特点,应如何选择防洪墙_山东鼎锋防洪防汛
图片尺寸600x400
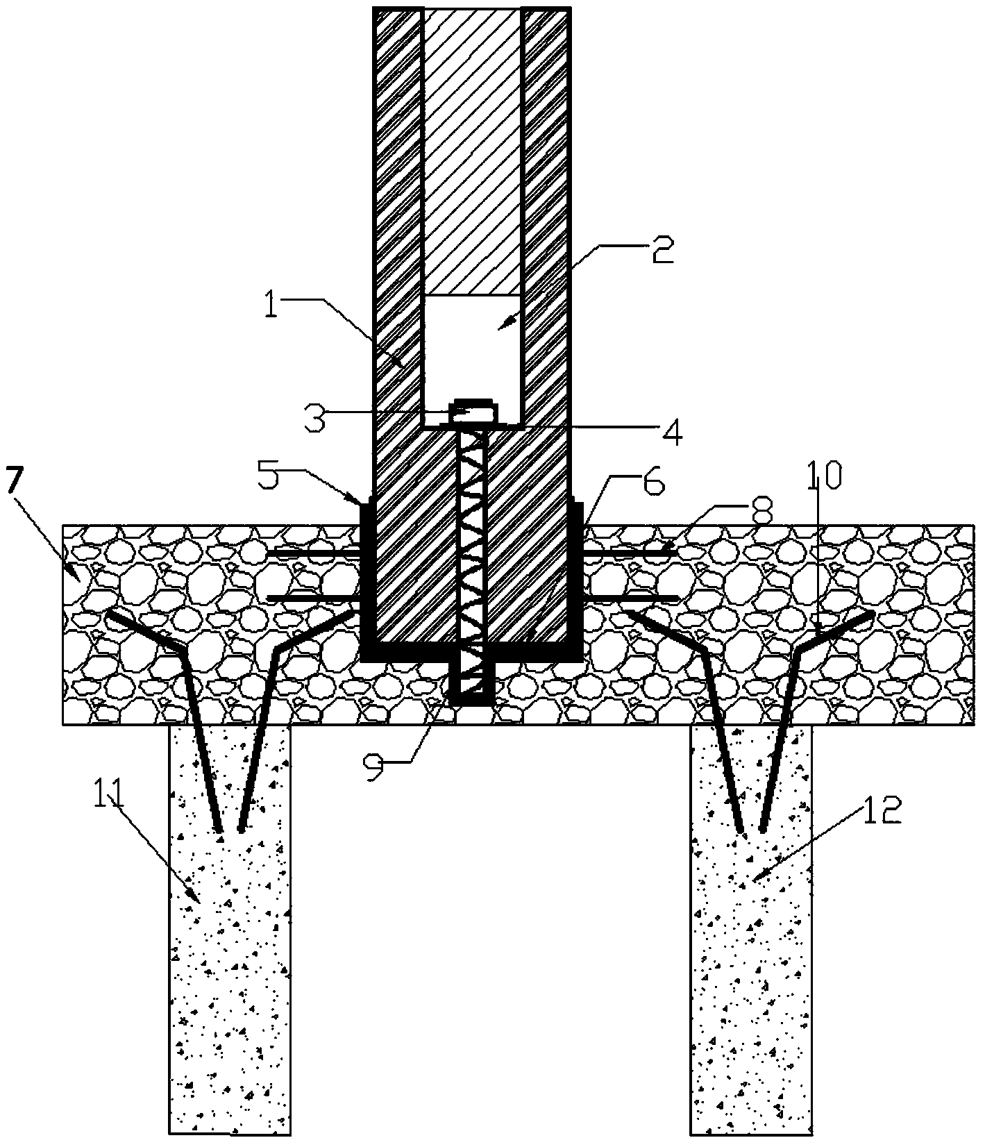
装配式防汛墙专利_专利申请于2019-01-29_专利查询 - 天眼查
图片尺寸1419x1652
插板_插板最新消息,新闻,图片,视频_聚合阅读_新浪网
图片尺寸800x600
度假村湖边堤用组合式移动防洪防汛墙_海盐通瑞科工实业有限公司
图片尺寸735x551
迎战台风!苏州河亲水岸堤首次使用插板式防汛墙,临时筑成5米"高墙"_路
图片尺寸580x385
可移动,可拼拆 合肥南淝河装上这种防洪墙(图)|合肥市|抗洪_新浪新闻
图片尺寸640x480
围海造地-水带-清淤机-污水泵-江苏泰鳌泵业有限公司
图片尺寸366x244
再探吴淞滨江 - 美篇
图片尺寸3100x1744
厂家直销钢化玻璃防洪墙/玻璃防洪挡板/玻璃景观防汛墙|价格|厂家|多
图片尺寸750x750