防火窗结构

一种多功能安全型高层逃生防火窗结构
图片尺寸1579x950
钢质防火窗 断桥铝合金耐火窗 固定防火窗 平开防火窗
图片尺寸550x576
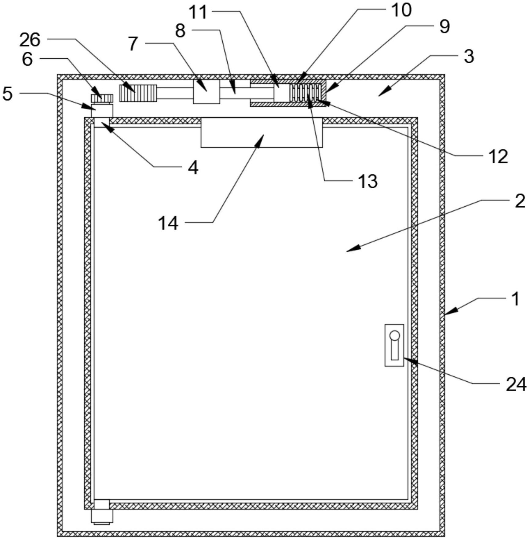
一种可自动关闭的活动防火窗
图片尺寸1735x1767
防火窗结构
图片尺寸640x433
全钢防火隔断9797 防火窗型材60-65-70-100 全 - 抖音
图片尺寸1440x1920
不锈钢质防火窗定做隔热甲级乙级丙级玻璃防火窗资料齐全
图片尺寸750x1092
防火窗结构分解图及防火窗玻璃选择建议
图片尺寸622x800
一种多功能防火窗的制作方法
图片尺寸378x443
外开式防火窗制造技术
图片尺寸1000x905
全钢防火隔断9797 防火窗型材60-65-70-100
图片尺寸1080x2408
一种防火窗的制作方法
图片尺寸997x1000
如何使钢制防火窗的表面质量既美观又耐腐蚀,一直是钢窗行业关注的
图片尺寸600x551
新型防火窗制造技术
图片尺寸892x1000
一种断桥铝材质非隔热型防火窗
图片尺寸1868x1735
一种建筑外墙节能型防火窗
图片尺寸1749x1834
cn209670607u_一种可任意开启角度的防火窗有效
图片尺寸864x1000
一种具有火情检测功能的智能防火窗的制作方法
图片尺寸446x415
一种防火窗的制作方法
图片尺寸989x1000
结构5适用场景一般设置在防火间距不足部位的建筑外墙上的开口或天窗
图片尺寸890x719
防火窗的作用及用于防火墙的防火窗应该达到什么要求?
图片尺寸625x260