防火阀结构图

图1-19 防火阀的构造
图片尺寸962x983
防火阀的安装以及使用特点详细介绍
图片尺寸500x250
防火阀有什么用?工作原理是什么?如何设置才合理?带你全面学习
图片尺寸1074x738
图1-24 远程排烟防火阀
图片尺寸1387x585
防火阀图cad图纸
图片尺寸973x735
干式阀
图片尺寸928x614
图1-23 排烟防火阀
图片尺寸1034x436
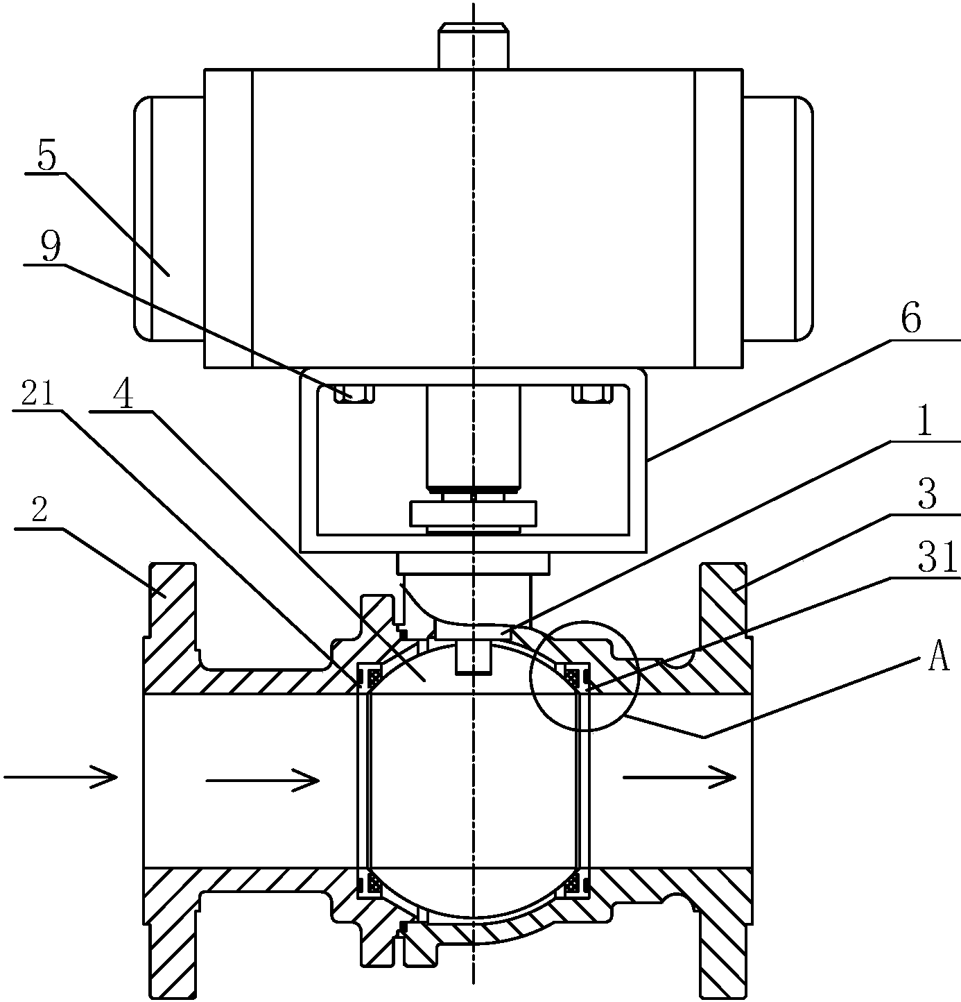
选用更加合理的轴套材料和结构设计,使其具备防火阀功能,经检测气动
图片尺寸672x1044
防火阀 - 热门商品专区
图片尺寸1080x436
i h g f e d c b a 防火阀(排烟防火阀) 基本结构图 a-叶片 b
图片尺寸1080x810
70防火阀
图片尺寸1200x1487
消防闸阀结构图
图片尺寸505x269
cn203230867u_防火球阀失效
图片尺寸1000x817
一种消防灭火器阀门控制结构的制作方法
图片尺寸841x1000
zsfp25 zsfp25消防电磁自动微量排气阀组
图片尺寸790x454
精巧型防火球阀
图片尺寸1729x1995
o型防火球阀
图片尺寸1386x1444
排烟防火阀_天津计程空调设备有限公司
图片尺寸1654x1895
一种防火阀制造技术
图片尺寸957x1000
消防排烟防火阀接线方法详解40990谷风行业
图片尺寸920x1302