防爆桶原理

膨胀罐工作原理
图片尺寸656x639
易车论坛
图片尺寸1600x958
双筒水封式防爆器详情矿用水封式阻火泄爆装置
图片尺寸737x381
5kg防爆罐
图片尺寸1080x791
离菊花被爆不远了
图片尺寸1097x820
日常生活中,我们会利用这种现象来清理鱼缸中的污水,或是做抽水马桶的
图片尺寸700x779
膨胀罐稳压罐隔膜式气压罐膨胀水箱压力罐12l06红色6分接口
图片尺寸990x673
全自动鸡西嚢式消防稳压罐
图片尺寸500x510
chamber filter press pp filter plate
图片尺寸677x440
爆破筒是个什么武器最初只是用来拆铁丝网后来我军玩出花
图片尺寸1080x659
引爆原理 a k1 弹 体 引 信 b.
图片尺寸1080x810
这个液体绝对不可小觑!
图片尺寸1000x636
泡沫喷雾灭火装置 压力式比例混合装置 消防泡沫罐特惠
图片尺寸800x519
自己做了一个水封罐的课件,希望大家给点意见
图片尺寸800x448
丙烯酸泄爆罐尾气吸收装置
图片尺寸870x1000
iso/ce pe stone/mining/jaw crusher for limestone
图片尺寸702x522
全自动消防水炮作用你知道吗?
图片尺寸640x442
隔爆型电气设备防爆原理示意
图片尺寸414x245
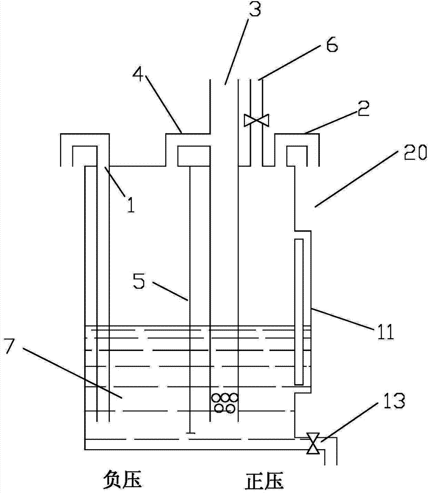
cn204688847u_一种防爆罐及其罐盖有效
图片尺寸1000x990
压力式比例混合装置泡沫灭火装置phym胶囊式泡沫罐
图片尺寸780x450