防爆灯图纸图例

防爆灯在危险化学品仓库的应用与注意事项
图片尺寸2047x1330
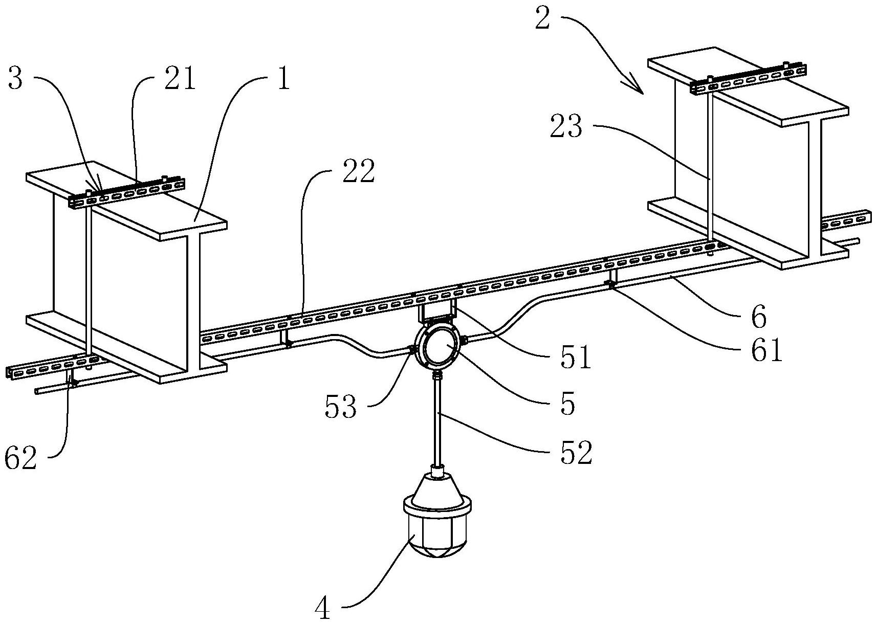
一种钢结构厂房高空防爆灯具安装结构及其安装方法
图片尺寸1714x1220
防爆灯在化工行业怎么用
图片尺寸1037x965
bzd135防爆led照明灯 应急灯带蓄电池 防水护栏灯
图片尺寸750x975
化工厂加油站甲类仓库iic类led免维护防爆圆形灯100w照明吊杆壁装
图片尺寸750x1328
矿用led巷道灯 隔爆型井下照明灯 国标防爆灯
图片尺寸750x865
bldy96led防爆荧光灯
图片尺寸2025x2168
长寿防爆灯
图片尺寸1952x2441
工业照明led防爆灯厂房仓库吸顶壁灯具圆形防爆泛光平台灯投光灯
图片尺寸750x1745
cby 系列隔爆型防爆荧光灯
图片尺寸1915x2128
led防爆灯10w20w固态免维护防水防潮低顶灯壁灯24v36v220v可定制
图片尺寸750x750
bgd防爆高杆灯
图片尺寸750x1034
江苏新黎明bzd285b
图片尺寸1088x757
图片尺寸950x2783
bed86防爆灯,bed86防爆led灯
图片尺寸740x504
bfc8110/hn防爆泛光灯
图片尺寸636x522
防爆固态照明灯,led防爆灯,50w led防爆灯gcd616
图片尺寸900x737
隔爆型防爆灯bad51系列
图片尺寸675x883
120w/150wled防爆路灯 180w/200w防爆路灯 8/12米灯杆led防爆路灯
图片尺寸750x2493
新黎明led防爆灯btd97
图片尺寸1110x1191