防爆电机结构

yb3低压大功率防爆电机结构图
图片尺寸679x578
直销高效节能yb3-315l1-8 90kw防爆电机质保一年
图片尺寸594x397
防爆电机结构图解及接线实物图
图片尺寸650x453
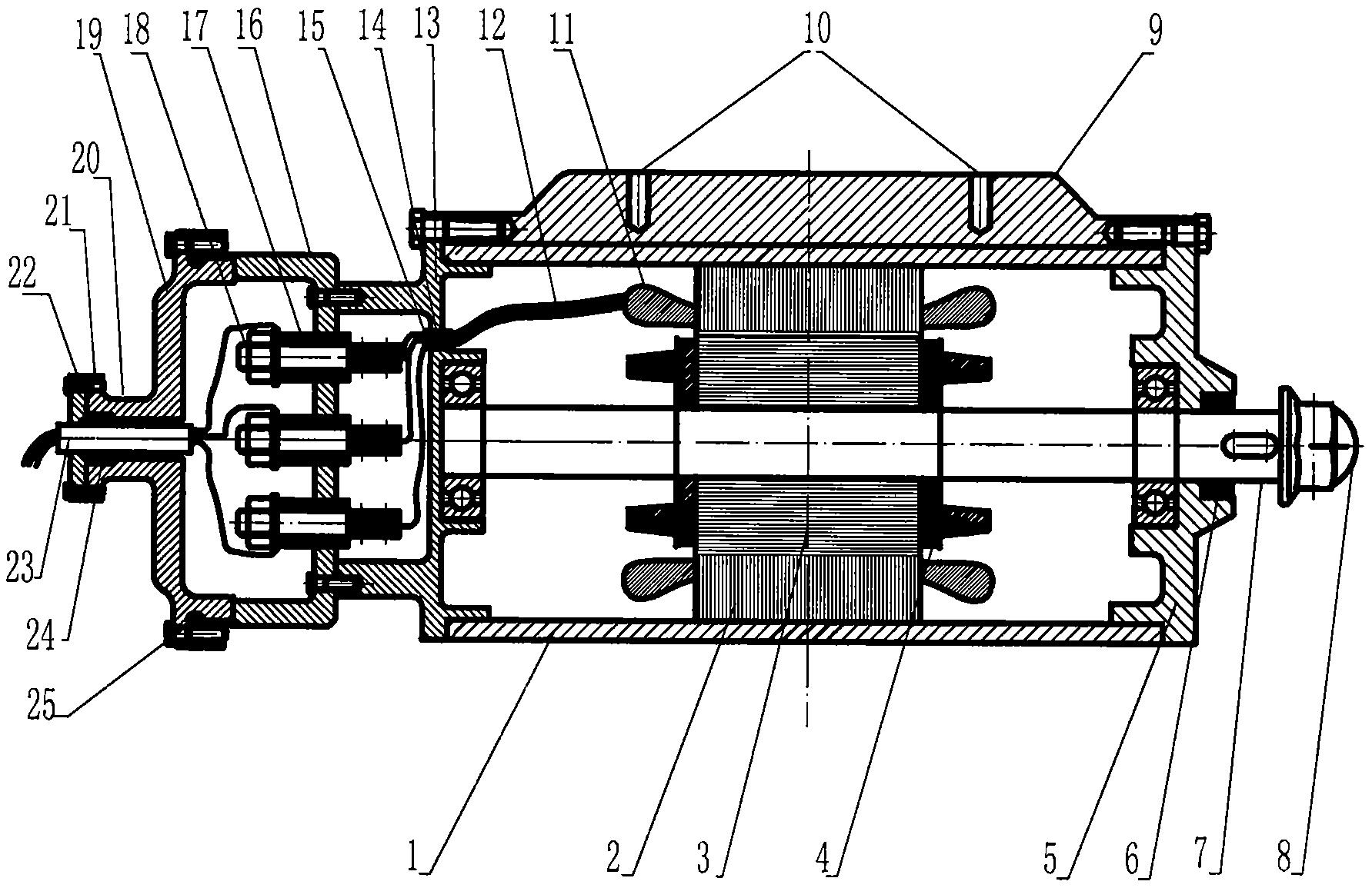
cn212430412u_一种防爆电机的注排油结构有效
图片尺寸1713x1365
穆格防爆伺服电机exd系列
图片尺寸846x557
型号yfb355l12wf1粉尘防爆电机是什么意思
图片尺寸729x304
ybe2-160~280 结构剖面示意图
图片尺寸750x490
yb2-132s-6-3kw,yb2-132m1-6-4kw,防爆电机
图片尺寸600x373
国产防爆伺服电机1242kw
图片尺寸979x448
防爆伺服电机内部结构.jpg
图片尺寸680x380
一种防水,防尘,防烧毁的防爆电机及其方法与流程
图片尺寸1000x758
ybx3防爆电机安装方式和型号参数表(图)
图片尺寸700x392
yb2ej系列电磁制动隔爆型三相异步电动机结构图
图片尺寸348x258
防爆电机结构特点
图片尺寸437x186
b5防爆电机的安装结构
图片尺寸841x347
电机安装调试过程中的问题,电机设计结构造成的滑动轴承漏油,现分别
图片尺寸600x600
浙江电机 y型防爆电机370w大功率三相异步电动机冷风机 无刷电机
图片尺寸730x537
yb3系列隔爆型三相异步电动机接线盒结构
图片尺寸638x438
目前港口码头,矿山输送机使用滚筒电机其结构复杂,为解决上述的缺陷
图片尺寸1703x1037
cn112583186a_防爆轴流风机电机在审
图片尺寸1783x1155