防爆门结构图

b型防爆门_防爆门厂家_防爆门窗_抗爆门窗_泄爆门
图片尺寸600x450
钢质防爆门工业防爆门化学品仓库抗爆门锅炉房抗爆门厂家定制批发
图片尺寸790x1102
cn2636058y_一种自动防爆门安全装置失效
图片尺寸576x709
燃气锅炉结构 燃气锅防爆门结构 燃气锅炉防爆门作用
图片尺寸650x432
一种复合结构抗爆门
图片尺寸822x1000
一种防爆门制造技术
图片尺寸1000x937
图 防爆门结构
图片尺寸1575x1126
一种防爆防盗钢木复合装甲门的制作方法
图片尺寸275x443
防爆门的门体为矩形结构,宽1120 mm,高2120 mm;防爆门的铰链联接板是
图片尺寸640x454
一种钢结构防爆人防门的制作方法
图片尺寸384x443
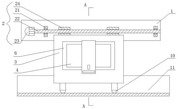
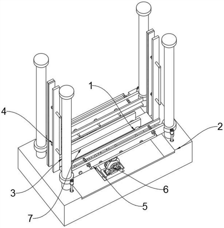
煤矿立风井防爆门自动辅助升降及快速锁紧装置的制作方法
图片尺寸585x695
本实用新型涉及门锁结构,特别是一种电柜防爆门及其电柜.
图片尺寸1000x953
一种钢结构人防防爆门
图片尺寸574x351
一种豪华防火防爆门的制作方法
图片尺寸235x360
cn102287849a_燃油锅炉的防爆门结构有效
图片尺寸2372x1312
防爆门制作完成已发往现场准备安装(1)门框一般采用型钢制作,门扇结构
图片尺寸960x1280
> 抗爆门计算书门扇 2180 1100图一:门简图 2 55 994 图二:门扇结构图
图片尺寸834x1204
避难硐室防爆密闭门bmf1000x1800价格
图片尺寸869x663
宏安防火门有限公司防盗防火门防火防鄙门防火防盗门防火防爆门防火门
图片尺寸1001x975
一种防爆门加工用喷漆装置-爱企查
图片尺寸786x800