防爆阀 原理

单向防爆阀是怎样工作的?
图片尺寸564x333
德国沃德wode进口电动防爆调节阀 调节阀厂家
图片尺寸575x289
二位三通内螺纹连接防爆电磁阀/二位三通电磁阀原理图
图片尺寸600x527
防暴电磁阀和普通电磁阀的工作原理和区别
图片尺寸600x466
爆破阀
图片尺寸611x1259
52a-11-c0a-dm-ddfj-1 mac防爆阀-美国mac电磁阀系列图
图片尺寸477x496
fa49h防爆波阀
图片尺寸300x385
单向隔爆阀粉尘防爆阀木工中央除尘防爆泄爆装置规格齐全支持定制
图片尺寸754x563
防爆波安全阀
图片尺寸300x385
在车辆悬架较少的情况下,结合上述两防爆阀的优,缺点,将两种防爆阀
图片尺寸1374x594
zfq1型防爆阻火呼吸阀上海阀门制造商
图片尺寸545x246
电磁阀工作原理及八款动态示意图
图片尺寸600x466
cn206816951u_一种防爆波阀门有效
图片尺寸985x516
cn201282158y_电池防爆安全阀失效
图片尺寸1704x812
> 正文 顶针式防爆阀的正常工作状态与上述的活塞式防爆阀原理相同
图片尺寸554x333
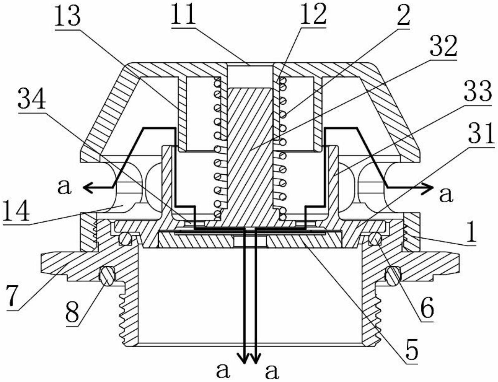
一种增强泄压能力及防堵塞的防爆阀
图片尺寸1707x1310
船用柴油机曲轴箱防爆阀设计有哪些特点?
图片尺寸2192x1280
管道防爆阀除尘器隔爆阀安装方向
图片尺寸723x439
圆形防爆防烟防火阀 防爆排烟防火阀 厂家直销 定制不锈钢防爆阀
图片尺寸869x730
锂电池箱火灾防控防爆阀的制作方法
图片尺寸1000x951