防盗窗设计图纸

一种安全防护报警防盗窗
图片尺寸1782x1767
cn2743509y_推拉式防盗窗失效
图片尺寸1417x1291
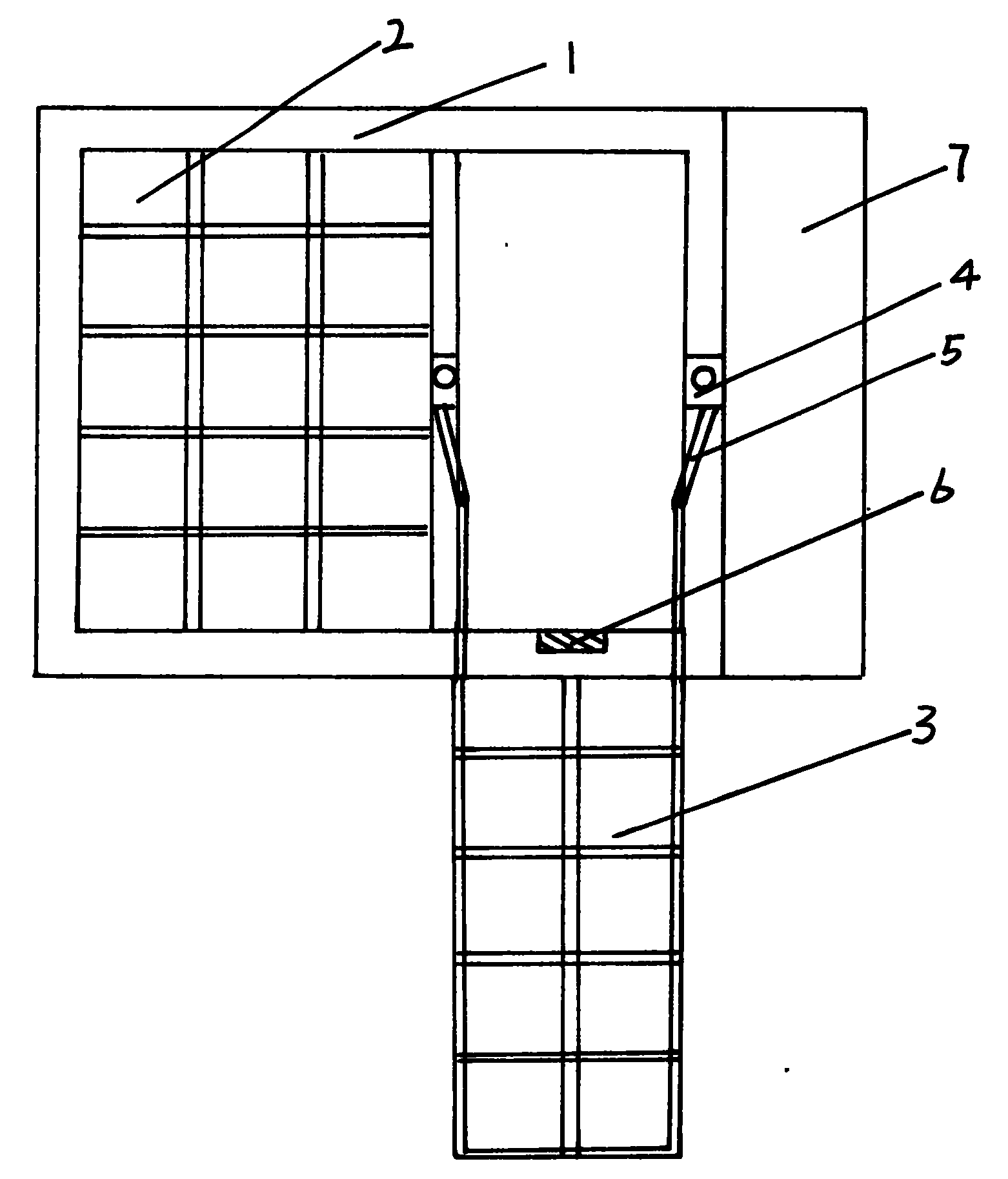
cn101644132a_一种防盗窗失效
图片尺寸1511x1705
一种自动警报建筑不锈钢防盗窗
图片尺寸1842x1561
一种可逃生的防盗窗的制作方法
图片尺寸1000x959
防盗网安装结构-爱企查
图片尺寸1982x2087
防盗铝合金推拉窗-爱企查
图片尺寸1723x1282
cn104329006a_一种升降防盗窗有效
图片尺寸792x1000
cn207194728u_推拉窗带内外开纱窗扇的防盗窗有效
图片尺寸989x1201
一种隔热防火的伸缩型防盗窗的制作方法
图片尺寸876x1000
一种便于钢丝松紧度调节的隐形防盗网
图片尺寸1771x1959
一种基于防盗窗网的火灾逃生装置-爱企查
图片尺寸1674x1154
网购铝合金防盗窗安装方法
图片尺寸900x622
cn2890296y_内置伸缩防盗窗失效
图片尺寸1791x908
防盗窗结构的制作方法
图片尺寸940x1000
cn2804345y_一种逃生梯防盗窗失效
图片尺寸1562x1826
cn2672259y_可开式防盗窗失效
图片尺寸709x629
一种手控式联动防盗窗锁紧机构的制作方法
图片尺寸961x1000
cn2606166y_折叠式防盗窗失效
图片尺寸709x651
一种云梯式避难逃生防盗窗的制作方法
图片尺寸1000x904