防风固沙机械设计

防风固沙草方格自动铺设装置
图片尺寸443x382
防风固沙草方格铺设机的制作方法
图片尺寸503x639
丽水工业设计获奖作品赏析(十)| 多用途防风固沙工程车_方格_沙漠化
图片尺寸1080x768
倾斜式砂带机设计全套图
图片尺寸1200x738
cn213644822u_一种建筑机械筛沙机有效
图片尺寸2256x1712
本发明属于防风固沙机械技术领域,具体涉及一种无人防风固沙插草车.
图片尺寸443x411
小型立式砂带机方案设计图纸合集的封面图
图片尺寸285x397
电动砂带机 - 机械加工图纸 - 沐风网
图片尺寸820x477
泥沙输送机设计
图片尺寸728x613
一种组合型防风固沙装置的制作方法
图片尺寸1000x969
筛沙机套图 - 工程机械/建筑机械图纸 - 沐风网
图片尺寸799x551
一种防堆积的滚筒式筛沙机的制作方法
图片尺寸1000x816
1x3米筛沙机 - 工程机械/建筑机械图纸 - 沐风网
图片尺寸820x495
exb下载(67.61 kb,rar格式) 机械cad图纸
图片尺寸800x600
vsi 600冲击破制砂机 - 工程机械/建筑机械图纸 - 沐风网
图片尺寸785x848
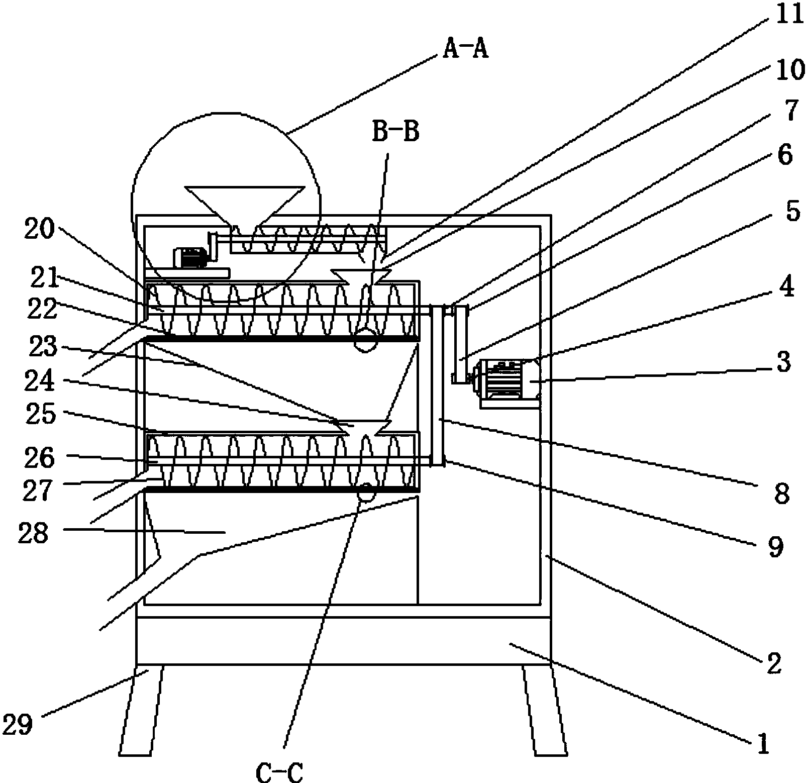
cn208162017u_一种建筑分级筛沙机有效
图片尺寸1606x1558
洗沙机总装图下载_工业/农业机械_机械图纸 - 机械5
图片尺寸291x218
分离筛选设备的制造及其应用技术
图片尺寸1000x812
螺旋洗砂机装配图cad图纸下载(dwg格式)机械cad图纸
图片尺寸1082x765
本发明涉及室内装修机械设备领域,特别的为一种降低湿泥粘度的筛沙机.
图片尺寸1000x996