阳台防水构造

阳台防水施工要点
图片尺寸632x892
阳台防水构造图
图片尺寸560x433
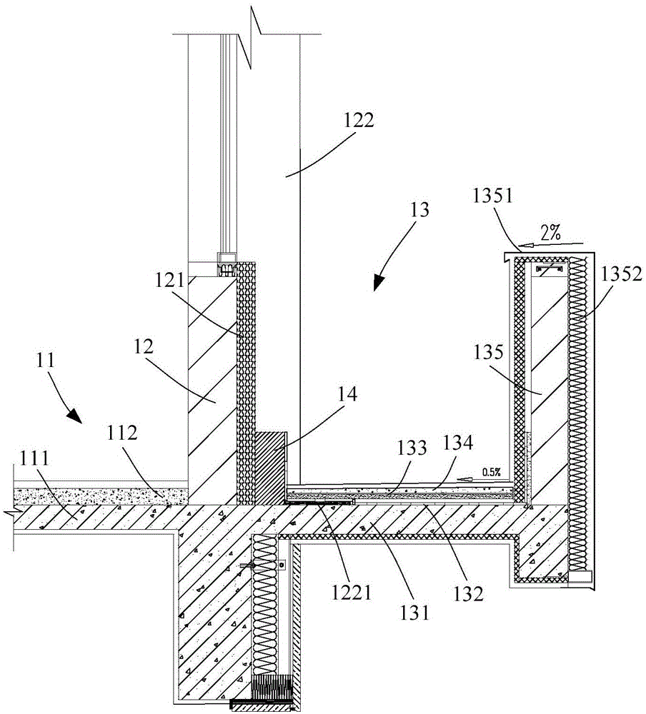
玻璃幕墙构造的阳台防水做法节点
图片尺寸1080x744
玻璃幕墙构造的阳台防水做法节点
图片尺寸489x454
新津联排阳台结构防水施工进行中
图片尺寸1080x1439
阳台防水构造
图片尺寸640x478
轻钢笔记阳台露台防水处理
图片尺寸528x376
玻璃幕墙构造的阳台防水做法
图片尺寸1080x690
外墙防水阳台处节点构造防水设计要点有哪些
图片尺寸513x483
露台防水,保温构造2(dbj15-19-97)
图片尺寸560x430
cn111827493a_一种阳台门下口节点防水构造
图片尺寸1776x1893
阳台防水防护构造制造技术,阳台防水构造专利_技高网
图片尺寸1000x824
阳台花池防水做法
图片尺寸400x297
阳台防水构造2(广东省标dbj15-19-97)
图片尺寸560x408
露台防水,保温构造图
图片尺寸483x371
防水,给排水,门窗五金率先受益|露台|庭院|阳台|空中花园_网易订阅
图片尺寸660x548
露台门槛节点构造简图
图片尺寸760x486
开敞阳台与外墙的防水结构
图片尺寸904x1000
万科20个防水节点图
图片尺寸613x351
阳台防水构造阳台防水构造
图片尺寸610x432